第92页
- 第1页
- 第2页
- 第3页
- 第4页
- 第5页
- 第6页
- 第7页
- 第8页
- 第9页
- 第10页
- 第11页
- 第12页
- 第13页
- 第14页
- 第15页
- 第16页
- 第17页
- 第18页
- 第19页
- 第20页
- 第21页
- 第22页
- 第23页
- 第24页
- 第25页
- 第26页
- 第27页
- 第28页
- 第29页
- 第30页
- 第31页
- 第32页
- 第33页
- 第34页
- 第35页
- 第36页
- 第37页
- 第38页
- 第39页
- 第40页
- 第41页
- 第42页
- 第43页
- 第44页
- 第45页
- 第46页
- 第47页
- 第48页
- 第49页
- 第50页
- 第51页
- 第52页
- 第53页
- 第54页
- 第55页
- 第56页
- 第57页
- 第58页
- 第59页
- 第60页
- 第61页
- 第62页
- 第63页
- 第64页
- 第65页
- 第66页
- 第67页
- 第68页
- 第69页
- 第70页
- 第71页
- 第72页
- 第73页
- 第74页
- 第75页
- 第76页
- 第77页
- 第78页
- 第79页
- 第80页
- 第81页
- 第82页
- 第83页
- 第84页
- 第85页
- 第86页
- 第87页
- 第88页
- 第89页
- 第90页
- 第91页
- 第92页
- 第93页
- 第94页
- 第95页
- 第96页
- 第97页
- 第98页
- 第99页
- 第100页
- 第101页
- 第102页
- 第103页
- 第104页
- 第105页
- 第106页
- 第107页
- 第108页
- 第109页
- 第110页
- 第111页
- 第112页
- 第113页
- 第114页
- 第115页
- 第116页
- 第117页
- 第118页
- 第119页
- 第120页
- 第121页
- 第122页
- 第123页
- 第124页
- 第125页
- 第126页
- 第127页
- 第128页
- 第129页
- 第130页
- 第131页
- 第132页
- 第133页
- 第134页
- 第135页
- 第136页
- 第137页
- 第138页
- 第139页
- 第140页
- 第141页
- 第142页
- 第143页
- 第144页
5. 图①是一个底面为正方形的直棱柱;现将图①切割成图②的几何体,则图②的俯视图是(


C
)。
答案:
C
6. 一个几何体的三视图如图所示,则这个几何体的表面积是( )。

A.$5 cm^{2}$
B.$8 cm^{2}$
C.$9 cm^{2}$
D.$10 cm^{2}$
A.$5 cm^{2}$
B.$8 cm^{2}$
C.$9 cm^{2}$
D.$10 cm^{2}$
答案:
D
7. 如图所示的几何体中,主视图与左视图都是长方形的是______。
答案:
(1)、
(3)、
(4)
(1)、
(3)、
(4)
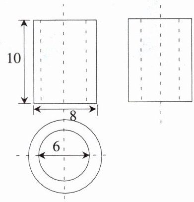
8. 如图是某几何体的三视图,根据图中数据,求得该几何体的体积为______。
答案:
1. 首先分析几何体:
由三视图可知,该几何体是一个空心圆柱。
圆柱体积公式为$V = \pi R^{2}h-\pi r^{2}h=\pi h(R^{2}-r^{2})$(其中$R$为外圆半径,$r$为内圆半径,$h$为圆柱的高)。
2. 然后确定数据:
已知$h = 10$,外圆直径$D = 8$,则外圆半径$R=\frac{D}{2}=4$;内圆直径$d = 6$,则内圆半径$r=\frac{d}{2}=3$。
3. 最后计算体积:
根据公式$V=\pi h(R^{2}-r^{2})$,将$h = 10$,$R = 4$,$r = 3$代入可得:
$V=\pi×10×(4^{2}-3^{2})$。
先计算括号内的值:$4^{2}-3^{2}=(4 + 3)(4 - 3)=7$(利用平方差公式$a^{2}-b^{2}=(a + b)(a - b)$)。
所以$V = 70\pi$。
故该几何体的体积为$70\pi$。
由三视图可知,该几何体是一个空心圆柱。
圆柱体积公式为$V = \pi R^{2}h-\pi r^{2}h=\pi h(R^{2}-r^{2})$(其中$R$为外圆半径,$r$为内圆半径,$h$为圆柱的高)。
2. 然后确定数据:
已知$h = 10$,外圆直径$D = 8$,则外圆半径$R=\frac{D}{2}=4$;内圆直径$d = 6$,则内圆半径$r=\frac{d}{2}=3$。
3. 最后计算体积:
根据公式$V=\pi h(R^{2}-r^{2})$,将$h = 10$,$R = 4$,$r = 3$代入可得:
$V=\pi×10×(4^{2}-3^{2})$。
先计算括号内的值:$4^{2}-3^{2}=(4 + 3)(4 - 3)=7$(利用平方差公式$a^{2}-b^{2}=(a + b)(a - b)$)。
所以$V = 70\pi$。
故该几何体的体积为$70\pi$。
9. 请画出如图所示的几何体的主视图、左视图和俯视图。

答案:
解:如图所示:
解:如图所示:
1. 如图是某几何体从正面、左面、上面看到的形状图。若从正面看到的长方形的宽为$6 cm$,长为$8 cm$,从左面看到的宽为$4.5 cm$,从上面看到的直角三角形的斜边为$7.5 cm$,这个几何体的侧面积是多少?

答案:
解:由题意可得:
它的侧面积为:(4.5+6+7.5)×8=144(cm²)
答:它的侧面积为144 cm².
它的侧面积为:(4.5+6+7.5)×8=144(cm²)
答:它的侧面积为144 cm².
2. 如图 1 是由两个长方体所组成的立体图形,图 2 中的长方体是图 1 中的两个长方体的另一种摆放形式,图①②③是从不同的方向看图 1 所得的平面图形。

(1)填空:图①是从
(2)请根据各图中所给的信息(单位:$cm$),计算出图 1 中上面的小长方体的体积。
(1)填空:图①是从
主
视图得到的平面图形,图②是从俯
视图得到的平面图形,图③是从左
视图得到的平面图形。(2)请根据各图中所给的信息(单位:$cm$),计算出图 1 中上面的小长方体的体积。
(2)解:由图可得$\begin{cases} x=y+2, \\ x+y=12 \end{cases}$解得$\begin{cases} x=7, \\ y=5, \end{cases}$
5×3×2=30(cm³),
图1中上面的小长方体的体积为30 cm³.
5×3×2=30(cm³),
图1中上面的小长方体的体积为30 cm³.
答案:
(1)主;俯;左
(2)解:由图可得$\begin{cases} x=y+2, \\ x+y=12 \end{cases}$解得$\begin{cases} x=7, \\ y=5, \end{cases}$
5×3×2=30(cm³),
图1中上面的小长方体的体积为30 cm³.
(1)主;俯;左
(2)解:由图可得$\begin{cases} x=y+2, \\ x+y=12 \end{cases}$解得$\begin{cases} x=7, \\ y=5, \end{cases}$
5×3×2=30(cm³),
图1中上面的小长方体的体积为30 cm³.
查看更多完整答案,请扫码查看