第68页
- 第1页
- 第2页
- 第3页
- 第4页
- 第5页
- 第6页
- 第7页
- 第8页
- 第9页
- 第10页
- 第11页
- 第12页
- 第13页
- 第14页
- 第15页
- 第16页
- 第17页
- 第18页
- 第19页
- 第20页
- 第21页
- 第22页
- 第23页
- 第24页
- 第25页
- 第26页
- 第27页
- 第28页
- 第29页
- 第30页
- 第31页
- 第32页
- 第33页
- 第34页
- 第35页
- 第36页
- 第37页
- 第38页
- 第39页
- 第40页
- 第41页
- 第42页
- 第43页
- 第44页
- 第45页
- 第46页
- 第47页
- 第48页
- 第49页
- 第50页
- 第51页
- 第52页
- 第53页
- 第54页
- 第55页
- 第56页
- 第57页
- 第58页
- 第59页
- 第60页
- 第61页
- 第62页
- 第63页
- 第64页
- 第65页
- 第66页
- 第67页
- 第68页
- 第69页
- 第70页
- 第71页
- 第72页
- 第73页
- 第74页
- 第75页
- 第76页
- 第77页
- 第78页
- 第79页
- 第80页
- 第81页
- 第82页
- 第83页
- 第84页
- 第85页
- 第86页
- 第87页
- 第88页
- 第89页
- 第90页
- 第91页
- 第92页
- 第93页
- 第94页
- 第95页
- 第96页
- 第97页
- 第98页
- 第99页
- 第100页
- 第101页
- 第102页
- 第103页
- 第104页
- 第105页
- 第106页
- 第107页
- 第108页
- 第109页
- 第110页
- 第111页
- 第112页
- 第113页
- 第114页
- 第115页
- 第116页
- 第117页
- 第118页
- 第119页
- 第120页
- 第121页
- 第122页
- 第123页
- 第124页
- 第125页
- 第126页
- 第127页
- 第128页
- 第129页
- 第130页
- 第131页
- 第132页
- 第133页
- 第134页
- 第135页
- 第136页
- 第137页
- 第138页
- 第139页
- 第140页
- 第141页
- 第142页
- 第143页
- 第144页
- 第145页
- 第146页
- 第147页
- 第148页
- 第149页
- 第150页
- 第151页
- 第152页
- 第153页
- 第154页
- 第155页
- 第156页
- 第157页
- 第158页
- 第159页
- 第160页
- 第161页
- 第162页
- 第163页
- 第164页
- 第165页
- 第166页
- 第167页
- 第168页
- 第169页
- 第170页
- 第171页
- 第172页
- 第173页
- 第174页
- 第175页
- 第176页
- 第177页
- 第178页
- 第179页
- 第180页
- 第181页
- 第182页
- 第183页
- 第184页
- 第185页
- 第186页
- 第187页
- 第188页
| 定义 | 电路图 | 特点 | 应用举例 |
| 把电路元件首尾

| 把电路元件首尾
依次
连接起来的电路叫做串联电路 | | 1. 电流有一
条路径;2. 开关可控制所有用电器;3. 电路某处断路,所有用电器都不能
工作 | 小彩灯
|
答案:
【解析】:
本题考查串联电路的定义、电流路径特点、开关控制作用、断路影响以及应用举例。串联电路是把电路元件逐个首尾顺次连接起来的电路,所以第一空填“依次”;串联电路中电流只有一条路径,故第二空填“一”;由于串联电路只有一条路径,所以电路某处断路时,所有用电器都不能工作,第三空填“都不能”;串联电路的应用举例有很多,比如小彩灯等,第四空可填“小彩灯”。
【答案】:
依次;一;都不能;小彩灯
本题考查串联电路的定义、电流路径特点、开关控制作用、断路影响以及应用举例。串联电路是把电路元件逐个首尾顺次连接起来的电路,所以第一空填“依次”;串联电路中电流只有一条路径,故第二空填“一”;由于串联电路只有一条路径,所以电路某处断路时,所有用电器都不能工作,第三空填“都不能”;串联电路的应用举例有很多,比如小彩灯等,第四空可填“小彩灯”。
【答案】:
依次;一;都不能;小彩灯
例1 如图所示的节日彩灯,一旦一个小灯泡烧坏了,这一串灯泡都

不能
(选填“能”或“不能”)发光,可知它们是采用串联
的方式连接的。
答案:
【解析】:
本题主要考查串联电路的特点,即串联电路中各用电器相互影响,一处断路,整个电路都无法工作。通过观察节日彩灯的连接方式,可以判断出它们是串联还是并联。如果一个小灯泡烧坏后,其他灯泡都不能发光,说明它们是串联的;如果其他灯泡仍然能发光,说明它们是并联的。根据题目描述“一旦一个小灯泡烧坏了,这一串灯泡都不能发光”,可以判断这些灯泡是串联的。
【答案】:
不能;串联
本题主要考查串联电路的特点,即串联电路中各用电器相互影响,一处断路,整个电路都无法工作。通过观察节日彩灯的连接方式,可以判断出它们是串联还是并联。如果一个小灯泡烧坏后,其他灯泡都不能发光,说明它们是串联的;如果其他灯泡仍然能发光,说明它们是并联的。根据题目描述“一旦一个小灯泡烧坏了,这一串灯泡都不能发光”,可以判断这些灯泡是串联的。
【答案】:
不能;串联
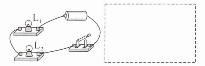
练习1 如图所示是小明同学实际动手连成的一个电路。
(1)该电路是
(2)为方便看清电路的连接方式,请在虚线框内画出相应的电路图。
(1)该电路是
串
联电路。若开关断开,灯$L_1$和灯$L_2$的工作情况是均不发光
。(2)为方便看清电路的连接方式,请在虚线框内画出相应的电路图。
(电路图:电源正极→开关→L₂→L₁→电源负极,用规范电路符号连接)
答案:
(1)串;均不发光
(2)(电路图:电源正极→开关→L₂→L₁→电源负极,用规范电路符号连接)
(1)串;均不发光
(2)(电路图:电源正极→开关→L₂→L₁→电源负极,用规范电路符号连接)
| 定义 | 电路图 | 特点 | 应用举例 |
| 把电路元件

| 把电路元件
并列
连接起来组成的电路叫做并联电路 | | 1. 电流有两(或多)
条路径;2. 干路开关S控制整个电路
,支路开关$S_1$只控制支路$L_1$
;3. 各支路互不影响,各用电器独立
工作 | 家庭电路中各用电器(如灯泡、电视、冰箱等)的连接(答案不唯一)
|
答案:
【解析】:
本题主要考查并联电路的基本概念、特点以及应用。需要根据并联电路的定义填写电路元件的连接方式;根据并联电路中电流路径的特点填写电流路径的条数;依据开关在并联电路中的位置和作用,分别填写干路开关和支路开关的控制对象;根据并联电路各支路用电器的工作特点填写用电器的工作情况;对于应用举例,需要结合生活实际,列举出并联电路在日常生活中的应用实例。
【答案】:
| 定义 | 电路图 | 特点 | 应用举例 |
| --- | --- | --- | --- |
| 把电路元件并列连接起来组成的电路叫做并联电路 | 图略 | 1. 电流有两(或多)条路径;2. 干路开关S控制整个电路,支路开关$S_1$只控制支路$L_1$;3. 各支路互不影响,各用电器独立工作 | 家庭电路中各用电器(如灯泡、电视、冰箱等)的连接(答案不唯一) |
本题主要考查并联电路的基本概念、特点以及应用。需要根据并联电路的定义填写电路元件的连接方式;根据并联电路中电流路径的特点填写电流路径的条数;依据开关在并联电路中的位置和作用,分别填写干路开关和支路开关的控制对象;根据并联电路各支路用电器的工作特点填写用电器的工作情况;对于应用举例,需要结合生活实际,列举出并联电路在日常生活中的应用实例。
【答案】:
| 定义 | 电路图 | 特点 | 应用举例 |
| --- | --- | --- | --- |
| 把电路元件并列连接起来组成的电路叫做并联电路 | 图略 | 1. 电流有两(或多)条路径;2. 干路开关S控制整个电路,支路开关$S_1$只控制支路$L_1$;3. 各支路互不影响,各用电器独立工作 | 家庭电路中各用电器(如灯泡、电视、冰箱等)的连接(答案不唯一) |
查看更多完整答案,请扫码查看