第146页
- 第1页
- 第2页
- 第3页
- 第4页
- 第5页
- 第6页
- 第7页
- 第8页
- 第9页
- 第10页
- 第11页
- 第12页
- 第13页
- 第14页
- 第15页
- 第16页
- 第17页
- 第18页
- 第19页
- 第20页
- 第21页
- 第22页
- 第23页
- 第24页
- 第25页
- 第26页
- 第27页
- 第28页
- 第29页
- 第30页
- 第31页
- 第32页
- 第33页
- 第34页
- 第35页
- 第36页
- 第37页
- 第38页
- 第39页
- 第40页
- 第41页
- 第42页
- 第43页
- 第44页
- 第45页
- 第46页
- 第47页
- 第48页
- 第49页
- 第50页
- 第51页
- 第52页
- 第53页
- 第54页
- 第55页
- 第56页
- 第57页
- 第58页
- 第59页
- 第60页
- 第61页
- 第62页
- 第63页
- 第64页
- 第65页
- 第66页
- 第67页
- 第68页
- 第69页
- 第70页
- 第71页
- 第72页
- 第73页
- 第74页
- 第75页
- 第76页
- 第77页
- 第78页
- 第79页
- 第80页
- 第81页
- 第82页
- 第83页
- 第84页
- 第85页
- 第86页
- 第87页
- 第88页
- 第89页
- 第90页
- 第91页
- 第92页
- 第93页
- 第94页
- 第95页
- 第96页
- 第97页
- 第98页
- 第99页
- 第100页
- 第101页
- 第102页
- 第103页
- 第104页
- 第105页
- 第106页
- 第107页
- 第108页
- 第109页
- 第110页
- 第111页
- 第112页
- 第113页
- 第114页
- 第115页
- 第116页
- 第117页
- 第118页
- 第119页
- 第120页
- 第121页
- 第122页
- 第123页
- 第124页
- 第125页
- 第126页
- 第127页
- 第128页
- 第129页
- 第130页
- 第131页
- 第132页
- 第133页
- 第134页
- 第135页
- 第136页
- 第137页
- 第138页
- 第139页
- 第140页
- 第141页
- 第142页
- 第143页
- 第144页
- 第145页
- 第146页
- 第147页
- 第148页
- 第149页
- 第150页
- 第151页
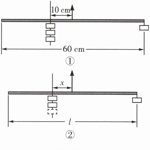
11. (★★)实验与探究:小明学完一元一次方程后,用一根质地均匀$60\ cm$长的木杆和一些等重的小物体,做下列实验:
(Ⅰ)在木杆中间$30\ cm$处拴绳,将木杆吊起来并使左右平衡,吊绳处为木杆的中点.
(Ⅱ)在木杆两端各悬挂一重物,看左右是否保持平衡.
(Ⅲ)小明在木杆左端小物体下加挂一重物,然后把这两个重物一起向右移动,直至左右平衡,记录此时支点到木杆左右两边挂重物的距离. 在木杆左边继续加挂重物,并重复以上操作(图①为其中一种情形对应的图)和记录如下:
|木杆左边挂重物个数/个|支点到木杆左边挂重物的距离/cm|木杆右端挂重物个数/个|支点到木杆右端挂重物的距离/cm|
|$2$|$15$|$1$|$30$|
|$3$|$10$|$1$|$30$|
|$4$|$7.5$|$1$|$30$|
…|$$…|$$|$1$|$30$|
|$n$||$1$|$30$|
根据以上小明的记录,请解答下列问题:
(1)你能发现什么规律? 请用语言进行表述.
(2)如图②,在木杆右端挂一重物,支点左边挂$n$个重物,并使左右平衡. 设木杆长为$l\ cm$,支点到木杆左边挂重物处的距离为$x\ cm$,把$n$,$l$作为已知数,列出关于$x$的一元一次方程.
(Ⅰ)在木杆中间$30\ cm$处拴绳,将木杆吊起来并使左右平衡,吊绳处为木杆的中点.
(Ⅱ)在木杆两端各悬挂一重物,看左右是否保持平衡.
(Ⅲ)小明在木杆左端小物体下加挂一重物,然后把这两个重物一起向右移动,直至左右平衡,记录此时支点到木杆左右两边挂重物的距离. 在木杆左边继续加挂重物,并重复以上操作(图①为其中一种情形对应的图)和记录如下:
|$2$|$15$|$1$|$30$|
|$3$|$10$|$1$|$30$|
|$4$|$7.5$|$1$|$30$|
…|$$…|$$|$1$|$30$|
|$n$||$1$|$30$|
根据以上小明的记录,请解答下列问题:
(1)你能发现什么规律? 请用语言进行表述.
(2)如图②,在木杆右端挂一重物,支点左边挂$n$个重物,并使左右平衡. 设木杆长为$l\ cm$,支点到木杆左边挂重物处的距离为$x\ cm$,把$n$,$l$作为已知数,列出关于$x$的一元一次方程.
答案:
解:
(1)根据以上小明的记录,能发现规律:
木杆左边挂重物个数与支点到木杆左边
挂重物的距离的乘积不变,均为30;而木
杆的总长为$60\ \mathrm {cm},$则木杆左边挂重物个
数与支点到木杆左边挂重物的距离的乘
积等于木杆右边挂重物个数与支点到木
块右边挂重物的距离的乘积.
(2)根据
(1)中发现的规律,可得
$nx=\frac{l}{2}×1=\frac{l}{2},$
所以列出关于x的一元一次方程为$nx=\frac{l}{2}$
解:
(1)根据以上小明的记录,能发现规律:
木杆左边挂重物个数与支点到木杆左边
挂重物的距离的乘积不变,均为30;而木
杆的总长为$60\ \mathrm {cm},$则木杆左边挂重物个
数与支点到木杆左边挂重物的距离的乘
积等于木杆右边挂重物个数与支点到木
块右边挂重物的距离的乘积.
(2)根据
(1)中发现的规律,可得
$nx=\frac{l}{2}×1=\frac{l}{2},$
所以列出关于x的一元一次方程为$nx=\frac{l}{2}$
查看更多完整答案,请扫码查看