第20页
- 第2页
- 第3页
- 第4页
- 第5页
- 第6页
- 第7页
- 第8页
- 第9页
- 第10页
- 第11页
- 第12页
- 第13页
- 第14页
- 第15页
- 第16页
- 第17页
- 第18页
- 第19页
- 第20页
- 第21页
- 第22页
- 第23页
- 第24页
- 第25页
- 第26页
- 第27页
- 第28页
- 第29页
- 第30页
- 第31页
- 第32页
- 第33页
- 第34页
- 第35页
- 第36页
- 第37页
- 第38页
- 第39页
- 第40页
- 第41页
- 第42页
- 第43页
- 第44页
- 第45页
- 第46页
- 第47页
- 第48页
- 第49页
- 第50页
- 第51页
- 第52页
- 第53页
- 第54页
- 第55页
- 第56页
- 第57页
- 第58页
- 第59页
- 第60页
- 第61页
- 第62页
- 第63页
- 第64页
- 第65页
- 第66页
- 第67页
- 第68页
- 第69页
- 第70页
- 第71页
- 第72页
- 第73页
- 第74页
- 第75页
- 第76页
- 第77页
- 第78页
- 第79页
- 第80页
- 第81页
- 第82页
- 第83页
- 第84页
- 第85页
- 第86页
- 第87页
- 第88页
- 第89页
- 第90页
- 第91页
- 第92页
- 第93页
- 第94页
- 第95页
- 第96页
- 第97页
- 第98页
- 第99页
- 第100页
- 第101页
- 第102页
- 第103页
- 第104页
- 第105页
- 第106页
- 第107页
- 第108页
- 第109页
- 第110页
- 第111页
- 第112页
- 第113页
- 第114页
- 第115页
- 第116页
- 第117页
- 第118页
- 第119页
- 第120页
- 第121页
- 第122页
- 第123页
- 第124页
- 第125页
- 第126页
- 第127页
- 第128页
- 第129页
- 第130页
- 第131页
- 第132页
- 第133页
- 第134页
- 第135页
- 第136页
- 第137页
- 第138页
- 第139页
- 第140页
- 第141页
- 第142页
- 第143页
- 第144页
- 第145页
- 第146页
- 第147页
- 第148页
- 第149页
- 第150页
1. ____滑轮和____滑轮组合在一起构成滑轮组,它既可以____又可以____。
答案:
定 动 省力 改变施力的方向
2. 若滑轮组绳子固定端连接在定滑轮上,则承担物重的绳子段数是____(选填“奇”或“偶”,下同)数;若滑轮组绳子固定端连接在动滑轮上,则承担物重的绳子段数是____数。
答案:
偶 奇
3. 不计摩擦和绳重,用滑轮组吊起重物时,滑轮组用n段绳子吊物体,绳子自由端移动的距离s就是重物提升高度h的____倍,提起物体的力就是物体和动滑轮总重的____,即s= ____h,F= $\frac{G_{总}}{n}$= ____;若不考虑摩擦、绳重和动滑轮的自重,则F=
答案:
$n$ $n$分之一 $n$ $\frac{1}{n}(G_{物}+G_{动})$ $\frac{1}{n}G_{物}$
1. 如图所示,小华使用滑轮组将一辆摩托车提起,说明使用滑轮组既能够____,也能够____,而且一定____(选填“费”或“不费”)距离。

答案:
省力 改变力的方向 费
2. 如图所示,重物匀速上升,若忽略摩擦、滑轮自重,物重G= 300N,则图甲中的拉力$F_{甲}= ____N,图乙中的拉力F_{乙}= ____N;$若忽略摩擦,动滑轮重30N,物重G= 300N,则$F_{甲}= ____N,$$F_{乙}= ____N;$若图甲、乙中重物运动的速度都为v,则绳子自由端移动的速度分别为____、____。

答案:
150 100 165 110 $2v$ $3v$ 解析:由滑轮组的绕线方式可知,题图甲、乙中滑轮组承担物重的绳子段数分别为$n_{甲}=2$、$n_{乙}=3$。如果摩擦、滑轮自重不计,则$F_{甲}=\frac{G}{n_{甲}}=\frac{300N}{2}=150N$,$F_{乙}=\frac{G}{n_{乙}}=\frac{300N}{3}=100N$;如果摩擦不计,则$F'_{甲}=\frac{G+G_{动}}{n_{甲}}=\frac{300N+30N}{2}=165N$,$F'_{乙}=\frac{G+G_{动}}{n_{乙}}=\frac{300N+30N}{3}=110N$;重物运动速度都为$v$,根据绳子自由端移动速度$v_{绳}=nv_{物}$可得,题图甲中绳子自由端移动速度为$2v$,题图乙中绳子自由端移动速度为$3v$。
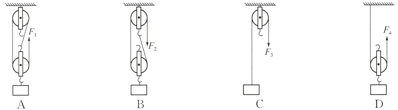
3. 分别使用图中四种装置匀速提升同一重物,不计滑轮重、绳重和摩擦,最省力的是()

答案:
A 解析:A选项中承重绳子的段数$n_{1}=3$,则拉力$F_{1}=\frac{G_{物}}{3}$;B选项中承重绳子的段数$n_{2}=2$,则拉力$F_{2}=\frac{G_{物}}{2}$;C选项中定滑轮相当于等臂杠杆,则拉力$F_{3}=G_{物}$;D选项中动滑轮相当于省力杠杆,拉力$F_{4}=\frac{G_{物}}{2}$。A符合题意。
4. 如图所示的滑轮组中每个滑轮重20N,不计绳重及摩擦,用它匀速提升重100N的物体,所用的拉力F为()

A. 50N
B. 60N
C. 70N
D. 120N
A. 50N
B. 60N
C. 70N
D. 120N
答案:
B 解析:题图中滑轮组承担物重的绳子段数$n=2$,不计绳重及摩擦,拉力$F=\frac{G_{物}+G_{动}}{2}=\frac{100N+20N}{2}=60N$。
查看更多完整答案,请扫码查看