第38页
- 第4页
- 第5页
- 第6页
- 第7页
- 第8页
- 第9页
- 第10页
- 第11页
- 第12页
- 第13页
- 第14页
- 第15页
- 第16页
- 第17页
- 第18页
- 第19页
- 第20页
- 第21页
- 第22页
- 第23页
- 第24页
- 第25页
- 第26页
- 第27页
- 第28页
- 第29页
- 第30页
- 第31页
- 第32页
- 第33页
- 第34页
- 第35页
- 第36页
- 第37页
- 第38页
- 第39页
- 第40页
- 第41页
- 第42页
- 第43页
- 第44页
- 第45页
- 第46页
- 第47页
- 第48页
- 第49页
- 第50页
- 第51页
- 第52页
- 第53页
- 第54页
- 第55页
- 第56页
- 第57页
- 第58页
- 第59页
- 第60页
- 第61页
- 第62页
- 第63页
- 第64页
- 第65页
- 第66页
- 第67页
- 第68页
- 第69页
- 第70页
- 第71页
- 第72页
- 第73页
- 第74页
- 第75页
- 第76页
- 第77页
- 第78页
- 第79页
- 第80页
- 第81页
- 第82页
- 第83页
- 第84页
- 第85页
- 第86页
- 第87页
- 第88页
- 第89页
- 第90页
- 第91页
- 第92页
- 第93页
- 第94页
- 第95页
- 第96页
- 第97页
- 第98页
- 第99页
- 第100页
- 第101页
- 第102页
- 第103页
- 第104页
- 第105页
- 第106页
- 第107页
- 第108页
- 第109页
- 第110页
- 第111页
- 第112页
- 第113页
- 第114页
- 第115页
- 第116页
- 第117页
- 第118页
- 第119页
- 第120页
- 第121页
- 第122页
- 第123页
- 第124页
- 第125页
- 第126页
- 第127页
- 第128页
- 第129页
- 第130页
- 第131页
- 第132页
- 第133页
- 第134页
- 第135页
- 第136页
- 第137页
- 第138页
- 第139页
- 第140页
- 第141页
- 第142页
- 第143页
- 第144页
- 第145页
- 第146页
用
符号
表示电路连接的图叫电路图。
答案:
符号
(1)通路:正常接通的电路,即用电器能够
(2)断路:电路中如果某处被切断,电路中不会有
(3)短路:直接用导线将电源的
工作
的电路。(2)断路:电路中如果某处被切断,电路中不会有
电流
通过。(3)短路:直接用导线将电源的
正、负
极连接起来,这种情况下电源被短路;如果电路是接通的,但用电器
两端被导线直接连通,这种情况下该用电器被短路。
答案:
(1)工作
(2)电流
(3)正、负 用电器
(1)工作
(2)电流
(3)正、负 用电器
1. 右图是一种常用的充电宝。出门带个充电宝几乎成了年轻人的“标配”。给手机充电时,充电宝在电路中的作用与下列元件相同的是 (


C
)
答案:
C
2. 在如图所示的四个电路图中,符合电路基本组成条件且连接正确的是 (

C
)
答案:
C
3. (2023·南开中学期中)下列电路图,开关闭合后灯泡能发光的是 (

A
)
答案:
A
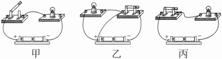
4. 对如图所示的三个电路的状态判断正确的是 (

A.甲断路、乙短路、丙通路
B.甲通路、乙短路、丙断路
C.甲断路、乙通路、丙短路
D.甲短路、乙断路、丙通路
A
)A.甲断路、乙短路、丙通路
B.甲通路、乙短路、丙断路
C.甲断路、乙通路、丙短路
D.甲短路、乙断路、丙通路
答案:
A
变式 如图所示,当开关$S_{1}$、$S_{2}$断开时,电路是

断路
;当开关$S_{1}$闭合、$S_{2}$断开时,电路是通路
;当开关$S_{1}$、$S_{2}$都闭合时,电路是短路
。(均选填“通路”“断路”或“短路”)
答案:
断路 通路 短路
5. 如图所示的四个电路图中能正确反映实物图电路连接关系的是 (


A
)
答案:
A
查看更多完整答案,请扫码查看