2025年畅行课堂九年级数学下册人教版山西专版
注:目前有些书本章节名称可能整理的还不是很完善,但都是按照顺序排列的,请同学们按照顺序仔细查找。练习册 2025年畅行课堂九年级数学下册人教版山西专版 答案主要是用来给同学们做完题方便对答案用的,请勿直接抄袭。
第48页
- 第1页
- 第2页
- 第3页
- 第4页
- 第5页
- 第6页
- 第7页
- 第8页
- 第9页
- 第10页
- 第11页
- 第12页
- 第13页
- 第14页
- 第15页
- 第16页
- 第17页
- 第18页
- 第19页
- 第20页
- 第21页
- 第22页
- 第23页
- 第24页
- 第25页
- 第26页
- 第27页
- 第28页
- 第29页
- 第30页
- 第31页
- 第32页
- 第33页
- 第34页
- 第35页
- 第36页
- 第37页
- 第38页
- 第39页
- 第40页
- 第41页
- 第42页
- 第43页
- 第44页
- 第45页
- 第46页
- 第47页
- 第48页
- 第49页
- 第50页
- 第51页
- 第52页
- 第53页
- 第54页
- 第55页
- 第56页
- 第57页
- 第58页
- 第59页
- 第60页
- 第61页
- 第62页
- 第63页
- 第64页
- 第65页
- 第66页
- 第67页
- 第68页
- 第69页
- 第70页
- 第71页
- 第72页
- 第73页
1.(2024·自贡)为测量水平操场上旗杆的高度,九(2)班各学习小组运用了多种测量方法.
−.
G−−−
(1)如图1,小张在测量时发现,自己在操场上的影长EF恰好等于自己的身高DE.此时,小组同学测得旗杆AB的影长BC为11.3 m,据此可得旗杆高度为________ m.
(2)如图2,小李站在操场上E点处,前面水平放置镜面C,并通过镜面观测到旗杆顶部A.小组同学测得小李的眼睛距地面高度DE = 1.5 m,小李到镜面距离EC = 2 m,镜面到旗杆的距离CB = 16 m.求旗杆高度.
(3)小王所在小组采用图3的方法测量,结果误差较大.在更新测量工具,优化测量方法后,测量精度明显提高.研学旅行时,他们利用自制工具,成功测量了江姐故里广场雕塑的高度.方法如下:

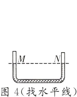
如图4,在透明的塑料软管内注入适量的水,利用连通器原理,保持管内水面M,N两点始终处于同一水平线上.
如图5,在支架上端P处,用细线系小重物Q,标高线PQ始终垂直于水平地面.
如图6,在江姐故里广场上E点处,同学们用注水管确定与雕塑底部B处于同一水平线的D,G两点,并标记观测视线DA与标高线交点C,测得标高CG = 1.8 m,DG = 1.5 m.将观测点D后移24 m到D'处,采用同样方法,测得C'G' = 1.2 m,D'G' = 2 m.求雕塑高度(结果精确到1 m).
−.
G−−−
(1)如图1,小张在测量时发现,自己在操场上的影长EF恰好等于自己的身高DE.此时,小组同学测得旗杆AB的影长BC为11.3 m,据此可得旗杆高度为________ m.
(2)如图2,小李站在操场上E点处,前面水平放置镜面C,并通过镜面观测到旗杆顶部A.小组同学测得小李的眼睛距地面高度DE = 1.5 m,小李到镜面距离EC = 2 m,镜面到旗杆的距离CB = 16 m.求旗杆高度.
(3)小王所在小组采用图3的方法测量,结果误差较大.在更新测量工具,优化测量方法后,测量精度明显提高.研学旅行时,他们利用自制工具,成功测量了江姐故里广场雕塑的高度.方法如下:
如图4,在透明的塑料软管内注入适量的水,利用连通器原理,保持管内水面M,N两点始终处于同一水平线上.
如图5,在支架上端P处,用细线系小重物Q,标高线PQ始终垂直于水平地面.
如图6,在江姐故里广场上E点处,同学们用注水管确定与雕塑底部B处于同一水平线的D,G两点,并标记观测视线DA与标高线交点C,测得标高CG = 1.8 m,DG = 1.5 m.将观测点D后移24 m到D'处,采用同样方法,测得C'G' = 1.2 m,D'G' = 2 m.求雕塑高度(结果精确到1 m).
答案:
解:
(1)11.3
(2)如图,过点D作DE⊥BC于点E.

由反射定律,可知∠DCE = ∠ACB
又
∵∠DEC = ∠ABC = 90°,
∴△DEC∽△ABC,
∴$\frac{AB}{DE}=\frac{BC}{EC}$,即
$\frac{AB}{1.5}=\frac{16}{2}$,解得AB = 12.
答:旗杆高度为12 m.
(3)
∵∠CDG = ∠ADB,∠CGD = ∠ABD = 90°,
∴△DCG∽△DAB,
∴$\frac{CG}{AB}=\frac{DG}{DB}$.
设AB = x m,BD = y m,则$\frac{1.8}{x}=\frac{1.5}{y}$,
∴$y = \frac{5}{6}x$. 同理,可得$\frac{C'G'}{AB}=\frac{D'G'}{D'B}$,
∴$\frac{1.2}{x}=\frac{2}{24 + y}$,
∴$\frac{1.2}{x}=\frac{2}{24+\frac{5}{6}x}$.
解得x = 28.8.
经检验,x = 28.8是原方程的解,且符合题意,故AB≈29 m.
答:雕塑高度AB约为29 m.
解:
(1)11.3
(2)如图,过点D作DE⊥BC于点E.
由反射定律,可知∠DCE = ∠ACB
又
∵∠DEC = ∠ABC = 90°,
∴△DEC∽△ABC,
∴$\frac{AB}{DE}=\frac{BC}{EC}$,即
$\frac{AB}{1.5}=\frac{16}{2}$,解得AB = 12.
答:旗杆高度为12 m.
(3)
∵∠CDG = ∠ADB,∠CGD = ∠ABD = 90°,
∴△DCG∽△DAB,
∴$\frac{CG}{AB}=\frac{DG}{DB}$.
设AB = x m,BD = y m,则$\frac{1.8}{x}=\frac{1.5}{y}$,
∴$y = \frac{5}{6}x$. 同理,可得$\frac{C'G'}{AB}=\frac{D'G'}{D'B}$,
∴$\frac{1.2}{x}=\frac{2}{24 + y}$,
∴$\frac{1.2}{x}=\frac{2}{24+\frac{5}{6}x}$.
解得x = 28.8.
经检验,x = 28.8是原方程的解,且符合题意,故AB≈29 m.
答:雕塑高度AB约为29 m.
查看更多完整答案,请扫码查看