第97页
- 第1页
- 第2页
- 第3页
- 第4页
- 第5页
- 第6页
- 第7页
- 第8页
- 第9页
- 第10页
- 第11页
- 第12页
- 第13页
- 第14页
- 第15页
- 第16页
- 第17页
- 第18页
- 第19页
- 第20页
- 第21页
- 第22页
- 第23页
- 第24页
- 第25页
- 第26页
- 第27页
- 第28页
- 第29页
- 第30页
- 第31页
- 第32页
- 第33页
- 第34页
- 第35页
- 第36页
- 第37页
- 第38页
- 第39页
- 第40页
- 第41页
- 第42页
- 第43页
- 第44页
- 第45页
- 第46页
- 第47页
- 第48页
- 第49页
- 第50页
- 第51页
- 第52页
- 第53页
- 第54页
- 第55页
- 第56页
- 第57页
- 第58页
- 第59页
- 第60页
- 第61页
- 第62页
- 第63页
- 第64页
- 第65页
- 第66页
- 第67页
- 第68页
- 第69页
- 第70页
- 第71页
- 第72页
- 第73页
- 第74页
- 第75页
- 第76页
- 第77页
- 第78页
- 第79页
- 第80页
- 第81页
- 第82页
- 第83页
- 第84页
- 第85页
- 第86页
- 第87页
- 第88页
- 第89页
- 第90页
- 第91页
- 第92页
- 第93页
- 第94页
- 第95页
- 第96页
- 第97页
- 第98页
- 第99页
- 第100页
- 第101页
- 第102页
- 第103页
- 第104页
- 第105页
- 第106页
- 第107页
- 第108页
- 第109页
- 第110页
- 第111页
- 第112页
- 第113页
- 第114页
- 第115页
- 第116页
- 第117页
- 第118页
- 第119页
- 第120页
- 第121页
- 第122页
- 第123页
- 第124页
- 第125页
- 第126页
- 第127页
- 第128页
- 第129页
- 第130页
- 第131页
- 第132页
- 第133页
- 第134页
- 第135页
- 第136页
- 第137页
- 第138页
- 第139页
- 第140页
- 第141页
- 第142页
- 第143页
- 第144页
- 第145页
- 第146页
- 第147页
- 第148页
- 第149页
- 第150页
- 第151页
- 第152页
- 第153页
- 第154页
- 第155页
- 第156页
- 第157页
- 第158页
- 第159页
- 第160页
- 第161页
- 第162页
- 第163页
- 第164页
- 第165页
- 第166页
- 第167页
- 第168页
- 第169页
- 第170页
- 第171页
- 第172页
- 第173页
- 第174页
- 第175页
- 第176页
- 第177页
- 第178页
- 第179页
- 第180页
- 第181页
- 第182页
- 第183页
- 第184页
- 第185页
- 第186页
- 第187页
- 第188页
典例分析 3
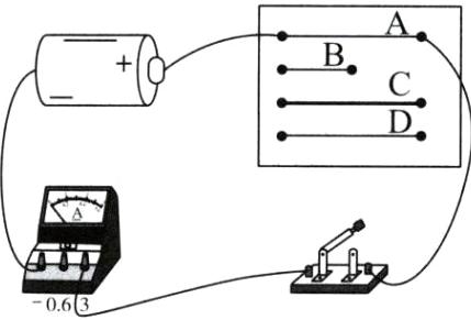
某学习小组在探究影响导体电阻大小的因素时,设计了如图所示的实验装置,实验中分别将 A、B、C、D 四根导体接入电路,四根导体的材料规格如表所示。

(1)请你在图中用一根导线将电流表正确连入电路。
(2)为比较 A、B、C、D 四根导体电阻的大小,可通过观察_________来判断。
(3)要探究导体电阻大小与长度的关系,应选用_________两根导体进行实验。
(4)将 A、C 两根导体分别接入电路中进行实验,可得出:当导体的长度和材料相同时,横截面积越大,电阻越_________。

(5)老师想改装一个滑动变阻器使其最大阻值变小,请你根据该实验结论,帮老师想出一种方法:_________(写出一种合理方法即可)。
某学习小组在探究影响导体电阻大小的因素时,设计了如图所示的实验装置,实验中分别将 A、B、C、D 四根导体接入电路,四根导体的材料规格如表所示。
(1)请你在图中用一根导线将电流表正确连入电路。
(2)为比较 A、B、C、D 四根导体电阻的大小,可通过观察_________来判断。
(3)要探究导体电阻大小与长度的关系,应选用_________两根导体进行实验。
(4)将 A、C 两根导体分别接入电路中进行实验,可得出:当导体的长度和材料相同时,横截面积越大,电阻越_________。
(5)老师想改装一个滑动变阻器使其最大阻值变小,请你根据该实验结论,帮老师想出一种方法:_________(写出一种合理方法即可)。
答案:
(1)如图所示;
(2)电流表示数;
(3)A、B;
(4)小;
(5)在电阻丝材料和横截面积不变时,换用较短的电阻丝(合理即可) 解析
(1)将电流表接入电路中时,电流应从电流表的正接线柱流入,从负接线柱流出,所以将电流表的负接线柱与电源负极相连即可。
(2)实验中,导体电阻的大小是通过电流的大小(电流表的示数)来体现的,电流越小说明电阻越大,应用了转换法。
(3)探究导体电阻大小与长度的关系时,需要保证导体的材料和横截面积都相同,改变导体的长度,所以需要选择A、B两根导体进行实验;分析实验数据可知,当导体的材料和横截面积相同时,长度越小,电流越大,说明电阻越小。
(4)由表中信息可知,A、C两根导体的材料和长度都相同,而横截面积不同,且横截面积越大,电流越大,说明电阻越小,故可得出结论:当导体的材料和长度相同时,横截面积越大,电阻越小。
(5)要想滑动变阻器的最大阻值变小,在电阻丝的材料和横截面积不变时,可以通过减小电阻丝的长度来减小电阻,即换用较短的电阻丝;或者在电阻丝的材料和长度不变时,可以通过增大电阻丝的横截面积来减小电阻,即换用较粗的电阻丝。
(1)如图所示;
(2)电流表示数;
(3)A、B;
(4)小;
(5)在电阻丝材料和横截面积不变时,换用较短的电阻丝(合理即可) 解析
(1)将电流表接入电路中时,电流应从电流表的正接线柱流入,从负接线柱流出,所以将电流表的负接线柱与电源负极相连即可。
(2)实验中,导体电阻的大小是通过电流的大小(电流表的示数)来体现的,电流越小说明电阻越大,应用了转换法。
(3)探究导体电阻大小与长度的关系时,需要保证导体的材料和横截面积都相同,改变导体的长度,所以需要选择A、B两根导体进行实验;分析实验数据可知,当导体的材料和横截面积相同时,长度越小,电流越大,说明电阻越小。
(4)由表中信息可知,A、C两根导体的材料和长度都相同,而横截面积不同,且横截面积越大,电流越大,说明电阻越小,故可得出结论:当导体的材料和长度相同时,横截面积越大,电阻越小。
(5)要想滑动变阻器的最大阻值变小,在电阻丝的材料和横截面积不变时,可以通过减小电阻丝的长度来减小电阻,即换用较短的电阻丝;或者在电阻丝的材料和长度不变时,可以通过增大电阻丝的横截面积来减小电阻,即换用较粗的电阻丝。
查看更多完整答案,请扫码查看