2025年走向中考考场九年级物理全一册人教版河北专版
注:目前有些书本章节名称可能整理的还不是很完善,但都是按照顺序排列的,请同学们按照顺序仔细查找。练习册 2025年走向中考考场九年级物理全一册人教版河北专版 答案主要是用来给同学们做完题方便对答案用的,请勿直接抄袭。
第50页
- 第1页
- 第2页
- 第3页
- 第4页
- 第5页
- 第6页
- 第7页
- 第8页
- 第9页
- 第10页
- 第11页
- 第12页
- 第13页
- 第14页
- 第15页
- 第16页
- 第17页
- 第18页
- 第19页
- 第20页
- 第21页
- 第22页
- 第23页
- 第24页
- 第25页
- 第26页
- 第27页
- 第28页
- 第29页
- 第30页
- 第31页
- 第32页
- 第33页
- 第34页
- 第35页
- 第36页
- 第37页
- 第38页
- 第39页
- 第40页
- 第41页
- 第42页
- 第43页
- 第44页
- 第45页
- 第46页
- 第47页
- 第48页
- 第49页
- 第50页
- 第51页
- 第52页
- 第53页
- 第54页
- 第55页
- 第56页
- 第57页
- 第58页
- 第59页
- 第60页
- 第61页
- 第62页
- 第63页
- 第64页
- 第65页
- 第66页
- 第67页
- 第68页
- 第69页
- 第70页
- 第71页
- 第72页
- 第73页
- 第74页
- 第75页
- 第76页
- 第77页
- 第78页
- 第79页
- 第80页
- 第81页
- 第82页
- 第83页
- 第84页
- 第85页
- 第86页
- 第87页
- 第88页
- 第89页
- 第90页
- 第91页
- 第92页
- 第93页
- 第94页
- 第95页
- 第96页
- 第97页
- 第98页
- 第99页
- 第100页
- 第101页
- 第102页
- 第103页
- 第104页
- 第105页
- 第106页
8. 日常生活中,变阻器有着广泛的应用,下列没有应用滑动变阻器的是( )
A. 调台灯亮度的装置
B. 调收音机音量大小的电位器
C. 调收音机频道的装置
D. 调节电动车速度的装置
A. 调台灯亮度的装置
B. 调收音机音量大小的电位器
C. 调收音机频道的装置
D. 调节电动车速度的装置
答案:
C
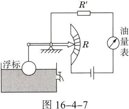
9. 如图16 - 4 - 7所示,是一种自动测定油箱内油面高度的装置,R'是定值电阻,R是滑动变阻器,它的金属滑片是杠杆的一端,从油量表指针所指的刻度就可以知道油面的高度。
(1)油量表其实是________表。
(2)油面升高,R____________,油量表指针偏转________。(均选填“变大”“变小”或“不变”)
(3)定值电阻R'是否多余,它有什么作用?____
(1)油量表其实是________表。
(2)油面升高,R____________,油量表指针偏转________。(均选填“变大”“变小”或“不变”)
(3)定值电阻R'是否多余,它有什么作用?____
答案:
(1)电流
(2)变小 变大
(3)不多余,起保护电路的作用
(1)电流
(2)变小 变大
(3)不多余,起保护电路的作用
10. 如图16 - 4 - 8所示,滑动变阻器的接线柱D已连入电路中,要求当该滑动变阻器的滑片P向D端滑动时,接入电路中的电阻变大,则滑动变阻器连入电路的另一接线柱应是( )
A. 接线柱A B. 接线柱B
C. 接线柱C D. 无法判断
A. 接线柱A B. 接线柱B
C. 接线柱C D. 无法判断
答案:
A
11. 如图16 - 4 - 9是未连接完整的电路,若要求闭合开关后,滑动变阻器的滑片P向左移动时,灯泡变亮。则下列接法符合要求的是( )
图16 - 4 - 9
A. M接A,N接D B. M接B,N接C
C. M接A,N接B D. M接C,N接D
A. M接A,N接D B. M接B,N接C
C. M接A,N接B D. M接C,N接D
答案:
A
12. 如图16 - 4 - 10所示,用滑动变阻器控制灯泡L的亮度,若要求滑片P向左滑动时灯泡逐渐变亮,则下列接法中正确的是( )
A. M接C,N接D
B. M接A,N接B
C. M接C,N接B
D. M接A,N接D
A. M接C,N接D
B. M接A,N接B
C. M接C,N接B
D. M接A,N接D
答案:
C
13. (2023·承德模拟)如图16 - 4 - 11所示电路中,闭合开关后,要使灯L₁变亮一些,灯L₂变暗一些,下列操作正确的是( )
A. P₁和P₂均向右滑 B. P₁和P₂均向左滑
C. P₁向左滑,P₂向右滑D. P₁向右滑,P₂向左滑
A. P₁和P₂均向右滑 B. P₁和P₂均向左滑
C. P₁向左滑,P₂向右滑D. P₁向右滑,P₂向左滑
答案:
B
14. 滑动变阻器如图16 - 4 - 12所示,串联起来使用,要使两个滑动变阻器阻值最大,滑片P₁、P₂的位置应同时满足( )
A. P₁在最右端,P₂在最左端
B. P₁在最左端,P₂在最左端
C. P₁在最左端,P₂在最右端
D. P₁在最右端,P₂在最右端
A. P₁在最右端,P₂在最左端
B. P₁在最左端,P₂在最左端
C. P₁在最左端,P₂在最右端
D. P₁在最右端,P₂在最右端
答案:
C
15. 如图16 - 4 - 13所示的电阻箱的示数为( )

A. 2018Ω B. 2108Ω
C. 8102Ω D. 8120Ω
A. 2018Ω B. 2108Ω
C. 8102Ω D. 8120Ω
答案:
A
16. 如图16 - 4 - 14所示的是插入式电阻箱的结构示意图。它的最大电阻值是________Ω,图中A、B两个接线柱之间的电阻值是________Ω。

答案:
15 7
查看更多完整答案,请扫码查看