2025年走向中考考场九年级物理全一册人教版河北专版
注:目前有些书本章节名称可能整理的还不是很完善,但都是按照顺序排列的,请同学们按照顺序仔细查找。练习册 2025年走向中考考场九年级物理全一册人教版河北专版 答案主要是用来给同学们做完题方便对答案用的,请勿直接抄袭。
第35页
- 第1页
- 第2页
- 第3页
- 第4页
- 第5页
- 第6页
- 第7页
- 第8页
- 第9页
- 第10页
- 第11页
- 第12页
- 第13页
- 第14页
- 第15页
- 第16页
- 第17页
- 第18页
- 第19页
- 第20页
- 第21页
- 第22页
- 第23页
- 第24页
- 第25页
- 第26页
- 第27页
- 第28页
- 第29页
- 第30页
- 第31页
- 第32页
- 第33页
- 第34页
- 第35页
- 第36页
- 第37页
- 第38页
- 第39页
- 第40页
- 第41页
- 第42页
- 第43页
- 第44页
- 第45页
- 第46页
- 第47页
- 第48页
- 第49页
- 第50页
- 第51页
- 第52页
- 第53页
- 第54页
- 第55页
- 第56页
- 第57页
- 第58页
- 第59页
- 第60页
- 第61页
- 第62页
- 第63页
- 第64页
- 第65页
- 第66页
- 第67页
- 第68页
- 第69页
- 第70页
- 第71页
- 第72页
- 第73页
- 第74页
- 第75页
- 第76页
- 第77页
- 第78页
- 第79页
- 第80页
- 第81页
- 第82页
- 第83页
- 第84页
- 第85页
- 第86页
- 第87页
- 第88页
- 第89页
- 第90页
- 第91页
- 第92页
- 第93页
- 第94页
- 第95页
- 第96页
- 第97页
- 第98页
- 第99页
- 第100页
- 第101页
- 第102页
- 第103页
- 第104页
- 第105页
- 第106页
9. 如图9甲电路,当开关S闭合后,电流表的指针偏转如图乙所示,其中a电流表测量的是通过_______的电流,通过灯泡L₂的电流为_______。
图9
图9
答案:
L₁ 0.9A
10. 在如图10所示的电路中,当开关S₂和S₃闭合、开关S₁断开时,电流表A₃和A₂的示数分别为4.5A和1.5A,电流表A₁的示数为_______A。
答案:
3
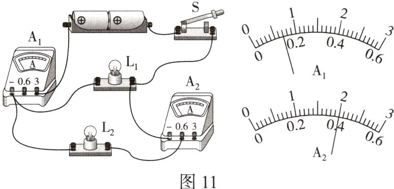
11. 用下列电路探究电路的电流规律时,电流表A₁、A₂的示数如图11所示,则流过灯泡L₁、L₂的电流分别是_______,_______。
答案:
0.3A 0.4A
12. 在“探究串联电路的电流特点”的实验中,小丽同学选用两个不同的小灯泡组成了如图12甲所示的串联电路,然后用一个电流表分别接在a、b、c三处去测量电流:
(1)她先把电流表接在a处,闭合开关后,发现两灯的亮度不稳定,电流表的指针也来回摆动。故障的原因可能是_______。
A. 某段导线断开
B. 某接线柱处接触不良
C. 某灯泡被短路
D. 电流表被烧坏
(2)她排除故障后,重新闭合开关,电流表的指针指示位置如图乙所示,则所测的电流值为_______A。
(3)她测量了a、b、c三处的电流,又改变灯泡的规格进行了多次实验,其中一次实验的测量数据如上表,在分析数据时,发现三处的测量值有差异。下列分析正确的是_______。
A. 可能是因为测量误差造成的
B. 串联电路中各处的电流本来就不等
C. 电流从电源正极流向负极的过程中,电流越来越小
(1)她先把电流表接在a处,闭合开关后,发现两灯的亮度不稳定,电流表的指针也来回摆动。故障的原因可能是_______。
A. 某段导线断开
B. 某接线柱处接触不良
C. 某灯泡被短路
D. 电流表被烧坏
(2)她排除故障后,重新闭合开关,电流表的指针指示位置如图乙所示,则所测的电流值为_______A。
(3)她测量了a、b、c三处的电流,又改变灯泡的规格进行了多次实验,其中一次实验的测量数据如上表,在分析数据时,发现三处的测量值有差异。下列分析正确的是_______。
A. 可能是因为测量误差造成的
B. 串联电路中各处的电流本来就不等
C. 电流从电源正极流向负极的过程中,电流越来越小
答案:
(1)B
(2)0.22
(3)A
(1)B
(2)0.22
(3)A
13. 认真观察图13甲,并分析回答下面的问题:
(1)当只闭合S₃时,若电流表A₁的示数为0.1A,则通过L₁的电流是_______A。
(2)若只闭合S₁、S₂,此时电流表A₂示数如图乙所示,电流表A₁的示数为0.5A,则通过L₁的电流是_______A。
(3)电路中,绝不允许同时闭合的开关是_______,因为电路会发生_______。
(1)当只闭合S₃时,若电流表A₁的示数为0.1A,则通过L₁的电流是_______A。
(2)若只闭合S₁、S₂,此时电流表A₂示数如图乙所示,电流表A₁的示数为0.5A,则通过L₁的电流是_______A。
(3)电路中,绝不允许同时闭合的开关是_______,因为电路会发生_______。
答案:
(1)0.1
(2)0.24
(3)S₁、S₂、S₃ 短路
(1)0.1
(2)0.24
(3)S₁、S₂、S₃ 短路
查看更多完整答案,请扫码查看