第121页
- 第1页
- 第2页
- 第3页
- 第4页
- 第5页
- 第6页
- 第7页
- 第8页
- 第9页
- 第10页
- 第11页
- 第12页
- 第13页
- 第14页
- 第15页
- 第16页
- 第17页
- 第18页
- 第19页
- 第20页
- 第21页
- 第22页
- 第23页
- 第24页
- 第25页
- 第26页
- 第27页
- 第28页
- 第29页
- 第30页
- 第31页
- 第32页
- 第33页
- 第34页
- 第35页
- 第36页
- 第37页
- 第38页
- 第39页
- 第40页
- 第41页
- 第42页
- 第43页
- 第44页
- 第45页
- 第46页
- 第47页
- 第48页
- 第49页
- 第50页
- 第51页
- 第52页
- 第53页
- 第54页
- 第55页
- 第56页
- 第57页
- 第58页
- 第59页
- 第60页
- 第61页
- 第62页
- 第63页
- 第64页
- 第65页
- 第66页
- 第67页
- 第68页
- 第69页
- 第70页
- 第71页
- 第72页
- 第73页
- 第74页
- 第75页
- 第76页
- 第77页
- 第78页
- 第79页
- 第80页
- 第81页
- 第82页
- 第83页
- 第84页
- 第85页
- 第86页
- 第87页
- 第88页
- 第89页
- 第90页
- 第91页
- 第92页
- 第93页
- 第94页
- 第95页
- 第96页
- 第97页
- 第98页
- 第99页
- 第100页
- 第101页
- 第102页
- 第103页
- 第104页
- 第105页
- 第106页
- 第107页
- 第108页
- 第109页
- 第110页
- 第111页
- 第112页
- 第113页
- 第114页
- 第115页
- 第116页
- 第117页
- 第118页
- 第119页
- 第120页
- 第121页
- 第122页
1. 发电机的基本结构:
磁极
、线圈
、铜环
、电刷
等。
答案:
磁极; 线圈; 铜环; 电刷
2. 发电机原理:利用
电磁感应
现象制成。发电机工作时的能量转化:机械
能转化为电
能。发电机的线圈每转动一圈,线圈中的电流方向改变2
次。
答案:
电磁感应; 机械; 电; 2
3. 大型发电机(一般是旋转磁极式)的转子是
磁极
,定子是线圈
。
答案:
磁极; 线圈
4. 周期性改变
大小
和方向
的电流,叫作交变电流,简称交流电(AC)。
答案:
大小; 方向
5. 我国交流发电机的转子每秒转
50
周,即交流电的频率是50
赫兹,因此交流电的方向每秒改变100
次。
答案:
50; 50; 100
1. (2023·许昌)小朋友穿的旱冰鞋,其内部虽然没有电池,但旱冰鞋的轮子滚动时,嵌在轮子中的LED灯会发光。这是因为轮子在滚动的过程中发生
电磁感应
现象,产生了感应电流
,LED灯相当于用电器
(选填“电源”或“用电器”)。
答案:
电磁感应; 感应电流; 用电器
2. 如图1甲所示,把一台手摇发电机跟灯泡连接起来,使线圈在磁场中转动,可以通过

小灯泡发光
这一现象来判断电路中有电流,手摇发电机的工作原理是电磁感应现象
。把两个发光二极管极性相反地并联起来,并与发电机串联,如图1乙所示,转动摇把,两个二极管交替发光,说明电路中产生的电流是交流电
(选填“直流电”或“交流电”)。
答案:
小灯泡发光; 电磁感应现象; 交流电
3. (2024·北碚)如图2所示,妈妈给东东新买了一双旱冰鞋,鞋子本身不带电源,但当东东穿上鞋子滑动时,轮子就会发光,该旱冰鞋轮子发光的原理是

电磁感应
现象。
答案:
电磁感应
4. (2023·铜仁)微风吊扇通电后扇叶转动,拔下插头,在插头处接发光二极管,如图3所示,用手旋转叶片,二极管发光,说明电路中产生了

感应电流
,这是电磁感应
现象。
答案:
感应电流; 电磁感应
5. (2024·商南)第22届“世界杯”在炎热的卡塔尔举行,所有场地周边都配备有一种“ElPalm凉亭”。如图4所示,该凉亭装有风力
A.电磁感应
B.电流的磁效应
C.电流的热效应

D.电荷间的相互作用
涡
轮机,其内部
有磁铁,风进入装置带动线圈摆动可提供电能。“ElPalm凉亭”的发电原理是(A
)A.电磁感应
B.电流的磁效应
C.电流的热效应
D.电荷间的相互作用
答案:
A
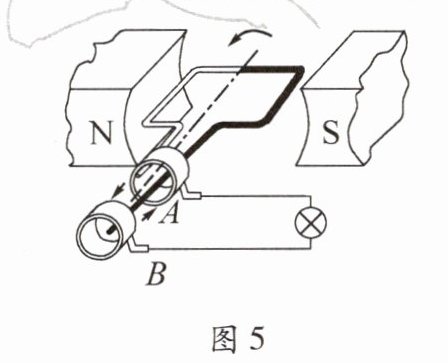
6. 图5所示为发电机的工作原理图。下列说法正确的是(

A.当发电机工作时,电流始终从电刷A流向电刷B
B.当线圈不动,磁极转动时,也会有感应电流产生
C.发电机的基本原理是电流的磁效应
D.发电机线圈每转过一圈,电流方向就改变一次
B
)A.当发电机工作时,电流始终从电刷A流向电刷B
B.当线圈不动,磁极转动时,也会有感应电流产生
C.发电机的基本原理是电流的磁效应
D.发电机线圈每转过一圈,电流方向就改变一次
答案:
B
查看更多完整答案,请扫码查看