第48页
- 第1页
- 第2页
- 第3页
- 第4页
- 第5页
- 第6页
- 第7页
- 第8页
- 第9页
- 第10页
- 第11页
- 第12页
- 第13页
- 第14页
- 第15页
- 第16页
- 第17页
- 第18页
- 第19页
- 第20页
- 第21页
- 第22页
- 第23页
- 第24页
- 第25页
- 第26页
- 第27页
- 第28页
- 第29页
- 第30页
- 第31页
- 第32页
- 第33页
- 第34页
- 第35页
- 第36页
- 第37页
- 第38页
- 第39页
- 第40页
- 第41页
- 第42页
- 第43页
- 第44页
- 第45页
- 第46页
- 第47页
- 第48页
- 第49页
- 第50页
- 第51页
- 第52页
- 第53页
- 第54页
- 第55页
- 第56页
- 第57页
- 第58页
- 第59页
- 第60页
- 第61页
- 第62页
- 第63页
- 第64页
- 第65页
- 第66页
- 第67页
- 第68页
- 第69页
- 第70页
- 第71页
- 第72页
- 第73页
- 第74页
- 第75页
- 第76页
- 第77页
- 第78页
- 第79页
- 第80页
- 第81页
- 第82页
- 第83页
- 第84页
- 第85页
- 第86页
- 第87页
- 第88页
- 第89页
- 第90页
- 第91页
- 第92页
- 第93页
- 第94页
- 第95页
- 第96页
- 第97页
- 第98页
- 第99页
- 第100页
- 第101页
- 第102页
- 第103页
- 第104页
- 第105页
- 第106页
- 第107页
- 第108页
- 第109页
- 第110页
- 第111页
- 第112页
1.【探究名称】探究串联电路中电压的规律。
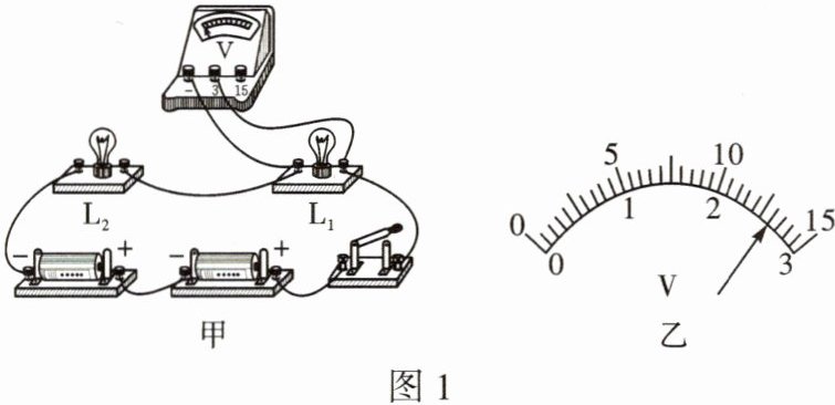
【探究过程】如图1甲所示,小组同学选用两节新电池,两个小灯泡,一个电压表来探究串联电路中电压的特点。
(1)若要测量灯泡$L_{1}$两端的电压,图1甲是已经连接的部分实验电路,请你用笔画线代替导线,把实物电路连接完整。
(2)正确连接电路后,测得$U_{L_{1}} = 1.8 V$,$U_{L_{2}} = 1.1 V$,$U = 2.9 V$。
(3)同学们在实验中发现:灯泡$L_{1}$比$L_{2}$更亮,而且$L_{1}$两端的电压也较大。同组的小红做出了如下猜想:$L_{1}$更靠近电源正极,所以分到的电压较多。为了验证这一猜想是否正确,简单有效的做法是:
【解释】
(1)小华据此得出结论:串联电路两端的电压等于各部分电路两端电压的
(2)小明认为结论不可靠,需要改进,改进方案是
【交流】小灯泡$L_{1}$、$L_{2}$应该选择规格

【探究过程】如图1甲所示,小组同学选用两节新电池,两个小灯泡,一个电压表来探究串联电路中电压的特点。
(1)若要测量灯泡$L_{1}$两端的电压,图1甲是已经连接的部分实验电路,请你用笔画线代替导线,把实物电路连接完整。
(2)正确连接电路后,测得$U_{L_{1}} = 1.8 V$,$U_{L_{2}} = 1.1 V$,$U = 2.9 V$。
(3)同学们在实验中发现:灯泡$L_{1}$比$L_{2}$更亮,而且$L_{1}$两端的电压也较大。同组的小红做出了如下猜想:$L_{1}$更靠近电源正极,所以分到的电压较多。为了验证这一猜想是否正确,简单有效的做法是:
将两个小灯泡的位置互换,观察灯泡的亮度是否会发生变化
。【解释】
(1)小华据此得出结论:串联电路两端的电压等于各部分电路两端电压的
总和
。(2)小明认为结论不可靠,需要改进,改进方案是
换不同规格的小灯泡多进行几次实验
。【交流】小灯泡$L_{1}$、$L_{2}$应该选择规格
不同
(选填“相同”或“不同”)的。
答案:
1.[探究过程]
(1)如图所示
(3)将两个小灯泡的位置互换,观察灯泡的亮度是否会发生变化
[解释]
(1)总和
(2)换不同规格的小灯泡多进行几次实验
[交流]不同
1.[探究过程]
(1)如图所示
(3)将两个小灯泡的位置互换,观察灯泡的亮度是否会发生变化
[解释]
(1)总和
(2)换不同规格的小灯泡多进行几次实验
[交流]不同
2.【探究名称】探究影响电阻大小的因素。
【探究猜想】探究影响电阻大小的因素时,小玉认为:电阻可能与温度有关。对此,小组同学提出了两种猜想。
猜想一:导体的电阻随温度的升高而变大;
猜想二:导体的电阻随温度的升高而变小。
【探究过程】小玉按图2的装置将电池、灯泡和钨丝连接起来,点燃酒精灯对着钨丝加热,发现灯变暗;小明将钨丝换成铅笔芯,用酒精灯对着铅笔芯加热,发现灯泡变亮。
【解释】
(1)钨丝的电阻随温度的升高而
(2)实验中发现:灯泡的亮度变化有时不明显,为使实验效果更明显,可以改进的方法是
【交流】图3是一种防火警报器,这款警报器的触发装置以石墨为主材料,其原理是电路的电压不变,当有火烧到警报器的触发装置后,温度升高,石墨的电阻


【探究猜想】探究影响电阻大小的因素时,小玉认为:电阻可能与温度有关。对此,小组同学提出了两种猜想。
猜想一:导体的电阻随温度的升高而变大;
猜想二:导体的电阻随温度的升高而变小。
【探究过程】小玉按图2的装置将电池、灯泡和钨丝连接起来,点燃酒精灯对着钨丝加热,发现灯变暗;小明将钨丝换成铅笔芯,用酒精灯对着铅笔芯加热,发现灯泡变亮。
【解释】
(1)钨丝的电阻随温度的升高而
变大
,铅笔芯的电阻随温度的升高而变小
。(2)实验中发现:灯泡的亮度变化有时不明显,为使实验效果更明显,可以改进的方法是
在电路中串联一个电流表
。【交流】图3是一种防火警报器,这款警报器的触发装置以石墨为主材料,其原理是电路的电压不变,当有火烧到警报器的触发装置后,温度升高,石墨的电阻
变小
,通过触发装置的电流会变大
,从而发出警报。当没有电流通过时,石墨的电阻不为0
(选填“为$0$”或“不为$0$”)。
答案:
2.[解释]
(1)变大 变小
(2)在电路中串联一个电流表
[交流]变小 变大 不为0
(1)变大 变小
(2)在电路中串联一个电流表
[交流]变小 变大 不为0
查看更多完整答案,请扫码查看