第55页
- 第4页
- 第5页
- 第6页
- 第7页
- 第8页
- 第9页
- 第10页
- 第11页
- 第12页
- 第13页
- 第14页
- 第15页
- 第16页
- 第17页
- 第18页
- 第19页
- 第20页
- 第21页
- 第22页
- 第23页
- 第24页
- 第25页
- 第26页
- 第27页
- 第28页
- 第29页
- 第30页
- 第31页
- 第32页
- 第33页
- 第34页
- 第35页
- 第36页
- 第37页
- 第38页
- 第39页
- 第40页
- 第41页
- 第42页
- 第43页
- 第44页
- 第45页
- 第46页
- 第47页
- 第48页
- 第49页
- 第50页
- 第51页
- 第52页
- 第53页
- 第54页
- 第55页
- 第56页
- 第57页
- 第58页
- 第59页
- 第60页
- 第61页
- 第62页
- 第63页
- 第64页
- 第65页
- 第66页
- 第67页
- 第68页
- 第69页
- 第70页
- 第71页
- 第72页
- 第73页
- 第74页
- 第75页
- 第76页
- 第77页
- 第78页
- 第79页
- 第80页
- 第81页
- 第82页
- 第83页
- 第84页
- 第85页
- 第86页
- 第87页
- 第88页
- 第89页
- 第90页
- 第91页
- 第92页
- 第93页
- 第94页
- 第95页
- 第96页
- 第97页
- 第98页
- 第99页
- 第100页
- 第101页
- 第102页
- 第103页
- 第104页
- 第105页
- 第106页
- 第107页
- 第108页
- 第109页
- 第110页
- 第111页
- 第112页
- 第113页
- 第114页
- 第115页
- 第116页
- 第117页
- 第118页
- 第119页
- 第120页
- 第121页
- 第122页
- 第123页
- 第124页
- 第125页
- 第126页
- 第127页
- 第128页
- 第129页
- 第130页
- 第131页
- 第132页
- 第133页
- 第134页
- 第135页
- 第136页
- 第137页
- 第138页
- 第139页
- 第140页
- 第141页
- 第142页
- 第143页
- 第144页
- 第145页
- 第146页
- 第147页
- 第148页
- 第149页
- 第150页
- 第151页
- 第152页
- 第153页
- 第154页
- 第155页
- 第156页
- 第157页
- 第158页
- 第159页
知识点1 串联电路及其特点
(1)定义:把电路元件
(2)特点:电流只有
(3)开关的作用:开关控制整个电路,开关的位置不影响它的控制作用。
(1)定义:把电路元件
逐个顺次
连接起来的电路。(2)特点:电流只有
一
条路径,各用电器相互影响,不能
独立工作。(3)开关的作用:开关控制整个电路,开关的位置不影响它的控制作用。
答案:
(1)逐个顺次
(2)一 不能
(1)逐个顺次
(2)一 不能
知识点2 并联电路及其特点
(1)定义:把电路元件
(2)特点:电流有
(3)开关的作用:干路开关控制整个电路,支路开关控制所在支路。
(1)定义:把电路元件
并列
连接起来的电路。(2)特点:电流有
多
条路径,有干路和支路之分,各支路互不
影响,各支路用电器能
独立工作。(3)开关的作用:干路开关控制整个电路,支路开关控制所在支路。
答案:
(1)并列
(2)多 互不 能
(1)并列
(2)多 互不 能
知识点3 生活中的串、并联电路
家用电器之间可以独立工作,所以是
家用电器之间可以独立工作,所以是
并
联的;路灯虽然同时亮同时灭,但一个路灯坏了并不影响其他路灯工作,所以路灯是并
联的。
答案:
并 并
1. 如图所示的电路中,闭合开关S后,下列说法正确的是 (
A.灯L₁、L₂串联
B.灯L₁、L₂并联
C.把灯L₁取下后,灯L₂仍能正常发光
D.灯L₁的灯丝烧断后,灯L₂仍能正常发光

A
)A.灯L₁、L₂串联
B.灯L₁、L₂并联
C.把灯L₁取下后,灯L₂仍能正常发光
D.灯L₁的灯丝烧断后,灯L₂仍能正常发光
答案:
A
变式(一本原创)关于上题,判断下列说法的对错,正确的画“√”,错误的画“×”。
(1)灯L₁离电池近,开关闭合后,灯L₁将会先亮。 (
(2)电流从电源正极流出,将先经过灯L₂,开关闭合后,灯L₂将会先亮。 (
(3)交换开关S和灯L₂的位置,开关对电路的控制效果不改变。 (
(1)灯L₁离电池近,开关闭合后,灯L₁将会先亮。 (
×
)(2)电流从电源正极流出,将先经过灯L₂,开关闭合后,灯L₂将会先亮。 (
×
)(3)交换开关S和灯L₂的位置,开关对电路的控制效果不改变。 (
√
)
答案:
(1)×
(2)×
(3)√
(1)×
(2)×
(3)√
2. 关于串联和并联电路,下列说法正确的是 (
A.控制灯泡的开关和灯泡是并联的
B.教室里照明用的日光灯是并联的
C.南滨路人行道两旁的路灯是串联的
D.电吹风机的电热丝与电动机是串联的
B
)A.控制灯泡的开关和灯泡是并联的
B.教室里照明用的日光灯是并联的
C.南滨路人行道两旁的路灯是串联的
D.电吹风机的电热丝与电动机是串联的
答案:
B
变式根据你对交通指示灯的了解,下列说法正确的是 (
A.红、黄、绿灯都是串联的
B.红灯与黄灯串联后再与绿灯并联
C.红灯与黄灯并联后再与绿灯串联
D.红、黄、绿灯都是并联的
D
)A.红、黄、绿灯都是串联的
B.红灯与黄灯串联后再与绿灯并联
C.红灯与黄灯并联后再与绿灯串联
D.红、黄、绿灯都是并联的
答案:
D
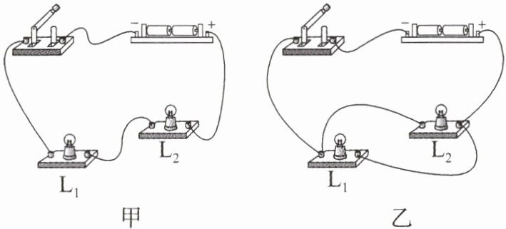
3. 如图所示,将两只灯泡分别接在甲、乙两个电路中,以下说法正确的是 (
A.在甲电路中,开关闭合后,用导线直接连接灯泡L₁的两个接线柱,灯泡L₁、L₂不发光
B.在甲电路中,开关闭合后,两灯泡都发光时,取下灯泡L₁,灯泡L₂不会熄灭
C.在乙电路中,开关闭合后,用导线直接连接灯泡L₁的两个接线柱,灯泡L₁不发光,灯泡L₂发光
D.在乙电路中,开关闭合后,两灯泡都发光时,取下灯泡L₁,灯泡L₂不会熄灭

D
)A.在甲电路中,开关闭合后,用导线直接连接灯泡L₁的两个接线柱,灯泡L₁、L₂不发光
B.在甲电路中,开关闭合后,两灯泡都发光时,取下灯泡L₁,灯泡L₂不会熄灭
C.在乙电路中,开关闭合后,用导线直接连接灯泡L₁的两个接线柱,灯泡L₁不发光,灯泡L₂发光
D.在乙电路中,开关闭合后,两灯泡都发光时,取下灯泡L₁,灯泡L₂不会熄灭
答案:
D
查看更多完整答案,请扫码查看