第134页
- 第1页
- 第2页
- 第3页
- 第4页
- 第5页
- 第6页
- 第7页
- 第8页
- 第9页
- 第10页
- 第11页
- 第12页
- 第13页
- 第14页
- 第15页
- 第16页
- 第17页
- 第18页
- 第19页
- 第20页
- 第21页
- 第22页
- 第23页
- 第24页
- 第25页
- 第26页
- 第27页
- 第28页
- 第29页
- 第30页
- 第31页
- 第32页
- 第33页
- 第34页
- 第35页
- 第36页
- 第37页
- 第38页
- 第39页
- 第40页
- 第41页
- 第42页
- 第43页
- 第44页
- 第45页
- 第46页
- 第47页
- 第48页
- 第49页
- 第50页
- 第51页
- 第52页
- 第53页
- 第54页
- 第55页
- 第56页
- 第57页
- 第58页
- 第59页
- 第60页
- 第61页
- 第62页
- 第63页
- 第64页
- 第65页
- 第66页
- 第67页
- 第68页
- 第69页
- 第70页
- 第71页
- 第72页
- 第73页
- 第74页
- 第75页
- 第76页
- 第77页
- 第78页
- 第79页
- 第80页
- 第81页
- 第82页
- 第83页
- 第84页
- 第85页
- 第86页
- 第87页
- 第88页
- 第89页
- 第90页
- 第91页
- 第92页
- 第93页
- 第94页
- 第95页
- 第96页
- 第97页
- 第98页
- 第99页
- 第100页
- 第101页
- 第102页
- 第103页
- 第104页
- 第105页
- 第106页
- 第107页
- 第108页
- 第109页
- 第110页
- 第111页
- 第112页
- 第113页
- 第114页
- 第115页
- 第116页
- 第117页
- 第118页
- 第119页
- 第120页
- 第121页
- 第122页
- 第123页
- 第124页
- 第125页
- 第126页
- 第127页
- 第128页
- 第129页
- 第130页
- 第131页
- 第132页
- 第133页
- 第134页
- 第135页
- 第136页
- 第137页
- 第138页
- 第139页
- 第140页
- 第141页
- 第142页
- 第143页
9. 甲、乙两电阻的电流与电压的关系如图所示,由图可知,通过同一电阻的电流与它两端的电压成______(选填“正比”或“反比”),阻值R甲______(选填“>”“=”或“<”)R乙。

答案:
正比 <
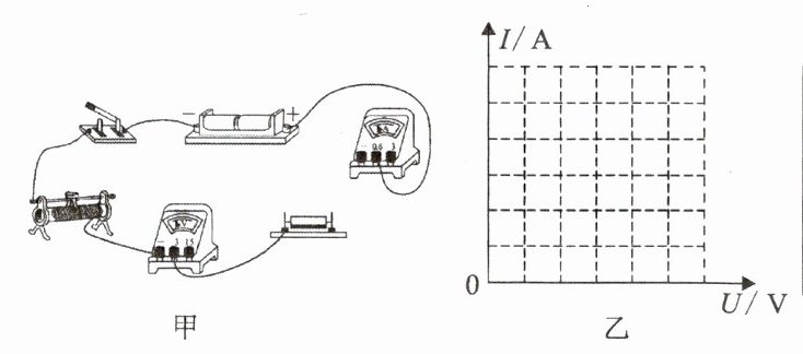
10. 某同学利用如图甲所示的器材做“探究电阻一定时电流与电压的关系”实验,得到的实验数据如表所示。

甲

乙
| 序号 | 1 | 2 | 3 | 4 | 5 | 6 |
| 电压U/V | 0.3 | 0.6 | 0.9 | 1.2 | 1.5 | 1.8 |
| 电流I/A | 0.08 | 0.15 | 0.28 | 0.30 | 0.38 | 0.45 |
(1)图甲电路中,还有两根导线没有连接,请将电路连接完整。(要求:导线不允许交叉。)
(2)为分析电流与电压的定量关系,请在图乙的方格中制定其标度,将表中数据在坐标系中描点。从图像中可以看出,电流为______A的这组数据明显是错误的,分析时需要把它剔除。
甲
乙
| 序号 | 1 | 2 | 3 | 4 | 5 | 6 |
| 电压U/V | 0.3 | 0.6 | 0.9 | 1.2 | 1.5 | 1.8 |
| 电流I/A | 0.08 | 0.15 | 0.28 | 0.30 | 0.38 | 0.45 |
(1)图甲电路中,还有两根导线没有连接,请将电路连接完整。(要求:导线不允许交叉。)
(2)为分析电流与电压的定量关系,请在图乙的方格中制定其标度,将表中数据在坐标系中描点。从图像中可以看出,电流为______A的这组数据明显是错误的,分析时需要把它剔除。
答案:
(1)图略
(2)图略 0.28
(1)图略
(2)图略 0.28
11. 图甲是小伟做“探究电压一定时电流与电阻的关系”实验的电路图,图乙是他根据实验数据描绘出的I-R关系图像。由图像可知:当电压一定时,电流与电阻成______(选填“正比”或“反比”);当通过导体的电流为0.5 A时,导体的电阻是______Ω;在本实验中,滑动变阻器的作用是______和______。

甲
乙
甲
乙
答案:
反比 5 保护电路 控制定值电阻两端的电压不变
12. 小明同学在做“探究电阻一定时电流与电压的关系”实验时,准备了以下器材:新干电池两节,电流表、电压表、滑动变阻器(20 Ω 2 A)、定值电阻(5 Ω)、开关各一个,导线若干。
(1)用笔画线代替导线,将图甲中的实物图连接完整。

甲
乙
(2)连接电路,闭合开关前,滑动变阻器滑片P应处于______(选填“A”或“B”)端。
(3)闭合开关,发现电流表无示数,电压表指针有明显偏转,原因可能是______。
(4)实验过程中,要使电压表示数逐渐变大,滑动变阻器滑片P应向______(选填“左”或“右”)移动。
(5)实验过程中,电流表的示数如图乙所示,此时电路中的电流为______A。
(1)用笔画线代替导线,将图甲中的实物图连接完整。
甲
乙
(2)连接电路,闭合开关前,滑动变阻器滑片P应处于______(选填“A”或“B”)端。
(3)闭合开关,发现电流表无示数,电压表指针有明显偏转,原因可能是______。
(4)实验过程中,要使电压表示数逐渐变大,滑动变阻器滑片P应向______(选填“左”或“右”)移动。
(5)实验过程中,电流表的示数如图乙所示,此时电路中的电流为______A。
答案:
(1)图略
(2)B
(3)R 断路
(4)左
(5)0.3
(1)图略
(2)B
(3)R 断路
(4)左
(5)0.3
查看更多完整答案,请扫码查看