第89页
- 第1页
- 第2页
- 第3页
- 第4页
- 第5页
- 第6页
- 第7页
- 第8页
- 第9页
- 第10页
- 第11页
- 第12页
- 第13页
- 第14页
- 第15页
- 第16页
- 第17页
- 第18页
- 第19页
- 第20页
- 第21页
- 第22页
- 第23页
- 第24页
- 第25页
- 第26页
- 第27页
- 第28页
- 第29页
- 第30页
- 第31页
- 第32页
- 第33页
- 第34页
- 第35页
- 第36页
- 第37页
- 第38页
- 第39页
- 第40页
- 第41页
- 第42页
- 第43页
- 第44页
- 第45页
- 第46页
- 第47页
- 第48页
- 第49页
- 第50页
- 第51页
- 第52页
- 第53页
- 第54页
- 第55页
- 第56页
- 第57页
- 第58页
- 第59页
- 第60页
- 第61页
- 第62页
- 第63页
- 第64页
- 第65页
- 第66页
- 第67页
- 第68页
- 第69页
- 第70页
- 第71页
- 第72页
- 第73页
- 第74页
- 第75页
- 第76页
- 第77页
- 第78页
- 第79页
- 第80页
- 第81页
- 第82页
- 第83页
- 第84页
- 第85页
- 第86页
- 第87页
- 第88页
- 第89页
- 第90页
- 第91页
- 第92页
- 第93页
- 第94页
- 第95页
- 第96页
- 第97页
- 第98页
- 第99页
- 第100页
- 第101页
- 第102页
一、电 阻
1. 关于导体的电阻,下列说法不正确的是 ()
A. 导体能够导电,但它对电流仍有阻碍作用
B. 导体的电阻由它两端的电压和通过的电流决定
C. 导体的电阻越大,说明它对电流的阻碍作用越大
D. 相同条件下,铜导线比铁导线的导电性能好,说明导体的电阻与材料有关
2. (2024 南通如东期中)如图 14-1-1 所示是小明学完电阻一节后描绘的思维导图,图中①②③处填写正确的是 ()

A. ①电流、③电压
B. ①电流、②伏特
C. ②欧姆、③长短
D. ①电压、③温度
3. (2024 南京雨花台区校级模拟)芯片是指含有集成电路的硅片,制造芯片的主要材料是 ()
A. 超导材料
B. 半导体材料
C. 磁性材料
D. 绝缘材料
4. 电压表的电阻很大,一般在几千欧到几十千欧,某电压表的电阻为 12 kΩ= ____Ω。人体电阻约 1500 Ω= ____MΩ。
5. (教材变式题)金属、人体、大地、铅笔芯等易导电,是____体。空气、塑料、橡胶等不易导电,是____体。硅、锗等材料的导电性能介于导体和绝缘体之间,称为____体。
6. 导体和绝缘体之间没有绝对的界限,在一定条件下可以相互转化。常温下的玻璃是____,而炽热状态下的玻璃是____。
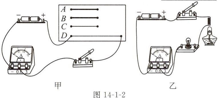
7. 在“探究影响电阻大小的因素”实验中,同学们作出了如下猜想:
①导体的电阻与导体的长度有关;
②导体的电阻与导体的横截面积有关;
③导体的电阻与导体的材料有关;
④导体的电阻与导体的温度有关。
实验中使用的 4 根合金丝,其规格、材料如下表所示。

(1)如图 14-1-2 甲所示,实验中通过比较____来比较导体电阻的大小,此过程用到的研究方法是____。

(2)分别将____(填编号)两根合金丝接入电路,可初步探究出的结论是:温度一定,导体的材料、长度相同时,导体的横截面积越小,导体的电阻越大。
(3)分别将 C、D 两根合金丝接入电路,可初步探究出的结论是____。
(4)要探究猜想③是否正确,可分别将____(填编号)两根合金丝接入电路。
(5)为了进一步探究电阻是否受温度的影响,同学们设计了如图乙所示电路。接通电路后,用酒精灯给合金丝缓慢加热,观察加热前后电流表的示数,发现加热后示数变小了,由此现象可得出结论:____。
8. 如图 14-1-3 所示,AB、BC 是由同种材料制成的长度相同、横截面积不同的两段导体,将它们串联后连入电路中,比较这两段导体的电阻及通过它们的电流大小为 ()
A. $ R_{AB} > R_{BC} $, $ I_{AB} < I_{BC} $
B. $ R_{AB} < R_{BC} $, $ I_{AB} = I_{BC} $
C. $ R_{AB} > R_{BC} $, $ I_{AB} = I_{BC} $
D. $ R_{AB} = R_{BC} $, $ I_{AB} < I_{BC} $
9. [教材素材题](2024 泰州姜堰区期末)小明用如图 14-1-4 所示的电路,探究影响金属丝电阻大小的因素,他手边除了电路中的器材外,还有一根金属丝,则 ()
A. 只能探究电阻与金属丝的长度的关系
B. 只能探究电阻与金属丝横截面积的关系
C. 电阻与金属丝长度、横截面积的关系都能探究
D. 电阻与金属丝长度、横截面积和材料的关系都能探究
10. (2024 南通海门市校级模拟)同种材料制成的两根导线,$ R_1 = 5 \Omega $, $ R_2 = 20 \Omega $,若它们长度相同,则导线的横截面积 $ S_1 $____$ S_2 $,若它们的横截面积相同,则导线的长度 $ L_1 $____$ L_2 $。(均选填“>”“=”或“<”)
11. 小侨要探究影响电阻大小的因素:

(1)小侨设计了如图 14-1-5 甲、乙所示两种电路,在 M、N 两点间分别接入不同的导体进行测量,你认为图____(选填“甲”或“乙”)电路更合理。
(2)小侨选择更合理的方案进行实验,下表是她的实验数据记录表,为了研究导体电阻与材料的关系,应该比较____三次实验数据。

(3)为了研究导体电阻和长度的关系,小侨从已有的四根导体中任选一根,进行以下三种操作,你认为可行的是____。
A. 分别将导体的 $ \frac{1}{4} $、$ \frac{1}{2} $、$ \frac{3}{4} $和全部长度接入电路测量电流
B. 先将整根导体接入电路测量电流,再将导体拉长接入电路测量电流
C. 先将整根导体接入电路测量电流,再将导体对折接入电路测量电流
12. [科学思维]某物理兴趣小组学习了导体电阻的知识后,对食盐水溶液的导电性能与什么因素有关进行了探究,他们设计了如图 14-1-6(a)所示的装置,将电路中的 a、b 两金属片分别插入图(b)甲、乙溶液中所示的位置进行探究:

(1)根据图示过程请你写出他们探究的问题:____?
(2)食盐水溶液的导电性能可以由____来判断。


1. 关于导体的电阻,下列说法不正确的是 ()
A. 导体能够导电,但它对电流仍有阻碍作用
B. 导体的电阻由它两端的电压和通过的电流决定
C. 导体的电阻越大,说明它对电流的阻碍作用越大
D. 相同条件下,铜导线比铁导线的导电性能好,说明导体的电阻与材料有关
2. (2024 南通如东期中)如图 14-1-1 所示是小明学完电阻一节后描绘的思维导图,图中①②③处填写正确的是 ()
A. ①电流、③电压
B. ①电流、②伏特
C. ②欧姆、③长短
D. ①电压、③温度
3. (2024 南京雨花台区校级模拟)芯片是指含有集成电路的硅片,制造芯片的主要材料是 ()
A. 超导材料
B. 半导体材料
C. 磁性材料
D. 绝缘材料
4. 电压表的电阻很大,一般在几千欧到几十千欧,某电压表的电阻为 12 kΩ= ____Ω。人体电阻约 1500 Ω= ____MΩ。
5. (教材变式题)金属、人体、大地、铅笔芯等易导电,是____体。空气、塑料、橡胶等不易导电,是____体。硅、锗等材料的导电性能介于导体和绝缘体之间,称为____体。
6. 导体和绝缘体之间没有绝对的界限,在一定条件下可以相互转化。常温下的玻璃是____,而炽热状态下的玻璃是____。
7. 在“探究影响电阻大小的因素”实验中,同学们作出了如下猜想:
①导体的电阻与导体的长度有关;
②导体的电阻与导体的横截面积有关;
③导体的电阻与导体的材料有关;
④导体的电阻与导体的温度有关。
实验中使用的 4 根合金丝,其规格、材料如下表所示。
(1)如图 14-1-2 甲所示,实验中通过比较____来比较导体电阻的大小,此过程用到的研究方法是____。
(2)分别将____(填编号)两根合金丝接入电路,可初步探究出的结论是:温度一定,导体的材料、长度相同时,导体的横截面积越小,导体的电阻越大。
(3)分别将 C、D 两根合金丝接入电路,可初步探究出的结论是____。
(4)要探究猜想③是否正确,可分别将____(填编号)两根合金丝接入电路。
(5)为了进一步探究电阻是否受温度的影响,同学们设计了如图乙所示电路。接通电路后,用酒精灯给合金丝缓慢加热,观察加热前后电流表的示数,发现加热后示数变小了,由此现象可得出结论:____。
8. 如图 14-1-3 所示,AB、BC 是由同种材料制成的长度相同、横截面积不同的两段导体,将它们串联后连入电路中,比较这两段导体的电阻及通过它们的电流大小为 ()
A. $ R_{AB} > R_{BC} $, $ I_{AB} < I_{BC} $
B. $ R_{AB} < R_{BC} $, $ I_{AB} = I_{BC} $
C. $ R_{AB} > R_{BC} $, $ I_{AB} = I_{BC} $
D. $ R_{AB} = R_{BC} $, $ I_{AB} < I_{BC} $
9. [教材素材题](2024 泰州姜堰区期末)小明用如图 14-1-4 所示的电路,探究影响金属丝电阻大小的因素,他手边除了电路中的器材外,还有一根金属丝,则 ()
A. 只能探究电阻与金属丝的长度的关系
B. 只能探究电阻与金属丝横截面积的关系
C. 电阻与金属丝长度、横截面积的关系都能探究
D. 电阻与金属丝长度、横截面积和材料的关系都能探究
10. (2024 南通海门市校级模拟)同种材料制成的两根导线,$ R_1 = 5 \Omega $, $ R_2 = 20 \Omega $,若它们长度相同,则导线的横截面积 $ S_1 $____$ S_2 $,若它们的横截面积相同,则导线的长度 $ L_1 $____$ L_2 $。(均选填“>”“=”或“<”)
11. 小侨要探究影响电阻大小的因素:
(1)小侨设计了如图 14-1-5 甲、乙所示两种电路,在 M、N 两点间分别接入不同的导体进行测量,你认为图____(选填“甲”或“乙”)电路更合理。
(2)小侨选择更合理的方案进行实验,下表是她的实验数据记录表,为了研究导体电阻与材料的关系,应该比较____三次实验数据。
(3)为了研究导体电阻和长度的关系,小侨从已有的四根导体中任选一根,进行以下三种操作,你认为可行的是____。
A. 分别将导体的 $ \frac{1}{4} $、$ \frac{1}{2} $、$ \frac{3}{4} $和全部长度接入电路测量电流
B. 先将整根导体接入电路测量电流,再将导体拉长接入电路测量电流
C. 先将整根导体接入电路测量电流,再将导体对折接入电路测量电流
12. [科学思维]某物理兴趣小组学习了导体电阻的知识后,对食盐水溶液的导电性能与什么因素有关进行了探究,他们设计了如图 14-1-6(a)所示的装置,将电路中的 a、b 两金属片分别插入图(b)甲、乙溶液中所示的位置进行探究:
(1)根据图示过程请你写出他们探究的问题:____?
(2)食盐水溶液的导电性能可以由____来判断。
答案:
B
查看更多完整答案,请扫码查看