第77页
- 第1页
- 第2页
- 第3页
- 第4页
- 第5页
- 第6页
- 第7页
- 第8页
- 第9页
- 第10页
- 第11页
- 第12页
- 第13页
- 第14页
- 第15页
- 第16页
- 第17页
- 第18页
- 第19页
- 第20页
- 第21页
- 第22页
- 第23页
- 第24页
- 第25页
- 第26页
- 第27页
- 第28页
- 第29页
- 第30页
- 第31页
- 第32页
- 第33页
- 第34页
- 第35页
- 第36页
- 第37页
- 第38页
- 第39页
- 第40页
- 第41页
- 第42页
- 第43页
- 第44页
- 第45页
- 第46页
- 第47页
- 第48页
- 第49页
- 第50页
- 第51页
- 第52页
- 第53页
- 第54页
- 第55页
- 第56页
- 第57页
- 第58页
- 第59页
- 第60页
- 第61页
- 第62页
- 第63页
- 第64页
- 第65页
- 第66页
- 第67页
- 第68页
- 第69页
- 第70页
- 第71页
- 第72页
- 第73页
- 第74页
- 第75页
- 第76页
- 第77页
- 第78页
- 第79页
- 第80页
- 第81页
- 第82页
- 第83页
- 第84页
- 第85页
- 第86页
- 第87页
- 第88页
- 第89页
- 第90页
- 第91页
- 第92页
- 第93页
- 第94页
- 第95页
- 第96页
- 第97页
- 第98页
- 第99页
- 第100页
- 第101页
- 第102页
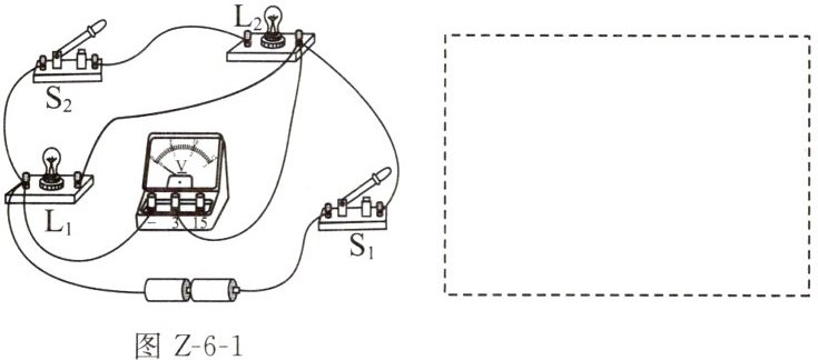
1. 如图 Z-6-1 所示是小亮连接的实物电路,请你根据实物图在虚线框内画出相对应的电路图。

答案:
如图所示
如图所示
2. 如图 Z-6-2 所示是小红连接的实物电路,请你根据实物图在虚线框内画出相对应的电路图。

答案:
如图所示
如图所示
3. 根据如图 Z-6-3 所示实物图在虚线框内画出相对应的电路图。

答案:
如图所示
如图所示
4. (2023 苏州高新区期中)根据如图 Z-6-4 所示实物图在虚线框内画出对应的电路图。

答案:
如图所示
如图所示
5. 如图 Z-6-5 所示是小明连接的实物电路,请你根据实物图在虚线框内画出相对应的电路图。

答案:
如图所示
如图所示
6. 根据如图 Z-6-6 甲所示电路图,用笔画线代替导线,将图乙中的实物元件连接起来。(连线不许交叉)

答案:
如图所示
如图所示
7. (2024 南京玄武区期中)根据图 Z-6-7 甲所示的电路图用笔画线代替导线,将图乙中实物电路补充完整。(要求导线不能交叉)

答案:
【解析】:根据电路图可知,两灯泡并联,电流表测干路电流。从电源正极出发,先连接开关$S_{1}$,然后分两条支路,一条支路连接灯泡$L_{1}$,另一条支路连接开关$S_{2}$和灯泡$L_{2}$,最后汇合到电流表,回到电源负极。
【答案】:按照上述连接方法连接实物电路(由于无法直接绘制实物连接图,可根据上述思路进行连接,注意导线不交叉,电流表量程选择等)。
【答案】:按照上述连接方法连接实物电路(由于无法直接绘制实物连接图,可根据上述思路进行连接,注意导线不交叉,电流表量程选择等)。
查看更多完整答案,请扫码查看