第63页
- 第1页
- 第2页
- 第3页
- 第4页
- 第5页
- 第6页
- 第7页
- 第8页
- 第9页
- 第10页
- 第11页
- 第12页
- 第13页
- 第14页
- 第15页
- 第16页
- 第17页
- 第18页
- 第19页
- 第20页
- 第21页
- 第22页
- 第23页
- 第24页
- 第25页
- 第26页
- 第27页
- 第28页
- 第29页
- 第30页
- 第31页
- 第32页
- 第33页
- 第34页
- 第35页
- 第36页
- 第37页
- 第38页
- 第39页
- 第40页
- 第41页
- 第42页
- 第43页
- 第44页
- 第45页
- 第46页
- 第47页
- 第48页
- 第49页
- 第50页
- 第51页
- 第52页
- 第53页
- 第54页
- 第55页
- 第56页
- 第57页
- 第58页
- 第59页
- 第60页
- 第61页
- 第62页
- 第63页
- 第64页
- 第65页
- 第66页
- 第67页
- 第68页
- 第69页
- 第70页
- 第71页
- 第72页
- 第73页
- 第74页
- 第75页
- 第76页
- 第77页
- 第78页
- 第79页
- 第80页
- 第81页
- 第82页
- 第83页
- 第84页
- 第85页
- 第86页
- 第87页
- 第88页
- 第89页
- 第90页
- 第91页
- 第92页
- 第93页
- 第94页
- 第95页
- 第96页
- 第97页
- 第98页
1. 根据如图甲所示的电路图,将图乙中的实物准确连接。

答案:
如图所示
如图所示
2. 请你对照图甲的电路,用笔画线代替导线把图乙的实物连接起来。

答案:
如图所示
如图所示
3. 根据电路图,用笔画线代替导线连接实物图。

答案:
如图所示
如图所示
4. [2025·肇庆期中]根据左边的实物图,把相应的电路图画在方框内。

答案:
如图所示
如图所示
5. 根据所给出的实物电路,在虚线框内画出相应的电路图。

答案:
如图所示
如图所示
6. [2025·无锡月考]为了方便夜间开门锁,有人发明了“感应照明门把手”,它利用感应开关$S_{1}$(人触摸把手,$S_{1}$闭合,不触碰则断开)和光敏开关$S_{2}$(白天断开,晚上闭合)来自动控制电路,以达到只有夜间有人开门触摸把手时,锁孔旁的灯才会发亮进行照明的目的,请根据设计要求完成实物图的连接。

答案:
如图所示
如图所示
7. 某保密室有三道门,关上一道门相当于闭合一个开关。只要有一道门没有关上,红灯和绿灯都会发光。当三道门都关上时,红灯会熄灭,只有绿灯会发光。请用笔画线将实物连接成符合要求的电路。(要求:连线不能交叉)

答案:
如图所示
8. 如图所示
如图所示
8. 如图所示
8. 某科技小组为医院病房设计呼叫电路,在病人需要护理时,闭合床头开关$S_{1}或S_{2}$,值班室的护士就能听到电铃响起,及时看到对应的灯$L_{1}或L_{2}$亮。请用笔画线代替导线在图中连接符合设计要求的电路图。

答案:
如图所示
如图所示
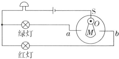
9. 某船上装有平衡警示电路,其中S为重力开关,金属片M可绕O点自由转动。当船水平时,M在a、b中间;当船左倾到一定程度时,绿灯亮、电铃响;当船右倾到一定程度时,红灯亮、电铃响。请完成电路图。

答案:
如图所示
如图所示
查看更多完整答案,请扫码查看