2025年高考必刷小题高中物理人教版
注:目前有些书本章节名称可能整理的还不是很完善,但都是按照顺序排列的,请同学们按照顺序仔细查找。练习册 2025年高考必刷小题高中物理人教版 答案主要是用来给同学们做完题方便对答案用的,请勿直接抄袭。
第88页
- 第1页
- 第2页
- 第3页
- 第4页
- 第5页
- 第6页
- 第7页
- 第8页
- 第9页
- 第10页
- 第11页
- 第12页
- 第13页
- 第14页
- 第15页
- 第16页
- 第17页
- 第18页
- 第19页
- 第20页
- 第21页
- 第22页
- 第23页
- 第24页
- 第25页
- 第26页
- 第27页
- 第28页
- 第29页
- 第30页
- 第31页
- 第32页
- 第33页
- 第34页
- 第35页
- 第36页
- 第37页
- 第38页
- 第39页
- 第40页
- 第41页
- 第42页
- 第43页
- 第44页
- 第45页
- 第46页
- 第47页
- 第48页
- 第49页
- 第50页
- 第51页
- 第52页
- 第53页
- 第54页
- 第55页
- 第56页
- 第57页
- 第58页
- 第59页
- 第60页
- 第61页
- 第62页
- 第63页
- 第64页
- 第65页
- 第66页
- 第67页
- 第68页
- 第69页
- 第70页
- 第71页
- 第72页
- 第73页
- 第74页
- 第75页
- 第76页
- 第77页
- 第78页
- 第79页
- 第80页
- 第81页
- 第82页
- 第83页
- 第84页
- 第85页
- 第86页
- 第87页
- 第88页
- 第89页
- 第90页
- 第91页
- 第92页
- 第93页
- 第94页
- 第95页
- 第96页
- 第97页
- 第98页
- 第99页
- 第100页
- 第101页
- 第102页
- 第103页
- 第104页
- 第105页
- 第106页
- 第107页
- 第108页
- 第109页
- 第110页
- 第111页
- 第112页
- 第113页
- 第114页
- 第115页
- 第116页
- 第117页
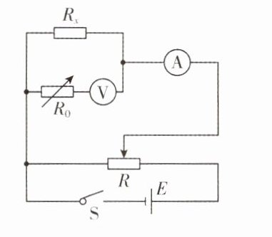
1. [河北唐山2025届摸底考]某实验小组要测量阻值约为90Ω的定值电阻$R_x$,为了精确测量该电阻阻值,实验室提供了如下实验器材:
A. 电压表V(量程为0~1 V,内阻$R_V$为1 500Ω);
B. 电流表$A_1$(量程为0~0.6 A,内阻$R_{A1}$约为0.5Ω);
C. 电流表$A_2$(量程为0~100 mA,内阻$R_{A2}$约为10Ω);
D. 滑动变阻器$R_1$(最大阻值为5Ω);
E. 滑动变阻器$R_2$(最大阻值为2 kΩ);
F. 电阻箱$R_0$(最大阻值为999.9Ω);
G. 电源(电动势3 V、内阻不计)、开关,导线若干.
(1)该小组同学分析实验器材、发现电压表的量程太小,需将该电压表改装成量程为0~3 V的电压表,应串联电阻箱$R_0$,并将$R_0$的阻值调为______Ω.
(2)实验时,通过调整测量方法消除测量方案中系统误差,设计的电路图如下,其中电流表选用_______,滑动变阻器选用_______(填写各器材前的字母代号).
(3)某次测量时,电压表与电流表的示数分别为$U、I$,则待测电阻的阻值$R_x$=_______(用已知物理量的字母表示).

A. 电压表V(量程为0~1 V,内阻$R_V$为1 500Ω);
B. 电流表$A_1$(量程为0~0.6 A,内阻$R_{A1}$约为0.5Ω);
C. 电流表$A_2$(量程为0~100 mA,内阻$R_{A2}$约为10Ω);
D. 滑动变阻器$R_1$(最大阻值为5Ω);
E. 滑动变阻器$R_2$(最大阻值为2 kΩ);
F. 电阻箱$R_0$(最大阻值为999.9Ω);
G. 电源(电动势3 V、内阻不计)、开关,导线若干.
(1)该小组同学分析实验器材、发现电压表的量程太小,需将该电压表改装成量程为0~3 V的电压表,应串联电阻箱$R_0$,并将$R_0$的阻值调为______Ω.
(2)实验时,通过调整测量方法消除测量方案中系统误差,设计的电路图如下,其中电流表选用_______,滑动变阻器选用_______(填写各器材前的字母代号).
(3)某次测量时,电压表与电流表的示数分别为$U、I$,则待测电阻的阻值$R_x$=_______(用已知物理量的字母表示).
答案:
(1) 3000.0
(2) C D
(3) $\frac{U(R_V + R_0)}{IR_V - U}$
(1) 3000.0
(2) C D
(3) $\frac{U(R_V + R_0)}{IR_V - U}$
2. [安徽六校2025届开学考]某同学利用半偏法测量量程为0~2 mA的电流表的内阻(小于100Ω),实验电路如图所示. 可供选择的器材有:

A. 电阻箱(最大阻值999.9Ω)
B. 电阻箱(最大阻值999.9Ω)
C. 直流电源E(电动势3 V)
D. 开关两个,导线若干
①按图正确连接线路;
②闭合开关$S_1$、断开开关$S_2$,调节电阻箱$R_1$,使电流表满偏;
③保持电阻箱$R_1$接入电路的电阻不变,再闭合开关$S_2$,调节电阻箱$R_2$使电流表示数为1 mA,记录电阻箱$R_2$的阻值.
(1)实验中电阻箱$R_1$应选择_______(填“A”或“B”).
(2)在步骤③中,若记录的电阻箱阻值$R_2$ = 75.0Ω,则可得到电流表的内阻为_______Ω;若考虑到在接入电阻箱$R_2$时,干路上电流发生的微小变化,则用该办法测出的电流表内阻的测量值_______真实值(填“小于”“等于”或“大于”).
(3)若将此电流表改装成量程为0~0.6 A的电流表,则应将电流表_______(填“串”或“并”)联一个阻值为_______Ω的电阻(保留两位有效数字).
A. 电阻箱(最大阻值999.9Ω)
B. 电阻箱(最大阻值999.9Ω)
C. 直流电源E(电动势3 V)
D. 开关两个,导线若干
①按图正确连接线路;
②闭合开关$S_1$、断开开关$S_2$,调节电阻箱$R_1$,使电流表满偏;
③保持电阻箱$R_1$接入电路的电阻不变,再闭合开关$S_2$,调节电阻箱$R_2$使电流表示数为1 mA,记录电阻箱$R_2$的阻值.
(1)实验中电阻箱$R_1$应选择_______(填“A”或“B”).
(2)在步骤③中,若记录的电阻箱阻值$R_2$ = 75.0Ω,则可得到电流表的内阻为_______Ω;若考虑到在接入电阻箱$R_2$时,干路上电流发生的微小变化,则用该办法测出的电流表内阻的测量值_______真实值(填“小于”“等于”或“大于”).
(3)若将此电流表改装成量程为0~0.6 A的电流表,则应将电流表_______(填“串”或“并”)联一个阻值为_______Ω的电阻(保留两位有效数字).
答案:
(1) A
(2) 75.0 小于
(3) 并 0.25
(1) A
(2) 75.0 小于
(3) 并 0.25
3. [河北沧州2025届月考]某同学要探究光敏电阻阻值随光照强度变化的规律,实验电路如图甲所示.

A. 待测光敏电阻$R_x$(日光下阻值约几千欧)
B. 标准电阻$R_1$(阻值为10Ω)
C. 标准电阻$R_2$(阻值为4Ω)
D. 灵敏电流计G(量程为0~300 μA,a端电势高于b端电势,电流计向左偏转,b端电势高于a端电势,电流计向右偏转)
E. 电阻箱$R_3$(0~9 999Ω)
F. 滑动变阻器(最大阻值为20Ω,允许通过的最大电流为2 A)
G. 电源(电动势3.0 V,内阻约为0.2Ω)
H. 开关,导线若干
(1)①开关闭合前,滑动变阻器滑片应置于_______(填“A”或“B”)端.
②多次调节滑动变阻器和电阻箱,使电流计指针稳定时指向中央零刻线位置. 电阻箱示数如图乙所示,电阻箱接入电路的阻值$R_3$ = _______Ω.

(2)待测光敏电阻$R_x$计算公式为_______(用$R_1,R_2,R_3$表示).
(3)该同学找到该光敏电阻的阻值与光照强度的关系图像如图丙所示,则上述实验中光照强度为_______cd.

(4)若保持电阻箱阻值不变,增大光照强度,则电流计指针_______(填“向左”或“向右”或“不”)偏转.
A. 待测光敏电阻$R_x$(日光下阻值约几千欧)
B. 标准电阻$R_1$(阻值为10Ω)
C. 标准电阻$R_2$(阻值为4Ω)
D. 灵敏电流计G(量程为0~300 μA,a端电势高于b端电势,电流计向左偏转,b端电势高于a端电势,电流计向右偏转)
E. 电阻箱$R_3$(0~9 999Ω)
F. 滑动变阻器(最大阻值为20Ω,允许通过的最大电流为2 A)
G. 电源(电动势3.0 V,内阻约为0.2Ω)
H. 开关,导线若干
(1)①开关闭合前,滑动变阻器滑片应置于_______(填“A”或“B”)端.
②多次调节滑动变阻器和电阻箱,使电流计指针稳定时指向中央零刻线位置. 电阻箱示数如图乙所示,电阻箱接入电路的阻值$R_3$ = _______Ω.
(2)待测光敏电阻$R_x$计算公式为_______(用$R_1,R_2,R_3$表示).
(3)该同学找到该光敏电阻的阻值与光照强度的关系图像如图丙所示,则上述实验中光照强度为_______cd.
(4)若保持电阻箱阻值不变,增大光照强度,则电流计指针_______(填“向左”或“向右”或“不”)偏转.
答案:
(1) ①A ②2400
(2) $R_x=\frac{R_3}{R_2}R_1$
(3) 2.0
(4) 向右
(1) ①A ②2400
(2) $R_x=\frac{R_3}{R_2}R_1$
(3) 2.0
(4) 向右
查看更多完整答案,请扫码查看