第34页
- 第1页
- 第2页
- 第3页
- 第4页
- 第5页
- 第6页
- 第7页
- 第8页
- 第9页
- 第10页
- 第11页
- 第12页
- 第13页
- 第14页
- 第15页
- 第16页
- 第17页
- 第18页
- 第19页
- 第20页
- 第21页
- 第22页
- 第23页
- 第24页
- 第25页
- 第26页
- 第27页
- 第28页
- 第29页
- 第30页
- 第31页
- 第32页
- 第33页
- 第34页
- 第35页
- 第36页
- 第37页
- 第38页
- 第39页
- 第40页
- 第41页
- 第42页
- 第43页
- 第44页
- 第45页
- 第46页
- 第47页
- 第48页
- 第49页
- 第50页
- 第51页
- 第52页
- 第53页
- 第54页
- 第55页
- 第56页
- 第57页
- 第58页
- 第59页
- 第60页
- 第61页
- 第62页
- 第63页
- 第64页
- 第65页
- 第66页
- 第67页
- 第68页
- 第69页
- 第70页
- 第71页
- 第72页
- 第73页
- 第74页
- 第75页
- 第76页
- 第77页
- 第78页
- 第79页
- 第80页
- 第81页
- 第82页
- 第83页
- 第84页
- 第85页
- 第86页
- 第87页
- 第88页
- 第89页
- 第90页
- 第91页
- 第92页
- 第93页
- 第94页
- 第95页
- 第96页
- 第97页
- 第98页
- 第99页
- 第100页
- 第101页
- 第102页
- 第103页
- 第104页
- 第105页
- 第106页
- 第107页
- 第108页
- 第109页
- 第110页
- 第111页
- 第112页
- 第113页
- 第114页
- 第115页
- 第116页
- 第117页
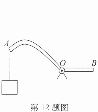
12. 如图所示,在杠杆$AB$上挂一个物体.为使杠杆平衡,请在杠杆上画出最小的动力$F及其力臂l$.

答案:
13. 如图所示,画出人站在地面上向下拉绳提升物体时滑轮组的绕线.

答案:
14. (2024·东台月考)小明在做“探究杠杆的平衡条件”实验中所用的实验器材有:杠杆、支架、弹簧测力计、刻度尺、细线和质量相同的钩码若干个.
(1)挂钩码前,杠杆在图甲所示的位置静止,此时杠杆处于
(2)如图乙所示,小明在$A点挂2个重力均为1N$的钩码,在$B$点用弹簧测力计竖直向下拉杠杆,使其在水平位置平衡,弹簧测力计的示数为
(3)小明竖直向下拉弹簧测力计,使杠杆从水平位置缓慢转过一定角度,如图丙所示,此过程中,弹簧测力计的示数
(4)实验结束后,小明提出了新的探究问题:“若支点不在杠杆的中点时,杠杆的平衡条件是否仍然成立?”于是小组同学利用如图丁所示装置进行探究,发现在杠杆左端的不同位置,用弹簧测力计竖直向上拉使杠杆处于水平平衡状态时,测出的拉力大小都与杠杆平衡条件不相符.其原因是
(1)挂钩码前,杠杆在图甲所示的位置静止,此时杠杆处于
平衡
(填“平衡”或“非平衡”)状态;要想使杠杆在水平位置平衡,接下来应将杠杆两端的螺母向左
(填“左”或“右”)侧调节.(2)如图乙所示,小明在$A点挂2个重力均为1N$的钩码,在$B$点用弹簧测力计竖直向下拉杠杆,使其在水平位置平衡,弹簧测力计的示数为
3
$N$,于是小明便得出了杠杆的平衡条件为$F_{1}l_{1}= F_{2}l_{2}$.小华认为他这样得出的结论是不合理的,原因是一次实验得出的结论具有偶然性
.(3)小明竖直向下拉弹簧测力计,使杠杆从水平位置缓慢转过一定角度,如图丙所示,此过程中,弹簧测力计的示数
不变
(填“变大”“变小”或“不变”).(4)实验结束后,小明提出了新的探究问题:“若支点不在杠杆的中点时,杠杆的平衡条件是否仍然成立?”于是小组同学利用如图丁所示装置进行探究,发现在杠杆左端的不同位置,用弹簧测力计竖直向上拉使杠杆处于水平平衡状态时,测出的拉力大小都与杠杆平衡条件不相符.其原因是
杠杆的重力对杠杆平衡有影响
.
答案:
(1)平衡 左
(2)3 一次实验得出的结论具有偶然性
(3)不变
(4)杠杆的重力对杠杆平衡有影响
(1)平衡 左
(2)3 一次实验得出的结论具有偶然性
(3)不变
(4)杠杆的重力对杠杆平衡有影响
15. 如图所示为一个看似悬浮的桌子,其中$A$为桌面部分,$B$为桌子的底架,这两部分之间仅靠竖直轻绳$CD和EF$相连.已知$A的总质量为3.2kg$且质量左右对称分布;$CD到A对称轴以及EF的距离分别为l_{1}= 20cm和l_{2}= 40cm$,则绳$CD$产生的拉力为
48
$N$.($g取10N/kg$)
答案:
48 【点拨】A 的重力 $ G = mg = 3.2kg × 10N/kg = 32N $;计算绳 CD 产生的拉力时,E 为支点,则此时的 A 的重力的力臂 $ l_A = l_1 + l_2 = 20cm + 40cm = 60cm $,绳 CD 拉力的力臂 $ l_{CD} = l_2 = 40cm $,根据杠杆的平衡条件可知:$ F_{CD}l_{CD} = Gl_A $,即 $ F_{CD} × 40cm = 32N × 60cm $,解得 $ F_{CD} = 48N $
查看更多完整答案,请扫码查看