第26页
- 第1页
- 第2页
- 第3页
- 第4页
- 第5页
- 第6页
- 第7页
- 第8页
- 第9页
- 第10页
- 第11页
- 第12页
- 第13页
- 第14页
- 第15页
- 第16页
- 第17页
- 第18页
- 第19页
- 第20页
- 第21页
- 第22页
- 第23页
- 第24页
- 第25页
- 第26页
- 第27页
- 第28页
- 第29页
- 第30页
- 第31页
- 第32页
- 第33页
- 第34页
- 第35页
- 第36页
- 第37页
- 第38页
- 第39页
- 第40页
- 第41页
- 第42页
- 第43页
- 第44页
- 第45页
- 第46页
- 第47页
- 第48页
- 第49页
- 第50页
- 第51页
- 第52页
- 第53页
- 第54页
- 第55页
- 第56页
- 第57页
- 第58页
- 第59页
- 第60页
- 第61页
- 第62页
- 第63页
- 第64页
- 第65页
- 第66页
- 第67页
- 第68页
- 第69页
- 第70页
- 第71页
- 第72页
- 第73页
- 第74页
- 第75页
- 第76页
- 第77页
- 第78页
- 第79页
- 第80页
- 第81页
- 第82页
- 第83页
- 第84页
- 第85页
- 第86页
- 第87页
- 第88页
- 第89页
- 第90页
- 第91页
- 第92页
- 第93页
- 第94页
- 第95页
- 第96页
- 第97页
- 第98页
- 第99页
- 第100页
- 第101页
- 第102页
- 第103页
- 第104页
- 第105页
- 第106页
- 第107页
- 第108页
- 第109页
- 第110页
- 第111页
- 第112页
- 第113页
- 第114页
- 第115页
- 第116页
- 第117页
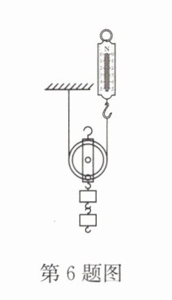
6. 在“探究动滑轮工作时的特点”活动中,小明用如图所示的动滑轮提升钩码,改变钩码的数量,在正确操作的情况下,测得的实验数据如表所示.
(1) 实验时,用手竖直向上
(2) 分析表中数据发现,使用动滑轮提升物体时,拉力不等于物体重力的一半,而是大于物体重力的一半,其主要原因是
(3) 第①次实验中,动滑轮的机械效率为
(4) 分析表中实验数据可知,同一动滑轮,所提升物重增大,机械效率将
(5) 若在第③次实验中,不小心使钩码多上升了1cm,但仍用表格中的数据进行计算,测得的机械效率将
(6) 在某一次测量中,弹簧测力计不是竖直向上拉,而是斜向上拉,其他条件不变,动滑轮的机械效率将

(1) 实验时,用手竖直向上
匀速
拉动弹簧测力计,读出弹簧测力计的示数.(2) 分析表中数据发现,使用动滑轮提升物体时,拉力不等于物体重力的一半,而是大于物体重力的一半,其主要原因是
动滑轮有重力
.(3) 第①次实验中,动滑轮的机械效率为
45.5%
(结果保留一位小数).(4) 分析表中实验数据可知,同一动滑轮,所提升物重增大,机械效率将
增大
(填“增大”“减小”或“不变”).(5) 若在第③次实验中,不小心使钩码多上升了1cm,但仍用表格中的数据进行计算,测得的机械效率将
不变
(填“变大”“变小”或“不变”).(6) 在某一次测量中,弹簧测力计不是竖直向上拉,而是斜向上拉,其他条件不变,动滑轮的机械效率将
变小
(填“变大”“变小”或“不变”).
答案:
6.
(1)匀速
(2)动滑轮有重力
(3)45.5%
(4)增大
(5)不变
(6)变小
(1)匀速
(2)动滑轮有重力
(3)45.5%
(4)增大
(5)不变
(6)变小
7. 如图所示,用下列装置提升同一重物,若每个滑轮重相同,不计摩擦,则机械效率最高的装置是 (
B
)
答案:
7.B
8. 如图所示,用相同的滑轮不同的绕法提起相同的重物,摩擦力和绳重忽略不计. 在物体匀速上升过程中,甲、乙两图的拉力及机械效率的大小关系为 (
A.$ F_{1} \lt F_{2} $, $ \eta_{1} \gt \eta_{2} $
B.$ F_{1} \lt F_{2} $, $ \eta_{1} = \eta_{2} $
C.$ F_{1} \gt F_{2} $, $ \eta_{1} \lt \eta_{2} $
D.$ F_{1} \gt F_{2} $, $ \eta_{1} = \eta_{2} $
B
)A.$ F_{1} \lt F_{2} $, $ \eta_{1} \gt \eta_{2} $
B.$ F_{1} \lt F_{2} $, $ \eta_{1} = \eta_{2} $
C.$ F_{1} \gt F_{2} $, $ \eta_{1} \lt \eta_{2} $
D.$ F_{1} \gt F_{2} $, $ \eta_{1} = \eta_{2} $
答案:
8.B
查看更多完整答案,请扫码查看