第33页
- 第1页
- 第2页
- 第3页
- 第4页
- 第5页
- 第6页
- 第7页
- 第8页
- 第9页
- 第10页
- 第11页
- 第12页
- 第13页
- 第14页
- 第15页
- 第16页
- 第17页
- 第18页
- 第19页
- 第20页
- 第21页
- 第22页
- 第23页
- 第24页
- 第25页
- 第26页
- 第27页
- 第28页
- 第29页
- 第30页
- 第31页
- 第32页
- 第33页
- 第34页
- 第35页
- 第36页
- 第37页
- 第38页
- 第39页
- 第40页
- 第41页
- 第42页
- 第43页
- 第44页
- 第45页
- 第46页
- 第47页
- 第48页
- 第49页
- 第50页
- 第51页
- 第52页
- 第53页
- 第54页
- 第55页
- 第56页
- 第57页
- 第58页
- 第59页
- 第60页
- 第61页
- 第62页
- 第63页
- 第64页
- 第65页
- 第66页
- 第67页
- 第68页
- 第69页
- 第70页
- 第71页
- 第72页
- 第73页
- 第74页
- 第75页
- 第76页
- 第77页
- 第78页
- 第79页
- 第80页
- 第81页
- 第82页
- 第83页
- 第84页
- 第85页
- 第86页
- 第87页
- 第88页
- 第89页
- 第90页
- 第91页
- 第92页
- 第93页
- 第94页
- 第95页
- 第96页
- 第97页
- 第98页
- 第99页
- 第100页
- 第101页
- 第102页
- 第103页
- 第104页
- 第105页
- 第106页
- 第107页
- 第108页
- 第109页
- 第110页
- 第111页
- 第112页
- 第113页
- 第114页
- 第115页
- 第116页
- 第117页
6. (2024·阜宁县月考)如图所示,用力将重为$120N的物体匀速提升0.2m$(不计动滑轮重、绳重和摩擦),则拉力$F= $
60
$N$,绳子自由端移动的距离$s= $0.4
$m$,若拉力$F'为70N$(不计绳重和摩擦),则动滑轮重为20
$N$.
答案:
60 0.4 20
7. (2024·大丰区期中)如图所示为一可绕$O$点转动的杠杆,在$A端通过绳作用一竖直向下的拉力F$使杠杆平衡,此时$AB$部分水平,此时$F$
不是
(填“是”“不是”或“不一定是”)最小的拉力.保持重物静止不动,使绳绕$A点从如图位置沿虚线CD$顺时针转动时,$F$先变小后变大
(填“变大”“变小”“不变”“先变大后变小”或“先变小后变大”,下同),$F$与其力臂的乘积不变
.
答案:
不是 先变小后变大 不变
8. (2024·滨海县模拟)图甲中均匀木板$AB重为8N$、长为$20cm$,恰好有一半伸出水平桌面静止,在$B端施加一个始终竖直向上的力F$,当$F= $

4
$N$时,木板中点$O$恰好离开桌面.缓缓抬起$B$端的过程中,$F$的力臂变小
.如图乙,若在$A端放一重为10N$、边长为$2cm的均匀物体M$,$M左端与木板A$端对齐,向右缓慢推动木板5
$cm$,$AB$恰好翻倒.
答案:
4 小 5
9. 如图所示,取两根光滑木棍,将绳子的一端系在其中一根木棍上,再按图示的绕法依次绕过两根木棍,缓慢拉动绳子,两根木棍靠拢.若想用更小的力也能让木棍靠拢,则下列说法中可行的是 (

A.将木棍的表面变得粗糙些
B.将绳子在木棍上多绕几圈
C.沿竖直方向匀速拉动绳子
D.缩短木棍的长度,使其质量变小
B
)A.将木棍的表面变得粗糙些
B.将绳子在木棍上多绕几圈
C.沿竖直方向匀速拉动绳子
D.缩短木棍的长度,使其质量变小
答案:
B
10. 如图所示,$AOB$为一杠杆,$O$为支点,杠杆自重不计,$AO= OB$,在杠杆右端$A处用细绳悬挂重为G$的物体,当$AO$段处于水平位置时,为保持杠杆平衡,需在$B端施加最小的力为F_{1}$;当$OB$段在水平位置时保持杠杆平衡,在$B端施加最小的力为F_{2}$,则 (

A.$F_{1}\lt F_{2}$
B.$F_{1}= F_{2}$
C.$F_{1}\gt F_{2}$
D.无法比较
C
)A.$F_{1}\lt F_{2}$
B.$F_{1}= F_{2}$
C.$F_{1}\gt F_{2}$
D.无法比较
答案:
C
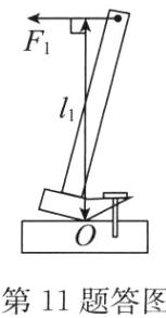
11. (2024·东台期末)如图所示,使用羊角锤拔钉子,请在图中画出动力$F_{1}的力臂l_{1}$.

答案:
查看更多完整答案,请扫码查看