第100页
- 第1页
- 第2页
- 第3页
- 第4页
- 第5页
- 第6页
- 第7页
- 第8页
- 第9页
- 第10页
- 第11页
- 第12页
- 第13页
- 第14页
- 第15页
- 第16页
- 第17页
- 第18页
- 第19页
- 第20页
- 第21页
- 第22页
- 第23页
- 第24页
- 第25页
- 第26页
- 第27页
- 第28页
- 第29页
- 第30页
- 第31页
- 第32页
- 第33页
- 第34页
- 第35页
- 第36页
- 第37页
- 第38页
- 第39页
- 第40页
- 第41页
- 第42页
- 第43页
- 第44页
- 第45页
- 第46页
- 第47页
- 第48页
- 第49页
- 第50页
- 第51页
- 第52页
- 第53页
- 第54页
- 第55页
- 第56页
- 第57页
- 第58页
- 第59页
- 第60页
- 第61页
- 第62页
- 第63页
- 第64页
- 第65页
- 第66页
- 第67页
- 第68页
- 第69页
- 第70页
- 第71页
- 第72页
- 第73页
- 第74页
- 第75页
- 第76页
- 第77页
- 第78页
- 第79页
- 第80页
- 第81页
- 第82页
- 第83页
- 第84页
- 第85页
- 第86页
- 第87页
- 第88页
- 第89页
- 第90页
- 第91页
- 第92页
- 第93页
- 第94页
- 第95页
- 第96页
- 第97页
- 第98页
- 第99页
- 第100页
- 第101页
- 第102页
- 第103页
- 第104页
- 第105页
- 第106页
- 第107页
- 第108页
- 第109页
- 第110页
- 第111页
- 第112页
- 第113页
- 第114页
- 第115页
- 第116页
- 第117页
- 第118页
- 第119页
- 第120页
- 第121页
- 第122页
- 第123页
- 第124页
- 第125页
- 第126页
- 第127页
- 第128页
- 第129页
- 第130页
- 第131页
- 第132页
- 第133页
- 第134页
- 第135页
- 第136页
- 第137页
- 第138页
- 第139页
- 第140页
- 第141页
- 第142页
- 第143页
- 第144页
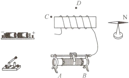
11. 小明准备做“探究通电螺线管外部磁场的方向”的实验。
(1)设计的部分电路如图所示,请根据要求用笔画线代替导线将图中的电路补充完整。要求:
①小磁针的指向满足如图所示的方向;
②滑动变阻器的滑片向A端移动时,通电螺线管的磁性减弱。
(2)在螺线管外部C、D两处放置小磁针,闭合开关,发现C处小磁针发生偏转,而D处小磁针不偏转,试说明D处小磁针不偏转的可能原因:______________________________。
(3)小磁针的作用(写出两条):______________,______________。
(4)将电池的正、负极对调,重复上述实验,是为了探究______________________________。
(1)设计的部分电路如图所示,请根据要求用笔画线代替导线将图中的电路补充完整。要求:
①小磁针的指向满足如图所示的方向;
②滑动变阻器的滑片向A端移动时,通电螺线管的磁性减弱。
(2)在螺线管外部C、D两处放置小磁针,闭合开关,发现C处小磁针发生偏转,而D处小磁针不偏转,试说明D处小磁针不偏转的可能原因:______________________________。
(3)小磁针的作用(写出两条):______________,______________。
(4)将电池的正、负极对调,重复上述实验,是为了探究______________________________。
答案:
(1)如图
(2)小磁针N极的指向与D处的磁场方向相同
(3)检验是否存在磁场 判断磁场方向
(4)通电螺线管外部磁场方向与电流方向的关系
(1)如图
(2)小磁针N极的指向与D处的磁场方向相同
(3)检验是否存在磁场 判断磁场方向
(4)通电螺线管外部磁场方向与电流方向的关系
12. 法国科学家阿尔贝·费尔和德国科学家彼得·格林贝格尔由于发现巨磁电阻(GMR)效应,荣获了2007年诺贝尔物理学奖,这一发现大大提高了磁、电之间信号转换的灵敏度。下图是说明巨磁电阻特性原理的示意图。
(1)只闭合开关S₂,指示灯不亮,再闭合开关S₁,指示灯发光。由此可知,巨磁电阻的大小与磁场________(选填“有关”或“无关”);S₁闭合时,通电螺线管的右端是________极。
(2)闭合S₁和S₂,把滑片P向左移动,电磁铁的磁场________(选填“增强”或“减弱”),观察到指示灯变得更亮。由此实验可得出结论:磁场越强,巨磁电阻的大小________(选填“越大”或“越小”)。

(1)只闭合开关S₂,指示灯不亮,再闭合开关S₁,指示灯发光。由此可知,巨磁电阻的大小与磁场________(选填“有关”或“无关”);S₁闭合时,通电螺线管的右端是________极。
(2)闭合S₁和S₂,把滑片P向左移动,电磁铁的磁场________(选填“增强”或“减弱”),观察到指示灯变得更亮。由此实验可得出结论:磁场越强,巨磁电阻的大小________(选填“越大”或“越小”)。
答案:
(1)有关 S
(2)增强 越小
(1)有关 S
(2)增强 越小
查看更多完整答案,请扫码查看