第66页
- 第1页
- 第2页
- 第3页
- 第4页
- 第5页
- 第6页
- 第7页
- 第8页
- 第9页
- 第10页
- 第11页
- 第12页
- 第13页
- 第14页
- 第15页
- 第16页
- 第17页
- 第18页
- 第19页
- 第20页
- 第21页
- 第22页
- 第23页
- 第24页
- 第25页
- 第26页
- 第27页
- 第28页
- 第29页
- 第30页
- 第31页
- 第32页
- 第33页
- 第34页
- 第35页
- 第36页
- 第37页
- 第38页
- 第39页
- 第40页
- 第41页
- 第42页
- 第43页
- 第44页
- 第45页
- 第46页
- 第47页
- 第48页
- 第49页
- 第50页
- 第51页
- 第52页
- 第53页
- 第54页
- 第55页
- 第56页
- 第57页
- 第58页
- 第59页
- 第60页
- 第61页
- 第62页
- 第63页
- 第64页
- 第65页
- 第66页
- 第67页
- 第68页
- 第69页
- 第70页
- 第71页
- 第72页
- 第73页
- 第74页
- 第75页
- 第76页
- 第77页
- 第78页
- 第79页
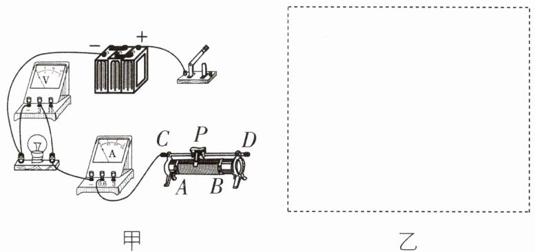
1 [2025江西南昌期中,中]小红同学要测量标有“2.5 V”字样小灯泡的电阻,电源电压恒为6V。
甲
乙

|实验次数|1|2|3|4|
|电压U/V|2.5|2.0|1.5|1.0|
|电流I/A|0.30|0.26|0.22|0.20|
|电阻R/Ω| |7.7|6.8|5.0|
(1)请用笔画线代替导线,将图甲的实物图连接完整,并在图乙的虚线框内画出与图甲相对应的电路图(要求滑动变阻器的滑片向右滑动时,小灯泡变亮,导线不允许交叉)。
(2)电路正确连接后,闭合开关,发现小灯泡不亮,电流表有示数,电压表无示数,出现这一故障的原因可能是______
(3)小红同学将测得的数据及计算结果填在表中,小灯泡正常发光时的电阻为______
(4)完成实验后,小红将小灯泡依次换成5Ω、10Ω、25Ω的定值电阻继续探究电流与电阻的关系。她将5Ω的电阻接入电路中,此时电压表示数为2.5V,接着保持滑动变阻器滑片的位置不变,把10Ω的电阻换接入电路,闭合开关,应向______
甲
乙
|实验次数|1|2|3|4|
|电压U/V|2.5|2.0|1.5|1.0|
|电流I/A|0.30|0.26|0.22|0.20|
|电阻R/Ω| |7.7|6.8|5.0|
(1)请用笔画线代替导线,将图甲的实物图连接完整,并在图乙的虚线框内画出与图甲相对应的电路图(要求滑动变阻器的滑片向右滑动时,小灯泡变亮,导线不允许交叉)。
(2)电路正确连接后,闭合开关,发现小灯泡不亮,电流表有示数,电压表无示数,出现这一故障的原因可能是______
小灯泡短路
。(3)小红同学将测得的数据及计算结果填在表中,小灯泡正常发光时的电阻为______
8.3
Ω(保留一位小数)。(4)完成实验后,小红将小灯泡依次换成5Ω、10Ω、25Ω的定值电阻继续探究电流与电阻的关系。她将5Ω的电阻接入电路中,此时电压表示数为2.5V,接着保持滑动变阻器滑片的位置不变,把10Ω的电阻换接入电路,闭合开关,应向______
A
(填“A”或“B”)端移动滑片;要完成该实验的所有数据,滑动变阻器的最大阻值至少是______35
Ω。
答案:
【解析】:
(1) 滑动变阻器要采取“一上一下”的连接方式,滑片向右移动时小灯泡变亮,电流增大,电阻减小,应接右下接线柱,电路图及其连接如图所示。
(2) 电路正确连接后,闭合开关,发现小灯泡不亮,电流表有示数,电压表无示数,出现这一故障的原因可能是小灯泡短路,相当于电压表测一段导线两端的电压。
(3) 由表格可知,小灯泡正常发光时的电压为2.5V,电流为0.30A,所以小灯泡正常发光时的电阻为$R=\frac{U}{I}=\frac{2.5V}{0.30A}\approx8.3\Omega$。
(4) 由图知,电阻两端的电压始终保持$U_V= 2.5V$,根据串联电路电压的规律,变阻器分得的电压:$U_{滑} = U - U_V= 6V - 2.5V = 3.5V$,变阻器分得的电压为电压表示数的1.4倍,根据分压原理,当接入25Ω电阻时,变阻器连入电路中的电阻为:$R_{滑}=1.4×25Ω=35Ω$,故为了完成整个实验,应该选取最大阻值至少35Ω的滑动变阻器。
【答案】:
(1) 图略 ;
(2) 小灯泡短路 ;
(3) 8.3 ;
(4) A;35。
(1) 滑动变阻器要采取“一上一下”的连接方式,滑片向右移动时小灯泡变亮,电流增大,电阻减小,应接右下接线柱,电路图及其连接如图所示。
(2) 电路正确连接后,闭合开关,发现小灯泡不亮,电流表有示数,电压表无示数,出现这一故障的原因可能是小灯泡短路,相当于电压表测一段导线两端的电压。
(3) 由表格可知,小灯泡正常发光时的电压为2.5V,电流为0.30A,所以小灯泡正常发光时的电阻为$R=\frac{U}{I}=\frac{2.5V}{0.30A}\approx8.3\Omega$。
(4) 由图知,电阻两端的电压始终保持$U_V= 2.5V$,根据串联电路电压的规律,变阻器分得的电压:$U_{滑} = U - U_V= 6V - 2.5V = 3.5V$,变阻器分得的电压为电压表示数的1.4倍,根据分压原理,当接入25Ω电阻时,变阻器连入电路中的电阻为:$R_{滑}=1.4×25Ω=35Ω$,故为了完成整个实验,应该选取最大阻值至少35Ω的滑动变阻器。
【答案】:
(1) 图略 ;
(2) 小灯泡短路 ;
(3) 8.3 ;
(4) A;35。
(1)该实验的原理是
(2)请用笔画线代替导线,将图1中的电路补充完整。(图略)
(3)若连接电路后,闭合开关S,发现无论怎样调节滑动变阻器的滑片,电流表和电压表的示数都不变且较小,出现这种现象的原因是
(4)若将滑动变阻器的下接线柱A端接入电路,正确连接电路后,闭合开关S,滑片P向
(5)在移动滑片P的过程中,应该观察
(6)当小灯泡正常发光时,电流表示数为0.25A,则小灯泡正常发光时的电阻是
(7)完成实验后,小组又设计了如图2所示的电路图,测量该小灯泡L正常发光时的电阻,$R_{0}$为定值电阻,$S_{2}$为单刀双掷开关,实验步骤如下:
①闭合开关$S_{1}$,将开关$S_{2}$拨到触点2,移动滑片P,使电压表的示数$U_{1}= $
②保持滑片P的位置不变,再将开关$S_{2}$拨到触点1,读出电压表的示数并记为$U_{2}$。
③该小灯泡正常发光时的电阻$R_{L}= $
$R = \frac{U}{I}$
。(2)请用笔画线代替导线,将图1中的电路补充完整。(图略)
(3)若连接电路后,闭合开关S,发现无论怎样调节滑动变阻器的滑片,电流表和电压表的示数都不变且较小,出现这种现象的原因是
将滑动变阻器下面两个接线柱接入了电路
。(4)若将滑动变阻器的下接线柱A端接入电路,正确连接电路后,闭合开关S,滑片P向
右
(填“左”或“右”)滑动时,小灯泡L变亮。(5)在移动滑片P的过程中,应该观察
电压
表的示数,使小灯泡L正常发光。(6)当小灯泡正常发光时,电流表示数为0.25A,则小灯泡正常发光时的电阻是
10
Ω。(7)完成实验后,小组又设计了如图2所示的电路图,测量该小灯泡L正常发光时的电阻,$R_{0}$为定值电阻,$S_{2}$为单刀双掷开关,实验步骤如下:
①闭合开关$S_{1}$,将开关$S_{2}$拨到触点2,移动滑片P,使电压表的示数$U_{1}= $
2.5
V。②保持滑片P的位置不变,再将开关$S_{2}$拨到触点1,读出电压表的示数并记为$U_{2}$。
③该小灯泡正常发光时的电阻$R_{L}= $
$\frac{U_{1}R_{0}}{U_{2}-U_{1}}$
(用$U_{1}$、$U_{2}$、$R_{0}$表示)。
答案:
【解析】:
(1)测量灯泡电阻的原理是欧姆定律的变形公式$R = \frac{U}{I}$。
(2)滑动变阻器应一上一下串联接入电路,本题中,滑片向右移动时,灯泡变亮,说明电路中电流变大,滑动变阻器连入电路的阻值变小,所以应将B接线柱接入电路,补充连接图如图所示。(图略)
(3)若连接电路后,闭合开关S,发现无论怎样调节滑动变阻器的滑片,电流表和电压表的示数都不变且较小,说明滑动变阻器失去了变阻的作用,且电路中电阻较大,则可能是将滑动变阻器下面两个接线柱接入了电路。
(4)若将滑动变阻器的下接线柱A端接入电路,则滑片P向右滑动时,滑动变阻器连入电路的电阻变小,电路中电流变大,小灯泡L变亮。
(5)小灯泡在额定电压下才能正常发光,所以在移动滑片P的过程中,应该观察电压表的示数,使小灯泡L正常发光。
(6)当小灯泡正常发光时,其两端电压$U = 2.5V$,电流表示数$I = 0.25A$,根据欧姆定律可得,小灯泡正常发光时的电阻$R=\frac{U}{I}=\frac{2.5V}{0.25A}=10\Omega$。
(7)①闭合开关$S_1$,将开关$S_2$拨到触点2,此时电压表测灯泡两端的电压,要使小灯泡正常发光,应移动滑片P,使电压表的示数$U_1 = 2.5V$。
②保持滑片P的位置不变,再将开关$S_2$拨到触点1,此时电压表测灯泡和定值电阻两端的总电压,读出电压表的示数并记为$U_2$。
③此时定值电阻两端的电压$U_0 = U_2 - U_1$,电路中的电流$I_0=\frac{U_2 - U_1}{R_0}$,由于灯泡与定值电阻串联,所以通过灯泡的电流$I_L = I_0=\frac{U_2 - U_1}{R_0}$,则该小灯泡正常发光时的电阻$R_L=\frac{U_1}{I_L}=\frac{U_1}{\frac{U_2 - U_1}{R_0}}=\frac{U_1R_0}{U_2 - U_1}$。
【答案】:
(1)$R = \frac{U}{I}$
(2)图略
(3)将滑动变阻器下面两个接线柱接入了电路
(4)右
(5)电压
(6)10
(7)①2.5;③$\frac{U_1R_0}{U_2 - U_1}$
(1)测量灯泡电阻的原理是欧姆定律的变形公式$R = \frac{U}{I}$。
(2)滑动变阻器应一上一下串联接入电路,本题中,滑片向右移动时,灯泡变亮,说明电路中电流变大,滑动变阻器连入电路的阻值变小,所以应将B接线柱接入电路,补充连接图如图所示。(图略)
(3)若连接电路后,闭合开关S,发现无论怎样调节滑动变阻器的滑片,电流表和电压表的示数都不变且较小,说明滑动变阻器失去了变阻的作用,且电路中电阻较大,则可能是将滑动变阻器下面两个接线柱接入了电路。
(4)若将滑动变阻器的下接线柱A端接入电路,则滑片P向右滑动时,滑动变阻器连入电路的电阻变小,电路中电流变大,小灯泡L变亮。
(5)小灯泡在额定电压下才能正常发光,所以在移动滑片P的过程中,应该观察电压表的示数,使小灯泡L正常发光。
(6)当小灯泡正常发光时,其两端电压$U = 2.5V$,电流表示数$I = 0.25A$,根据欧姆定律可得,小灯泡正常发光时的电阻$R=\frac{U}{I}=\frac{2.5V}{0.25A}=10\Omega$。
(7)①闭合开关$S_1$,将开关$S_2$拨到触点2,此时电压表测灯泡两端的电压,要使小灯泡正常发光,应移动滑片P,使电压表的示数$U_1 = 2.5V$。
②保持滑片P的位置不变,再将开关$S_2$拨到触点1,此时电压表测灯泡和定值电阻两端的总电压,读出电压表的示数并记为$U_2$。
③此时定值电阻两端的电压$U_0 = U_2 - U_1$,电路中的电流$I_0=\frac{U_2 - U_1}{R_0}$,由于灯泡与定值电阻串联,所以通过灯泡的电流$I_L = I_0=\frac{U_2 - U_1}{R_0}$,则该小灯泡正常发光时的电阻$R_L=\frac{U_1}{I_L}=\frac{U_1}{\frac{U_2 - U_1}{R_0}}=\frac{U_1R_0}{U_2 - U_1}$。
【答案】:
(1)$R = \frac{U}{I}$
(2)图略
(3)将滑动变阻器下面两个接线柱接入了电路
(4)右
(5)电压
(6)10
(7)①2.5;③$\frac{U_1R_0}{U_2 - U_1}$
查看更多完整答案,请扫码查看