第62页
- 第1页
- 第2页
- 第3页
- 第4页
- 第5页
- 第6页
- 第7页
- 第8页
- 第9页
- 第10页
- 第11页
- 第12页
- 第13页
- 第14页
- 第15页
- 第16页
- 第17页
- 第18页
- 第19页
- 第20页
- 第21页
- 第22页
- 第23页
- 第24页
- 第25页
- 第26页
- 第27页
- 第28页
- 第29页
- 第30页
- 第31页
- 第32页
- 第33页
- 第34页
- 第35页
- 第36页
- 第37页
- 第38页
- 第39页
- 第40页
- 第41页
- 第42页
- 第43页
- 第44页
- 第45页
- 第46页
- 第47页
- 第48页
- 第49页
- 第50页
- 第51页
- 第52页
- 第53页
- 第54页
- 第55页
- 第56页
- 第57页
- 第58页
- 第59页
- 第60页
- 第61页
- 第62页
- 第63页
- 第64页
- 第65页
- 第66页
- 第67页
- 第68页
- 第69页
- 第70页
- 第71页
- 第72页
- 第73页
- 第74页
- 第75页
- 第76页
- 第77页
- 第78页
- 第79页
- 第80页
- 第81页
- 第82页
- 第83页
- 第84页
- 第85页
- 第86页
- 第87页
- 第88页
- 第89页
- 第90页
- 第91页
- 第92页
- 第93页
- 第94页
- 第95页
- 第96页
- 第97页
- 第98页
- 第99页
- 第100页
- 第101页
- 第102页
- 第103页
- 第104页
- 第105页
- 第106页
- 第107页
- 第108页
- 第109页
- 第110页
- 第111页
- 第112页
- 第113页
- 第114页
- 第115页
- 第116页
- 第117页
- 第118页
- 第119页
- 第120页
- 第121页
- 第122页
- 第123页
- 第124页
1. (2024·通辽中考)一束光从玻璃斜射入空气中时,在玻璃与空气的交界面上发生了反射和折射,反射光线OC如图所示,请在图中画出入射光线AO和折射光线OB的大致方向.

答案:
如图所示
解析:法线已画出,反射光线为 $ OC $,根据反射角等于入射角画出入射光线 $ AO $,在法线的右侧空气中画出折射光线 $ OB $,注意光从玻璃斜射入空气中时折射角大于入射角。
如图所示
解析:法线已画出,反射光线为 $ OC $,根据反射角等于入射角画出入射光线 $ AO $,在法线的右侧空气中画出折射光线 $ OB $,注意光从玻璃斜射入空气中时折射角大于入射角。
2. 一束光线AO从空气斜射入玻璃中,入射角为60°,折射光线为OB,如图所示.请在图中画出光线OB从玻璃斜射入空气中的折射光线,并标出折射角的度数.

答案:
如图所示
解析:光路具有可逆性,光线经 $ B $ 点折射后射出玻璃,折射角等于光线从空气斜射入玻璃的入射角,等于 $ 60^{\circ} $,从玻璃斜射入空气中的折射光线与从空气斜射入玻璃的入射光线平行。
如图所示
解析:光路具有可逆性,光线经 $ B $ 点折射后射出玻璃,折射角等于光线从空气斜射入玻璃的入射角,等于 $ 60^{\circ} $,从玻璃斜射入空气中的折射光线与从空气斜射入玻璃的入射光线平行。
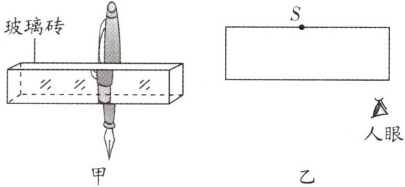
3. 如图甲所示,从某一角度透过玻璃砖看紧贴在砖后的钢笔,中间一段笔杆好像错位了.为分析错位原因,选取笔杆与砖面接触处的一点S,用图乙研究(已画出S及人眼的位置),请画出像S'及成像光路图.

答案:
如图所示
解析:太阳光照射到钢笔后到达 $ S $ 点,反射出来的光在玻璃中沿直线传播,然后从玻璃中斜射入空气中时,折射光线会向远离法线的位置偏折,进入人眼被看到。人的眼睛逆着光线沿直线看到的是钢笔的虚像 $ S' $。
如图所示
解析:太阳光照射到钢笔后到达 $ S $ 点,反射出来的光在玻璃中沿直线传播,然后从玻璃中斜射入空气中时,折射光线会向远离法线的位置偏折,进入人眼被看到。人的眼睛逆着光线沿直线看到的是钢笔的虚像 $ S' $。
4. (2023·南充中考)如图所示,一束光射向凸透镜,请画出该光经过凸透镜、凹透镜的折射光路.

答案:
如图所示
解析:过凸透镜焦点的光线经凸透镜折射后折射光线平行于主光轴,平行于主光轴的光线经过凹透镜折射后,折射光线的反向延长线过凹透镜的焦点。
如图所示
解析:过凸透镜焦点的光线经凸透镜折射后折射光线平行于主光轴,平行于主光轴的光线经过凹透镜折射后,折射光线的反向延长线过凹透镜的焦点。
5. 如图所示,F是凸透镜的焦点,请在图中画出物体AB在凸透镜中所成像的光路图.
答案:
如图所示
解析:连接 $ A $ 与凸透镜的光心 $ O $ 并延长;过 $ A $ 点画出平行于主光轴的入射光线交凸透镜于一点,连接该点和凸透镜右侧的焦点 $ F $ 并延长,两条折射光线交于 $ A' $ 点(即为 $ A $ 点的像点),过 $ A' $ 点作主光轴的垂线,交主光轴于 $ B' $, $ A'B' $ 即为物体 $ AB $ 所成的像。
如图所示
解析:连接 $ A $ 与凸透镜的光心 $ O $ 并延长;过 $ A $ 点画出平行于主光轴的入射光线交凸透镜于一点,连接该点和凸透镜右侧的焦点 $ F $ 并延长,两条折射光线交于 $ A' $ 点(即为 $ A $ 点的像点),过 $ A' $ 点作主光轴的垂线,交主光轴于 $ B' $, $ A'B' $ 即为物体 $ AB $ 所成的像。
6. 如图所示,一束激光a斜射向半圆形玻璃砖圆心O,结果在屏幕MN上出现两个光斑,请画出形成两个光斑的光路图.

答案:
如图所示
解析:因为激光斜射入半圆形玻璃砖圆心 $ O $,在界面既发生反射又发生折射,反射时,根据光的反射定律,反射角等于入射角,作出反射光线;折射时,光从空气中斜射入玻璃中,折射角小于入射角,在光线从半圆形玻璃射入空气中时,传播方向不变,即折射光线靠近法线射向屏幕。
如图所示
解析:因为激光斜射入半圆形玻璃砖圆心 $ O $,在界面既发生反射又发生折射,反射时,根据光的反射定律,反射角等于入射角,作出反射光线;折射时,光从空气中斜射入玻璃中,折射角小于入射角,在光线从半圆形玻璃射入空气中时,传播方向不变,即折射光线靠近法线射向屏幕。
7. 核心素养 传统文化 (2023·成都中考)如图甲所示是博物馆内“刘充国印”的展台,上方是凸透镜,透过它能看到放大的印章;下方是平面镜,通过它能看到印章底部的字.图乙是其示意图,F为凸透镜的焦点,O为凸透镜的光心,光线a平行于凸透镜的主光轴(图中虚线).请在图乙中画出:①光线a经过凸透镜折射后的光线;②光线b经过平面镜反射后的光线.

答案:
如图所示
解析:凸透镜能将平行光会聚到焦点,所以平行于主光轴的光线 $ a $ 经过凸透镜后,会聚于焦点;先过入射点作法线垂直于平面镜,由光的反射定律可得,反射角等于入射角,作出反射光线。
如图所示
解析:凸透镜能将平行光会聚到焦点,所以平行于主光轴的光线 $ a $ 经过凸透镜后,会聚于焦点;先过入射点作法线垂直于平面镜,由光的反射定律可得,反射角等于入射角,作出反射光线。
8. (2024·德州中考)如图所示,A'是点光源A在平面镜中所成的像,A发出的一条光线经平面镜反射后射向凸透镜,反射光线恰好过凸透镜的焦点,请画出:
(1)射向平面镜的入射光线.
(2)经过凸透镜后的折射光线.

(1)射向平面镜的入射光线.
(2)经过凸透镜后的折射光线.
答案:
(1)
(2)如图所示
解析:
(1) 根据平面镜所成的像与物关于平面镜对称,从 $ A' $ 点向平面镜作垂线并取等长,画出点光源 $ A $;连接 $ A $ 点与平面镜上的入射点,画出射向平面镜的入射光线;
(2) 过凸透镜焦点的光线经凸透镜折射后平行于主光轴射出,据此画出经过凸透镜后的折射光线。
(1)
(2)如图所示
解析:
(1) 根据平面镜所成的像与物关于平面镜对称,从 $ A' $ 点向平面镜作垂线并取等长,画出点光源 $ A $;连接 $ A $ 点与平面镜上的入射点,画出射向平面镜的入射光线;
(2) 过凸透镜焦点的光线经凸透镜折射后平行于主光轴射出,据此画出经过凸透镜后的折射光线。
查看更多完整答案,请扫码查看