第37页
- 第1页
- 第2页
- 第3页
- 第4页
- 第5页
- 第6页
- 第7页
- 第8页
- 第9页
- 第10页
- 第11页
- 第12页
- 第13页
- 第14页
- 第15页
- 第16页
- 第17页
- 第18页
- 第19页
- 第20页
- 第21页
- 第22页
- 第23页
- 第24页
- 第25页
- 第26页
- 第27页
- 第28页
- 第29页
- 第30页
- 第31页
- 第32页
- 第33页
- 第34页
- 第35页
- 第36页
- 第37页
- 第38页
- 第39页
- 第40页
- 第41页
- 第42页
- 第43页
- 第44页
- 第45页
- 第46页
- 第47页
- 第48页
- 第49页
- 第50页
- 第51页
- 第52页
- 第53页
- 第54页
- 第55页
- 第56页
- 第57页
- 第58页
- 第59页
- 第60页
- 第61页
- 第62页
- 第63页
- 第64页
- 第65页
- 第66页
- 第67页
- 第68页
- 第69页
- 第70页
- 第71页
- 第72页
- 第73页
- 第74页
- 第75页
- 第76页
- 第77页
- 第78页
- 第79页
- 第80页
- 第81页
- 第82页
- 第83页
- 第84页
- 第85页
- 第86页
- 第87页
- 第88页
- 第89页
- 第90页
- 第91页
- 第92页
- 第93页
- 第94页
- 第95页
- 第96页
- 第97页
- 第98页
- 第99页
- 第100页
- 第101页
- 第102页
- 第103页
- 第104页
- 第105页
- 第106页
- 第107页
- 第108页
- 第109页
- 第110页
- 第111页
- 第112页
- 第113页
- 第114页
- 第115页
- 第116页
- 第117页
- 第118页
- 第119页
- 第120页
- 第121页
- 第122页
- 第123页
- 第124页
17. 为了把太阳光反射到一座洞口朝向正东方向的水平涵洞中去,某同学设计安装了一块能自动调节方向的平面镜M,如图所示,正午时刻,太阳光垂直于水平地面照射,图中表示平面镜方向的那个角度α应为______;午后,随着太阳西斜,α应适当______(填“增大”或“减小”).

答案:
45° 增大 解析:如图所示,∠1为入射角,根据光的反射定律,∠2 = ∠1,由平面几何知识:∠α = ∠3,而∠3 = 90° - ∠2,则∠α = 90° - ∠1,由题知洞口朝向正东方向,正午时刻,太阳光垂直于水平地面照射,反射光线与入射光线之间的夹角为90°,入射角为45°,即∠1 = 45°,所以α = 45°.午后,随着太阳西移,入射角∠1减小,则∠α = 90° - ∠1应增大.
45° 增大 解析:如图所示,∠1为入射角,根据光的反射定律,∠2 = ∠1,由平面几何知识:∠α = ∠3,而∠3 = 90° - ∠2,则∠α = 90° - ∠1,由题知洞口朝向正东方向,正午时刻,太阳光垂直于水平地面照射,反射光线与入射光线之间的夹角为90°,入射角为45°,即∠1 = 45°,所以α = 45°.午后,随着太阳西移,入射角∠1减小,则∠α = 90° - ∠1应增大.
18. 如图所示,一块平面镜放在圆筒的中心处,平面镜正对筒壁上一点光源S,点光源发出一束光垂直射向平面镜.平面镜从图示位置开始绕圆筒中心O逆时针匀速转动,在转动过20°角时,点光源在镜中所成的像绕中心O转过的角度为$θ_1,$反射光线转过的角度为$θ_2,$则θ_

1= ______度$,θ_2= ______$度.
1= ______度$,θ_2= ______$度.
答案:
40 40 解析:图甲中,入射角为0°,反射角为0°.如图乙所示,平面镜MN绕圆筒中心O逆时针旋转20°,入射光线不变,故入射角增大为∠FOD = 20°,根据反射定律,反射角为∠AOD = 20°,则此时入射光线和反射光线的夹角为20° + 20° = 40°,故反射光线转过的角度为θ₂ = 40°.根据像与物关于镜面对称,由图乙知,原来像在E点,镜面旋转后虚像在B点,点光源在镜中所成的像绕中心O转过的角度θ₁ = ∠EOB = 20° + 20° = 40°.
40 40 解析:图甲中,入射角为0°,反射角为0°.如图乙所示,平面镜MN绕圆筒中心O逆时针旋转20°,入射光线不变,故入射角增大为∠FOD = 20°,根据反射定律,反射角为∠AOD = 20°,则此时入射光线和反射光线的夹角为20° + 20° = 40°,故反射光线转过的角度为θ₂ = 40°.根据像与物关于镜面对称,由图乙知,原来像在E点,镜面旋转后虚像在B点,点光源在镜中所成的像绕中心O转过的角度θ₁ = ∠EOB = 20° + 20° = 40°.
19. 新趋势 跨学科实践 鞋店的地板上,有一块靠墙的平面镜,店员为了顾客方便,通常不会把θ设为90°,假设从顾客脚部发出的光线,与平面镜成45°角;而反射光线进入顾客的眼睛时,和水平面成60°角,则平面镜与地板形成的角度θ为______°.

答案:
75 解析:由题意知,入射光线与镜面的夹角为45°,则入射角和反射角都为45°,反射光线与镜面的夹角为45°,与水平方向成60°,光路图如图.根据图示可知,人眼在A点,入射点为O,由三角形内角和为180°可知,镜面与水平方向成75°的角.
75 解析:由题意知,入射光线与镜面的夹角为45°,则入射角和反射角都为45°,反射光线与镜面的夹角为45°,与水平方向成60°,光路图如图.根据图示可知,人眼在A点,入射点为O,由三角形内角和为180°可知,镜面与水平方向成75°的角.
20. 如图所示,点S为光源,点S'为S通过平面镜所成的像,在光源发出的光线中,有一条经平面镜反射后经过点A,S、A、S'恰好位于一等腰直角三角形的三个顶点.
(1)试用作图法画出这条光线,并写出作图过程;
(2)试求这条光线的入射角和反射角.
(1)试用作图法画出这条光线,并写出作图过程;
(2)试求这条光线的入射角和反射角.
答案:
(1)如图所示 作图过程见解析
(2)45° 45°
解析:
(1)平面镜成的像和物体到镜面距离相等,关于镜面对称;连接SS',作SS'的垂直平分线P₁P₂,即为平面镜所在位置;连接AS'交平面镜于点O,即为所求光线的入射点;连接SO,OA为反射光线,SO为入射光线.
(2)在上图的基础上连接AS,如图
由题可知,S、A、S'恰好位于一等腰直角三角形的三个顶点,则△SAS'是等腰直角三角形,∠ASS'是直角,P₁P₂是SS'的垂直平分线,所以O为△SAS'斜边的中点,则SO为斜边的垂直平分线,所以SO是∠ASS'的角平分线,所以∠ASO = 45°,OB为法线,与SS'平行,故可得入射角为45°,又因为SO为斜边的垂直平分线,则反射角与入射角互余,所以反射角也为45°.
(1)如图所示 作图过程见解析
(2)45° 45°
解析:
(1)平面镜成的像和物体到镜面距离相等,关于镜面对称;连接SS',作SS'的垂直平分线P₁P₂,即为平面镜所在位置;连接AS'交平面镜于点O,即为所求光线的入射点;连接SO,OA为反射光线,SO为入射光线.
(2)在上图的基础上连接AS,如图
由题可知,S、A、S'恰好位于一等腰直角三角形的三个顶点,则△SAS'是等腰直角三角形,∠ASS'是直角,P₁P₂是SS'的垂直平分线,所以O为△SAS'斜边的中点,则SO为斜边的垂直平分线,所以SO是∠ASS'的角平分线,所以∠ASO = 45°,OB为法线,与SS'平行,故可得入射角为45°,又因为SO为斜边的垂直平分线,则反射角与入射角互余,所以反射角也为45°.
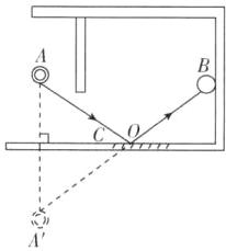
21. 有一工作间,人在B处要想看到外间A处的花盆,需要在某处安装一块平面镜.请把平面镜C画到合适的位置,反光涂层将光源发出的光反射,接收器接收到反射光,并完成由B看到A的光路(只需要画出一条光的完整路径).

答案:
如图所示
如图所示
22. 新素材创新装置 图1是利用激光测转速的原理示意图,图中圆盘可绕固定轴转动,盘边缘侧面上有一小段涂有很薄的反光材料.当盘转到某一位置时,反光涂层将光源发出的光反射,接收器接收到反射光,并将所收到的光信号转变成电信号,在示波器显示屏上显示出来(如图2所示).

(1)若图2中示波器显示屏横向的每大格(5小格)对应的时间为$5.00×10⁻^2s,$则圆盘的转速为______r/s.
(2)若测得圆盘直径为10.20 cm,则可求得圆盘侧面反光涂层的长度为______cm(保留3位有效数字).
(1)若图2中示波器显示屏横向的每大格(5小格)对应的时间为$5.00×10⁻^2s,$则圆盘的转速为______r/s.
(2)若测得圆盘直径为10.20 cm,则可求得圆盘侧面反光涂层的长度为______cm(保留3位有效数字).
答案:
(1)5
(2)1.60 解析:
(1)从图2显示圆盘转动一周在横轴上显示4大格,由题意知道,每格表示5.00×10⁻²s,所以圆盘转动的周期为0.2s,则转速为5r/s.
(2)反光中引起的电信号在图2中横坐标上每次一小格,说明反光涂层的长度占圆盘周长的$\frac{1}{20}$,故圆盘上反光涂层的长度为$\frac{πd}{20}=\frac{3.14×10.20cm}{20}\approx1.60cm$.
(1)5
(2)1.60 解析:
(1)从图2显示圆盘转动一周在横轴上显示4大格,由题意知道,每格表示5.00×10⁻²s,所以圆盘转动的周期为0.2s,则转速为5r/s.
(2)反光中引起的电信号在图2中横坐标上每次一小格,说明反光涂层的长度占圆盘周长的$\frac{1}{20}$,故圆盘上反光涂层的长度为$\frac{πd}{20}=\frac{3.14×10.20cm}{20}\approx1.60cm$.
查看更多完整答案,请扫码查看