第122页
- 第1页
- 第2页
- 第3页
- 第4页
- 第5页
- 第6页
- 第7页
- 第8页
- 第9页
- 第10页
- 第11页
- 第12页
- 第13页
- 第14页
- 第15页
- 第16页
- 第17页
- 第18页
- 第19页
- 第20页
- 第21页
- 第22页
- 第23页
- 第24页
- 第25页
- 第26页
- 第27页
- 第28页
- 第29页
- 第30页
- 第31页
- 第32页
- 第33页
- 第34页
- 第35页
- 第36页
- 第37页
- 第38页
- 第39页
- 第40页
- 第41页
- 第42页
- 第43页
- 第44页
- 第45页
- 第46页
- 第47页
- 第48页
- 第49页
- 第50页
- 第51页
- 第52页
- 第53页
- 第54页
- 第55页
- 第56页
- 第57页
- 第58页
- 第59页
- 第60页
- 第61页
- 第62页
- 第63页
- 第64页
- 第65页
- 第66页
- 第67页
- 第68页
- 第69页
- 第70页
- 第71页
- 第72页
- 第73页
- 第74页
- 第75页
- 第76页
- 第77页
- 第78页
- 第79页
- 第80页
- 第81页
- 第82页
- 第83页
- 第84页
- 第85页
- 第86页
- 第87页
- 第88页
- 第89页
- 第90页
- 第91页
- 第92页
- 第93页
- 第94页
- 第95页
- 第96页
- 第97页
- 第98页
- 第99页
- 第100页
- 第101页
- 第102页
- 第103页
- 第104页
- 第105页
- 第106页
- 第107页
- 第108页
- 第109页
- 第110页
- 第111页
- 第112页
- 第113页
- 第114页
- 第115页
- 第116页
- 第117页
- 第118页
- 第119页
- 第120页
- 第121页
- 第122页
- 第123页
- 第124页
- 第125页
- 第126页
- 第127页
- 第128页
- 第129页
- 第130页
- 第131页
- 第132页
- 第133页
- 第134页
- 第135页
- 第136页
- 第137页
- 第138页
- 第139页
- 第140页
- 第141页
- 第142页
- 第143页
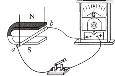
4. 下图是探究“导体在磁场中运动时产生感应电流的条件”的实验装置。

(1)闭合开关后,当导体$ab$向左或向右运动时,电流计指针偏转;当导体$ab$向上或向下运动时,电流计指针不偏转,说明闭合电路中的部分导体在磁场中做
(2)实验中发现,当导体$ab$向左运动时,电流计指针向右偏转;当导体$ab$向右运动时,电流计指针向左偏转,说明感应电流的方向与
(3)闭合开关后,当导体$ab$向左运动时,电流计指针向右偏转。现将蹄形磁体$S$、$N$极对调,并使导体$ab$向左运动,此时电流计指针向
(4)闭合开关后,导体$ab$静止不动,电流计指针
(1)闭合开关后,当导体$ab$向左或向右运动时,电流计指针偏转;当导体$ab$向上或向下运动时,电流计指针不偏转,说明闭合电路中的部分导体在磁场中做
切割磁感线
运动时,导体中会产生感应电流,此实验过程能量转化情况是机械能转化为电能
。(2)实验中发现,当导体$ab$向左运动时,电流计指针向右偏转;当导体$ab$向右运动时,电流计指针向左偏转,说明感应电流的方向与
导体运动方向
有关。(3)闭合开关后,当导体$ab$向左运动时,电流计指针向右偏转。现将蹄形磁体$S$、$N$极对调,并使导体$ab$向左运动,此时电流计指针向
左
(选填“左”或“右”)偏转。(4)闭合开关后,导体$ab$静止不动,电流计指针
不偏转
(选填“偏转”或“不偏转”);小明碰了一下蹄形磁体,使其发生水平移动,此时电流计指针会
(选填“会”或“不会”)偏转。
答案:
4.
(1)切割磁感线 机械能转化为电能
(2)导体运动方向
(3)左
(4)不偏转 会
(1)切割磁感线 机械能转化为电能
(2)导体运动方向
(3)左
(4)不偏转 会
5. 某同学用如图甲所示装置探究“导体在磁场中运动时产生感应电流的条件”,在蹄形磁体的磁场中放置一个导体,导体两端跟电流计连接组成闭合回路。

(1)让导体$ab$在磁场中静止,观察到电流计指针
(2)图乙中的$m$表示垂直于纸面的一根导体,它是闭合电路的一部分。它在磁场中按箭头方向运动时,会产生感应电流的是
(1)让导体$ab$在磁场中静止,观察到电流计指针
不偏转
;让导体$ab$在磁场中静止,换用磁性更强的蹄形磁体,观察到电流计指针不偏转
;保持蹄形磁体静止,让导体$ab$从图中所示位置水平向右运动,观察到电流计指针偏转
。(均选填“偏转”或“不偏转”)(2)图乙中的$m$表示垂直于纸面的一根导体,它是闭合电路的一部分。它在磁场中按箭头方向运动时,会产生感应电流的是
CD
(多选,填字母编号)。
答案:
5.
(1)不偏转 不偏转 偏转
(2)CD
(1)不偏转 不偏转 偏转
(2)CD
查看更多完整答案,请扫码查看