第105页
- 第1页
- 第2页
- 第3页
- 第4页
- 第5页
- 第6页
- 第7页
- 第8页
- 第9页
- 第10页
- 第11页
- 第12页
- 第13页
- 第14页
- 第15页
- 第16页
- 第17页
- 第18页
- 第19页
- 第20页
- 第21页
- 第22页
- 第23页
- 第24页
- 第25页
- 第26页
- 第27页
- 第28页
- 第29页
- 第30页
- 第31页
- 第32页
- 第33页
- 第34页
- 第35页
- 第36页
- 第37页
- 第38页
- 第39页
- 第40页
- 第41页
- 第42页
- 第43页
- 第44页
- 第45页
- 第46页
- 第47页
- 第48页
- 第49页
- 第50页
- 第51页
- 第52页
- 第53页
- 第54页
- 第55页
- 第56页
- 第57页
- 第58页
- 第59页
- 第60页
- 第61页
- 第62页
- 第63页
- 第64页
- 第65页
- 第66页
- 第67页
- 第68页
- 第69页
- 第70页
- 第71页
- 第72页
- 第73页
- 第74页
- 第75页
- 第76页
- 第77页
- 第78页
- 第79页
- 第80页
- 第81页
- 第82页
- 第83页
- 第84页
- 第85页
- 第86页
- 第87页
- 第88页
- 第89页
- 第90页
- 第91页
- 第92页
- 第93页
- 第94页
- 第95页
- 第96页
- 第97页
- 第98页
- 第99页
- 第100页
- 第101页
- 第102页
- 第103页
- 第104页
- 第105页
- 第106页
- 第107页
- 第108页
- 第109页
- 第110页
- 第111页
- 第112页
- 第113页
- 第114页
- 第115页
- 第116页
- 第117页
- 第118页
- 第119页
- 第120页
- 第121页
- 第122页
- 第123页
- 第124页
- 第125页
- 第126页
- 第127页
- 第128页
- 第129页
- 第130页
- 第131页
- 第132页
- 第133页
- 第134页
- 第135页
- 第136页
- 第137页
- 第138页
- 第139页
- 第140页
- 第141页
- 第142页
- 第143页
- 第144页
- 第145页
- 第146页
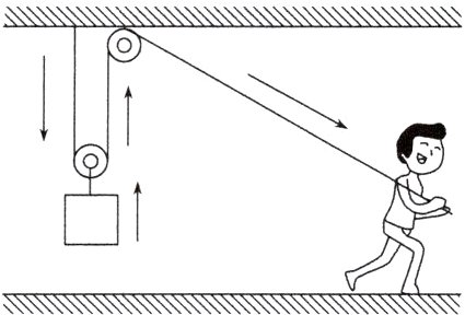
1.(2024·陕西A卷)工人利用如图所示装置提升物料,该装置中的滑轮为________滑轮。已知滑轮重80 N,货篮重120 N,不计绳重及摩擦。工人用该装置匀速提升空货篮时的拉力为________N。若绳子能承受的最大拉力为520 N,每根钢条重100 N,该装置匀速提升钢条时,所能达到的最大机械效率为________。

答案:
解析 由图可知,滑轮随物料一起运动,所以该装置中的滑轮为动滑轮。由图可知,动滑轮上有两股绳,已知滑轮重80 N,货篮重120 N,不计绳重及摩擦,用该装置匀速提升空货篮时的拉力$F = \frac{1}{2}(G_{滑}+G_{篮}) = \frac{1}{2}×(80 N + 120 N)=100 N$;若绳子能承受的最大拉力为520 N,提升钢条的最大重力$G_{钢}=2F'-G_{滑}-G_{篮}=2×520 N - 80 N - 120 N = 840 N$,由于每根钢条重100 N,所以最多能提升8根钢条,则该装置匀速提升钢条时,所能达到的最大机械效率$\eta=\frac{W_{有}}{W_{总}}=\frac{G_{钢}h}{(G_{钢}+G_{滑}+G_{篮})h}=\frac{8×100 N}{8×100 N + 80 N + 120 N}×100\% = 80\%$。
答案 动 100 80%
答案 动 100 80%
2. 救援车工作原理如图所示,当车载电机对钢绳施加的拉力F大小为2.5×10³ N时,小车A恰能匀速缓慢地沿斜面上升。已知小车A的质量为1 t,斜面高为2 m,斜面长为5 m(不计车长、钢绳重、动滑轮重、钢绳与滑轮间的摩擦和滑轮与轴间的摩擦,g取10 N/kg)。在小车A由水平路面被拖上救援车的过程中,钢绳所做的有用功为________J,整个装置的机械效率为________,小车A与斜面间的摩擦力大小为________N。

答案:
$2×10^{4}$ 80% $1×10^{3}$
3.(2022·内江)在如图所示的滑轮组中,每个滑轮重20 N,在绳子自由端用100 N的拉力把货物匀速提高1 m,不计摩擦和绳重,则货物的重力和滑轮组的机械效率分别是 ( )

A. 20 N 80%
B. 20 N 90%
C. 180 N 90%
D. 180 N 80%
A. 20 N 80%
B. 20 N 90%
C. 180 N 90%
D. 180 N 80%
答案:
C
4.(2024·无锡)如图所示,用滑轮组匀速提升重为200 N的物体,拉力F为125 N,物体升高的高度为4 m,不计绳重和摩擦,则在此过程中,下列说法中正确的是 ( )

A. 总功为800 J
B. 动滑轮重为5 N
C. 绳端移动的距离为4 m
D. 滑轮组的机械效率为80%
A. 总功为800 J
B. 动滑轮重为5 N
C. 绳端移动的距离为4 m
D. 滑轮组的机械效率为80%
答案:
D
5.(2023·通辽)如图所示,用滑轮组帮助汽车脱困,汽车被水平匀速拉动1.2 m时,作用在绳子自由端的拉力F为1 000 N,绳子自由端移动的速度为0.6 m/s,滑轮组的机械效率为80%,则下列说法正确的是 ( )

A. 汽车移动的速度为0.4 m/s
B. 拉力F做的功为1 200 J
C. 汽车受到的摩擦力大小为2 000 N
D. 拉力F所做的有用功的功率为480 W
A. 汽车移动的速度为0.4 m/s
B. 拉力F做的功为1 200 J
C. 汽车受到的摩擦力大小为2 000 N
D. 拉力F所做的有用功的功率为480 W
答案:
D
查看更多完整答案,请扫码查看