第101页
- 第1页
- 第2页
- 第3页
- 第4页
- 第5页
- 第6页
- 第7页
- 第8页
- 第9页
- 第10页
- 第11页
- 第12页
- 第13页
- 第14页
- 第15页
- 第16页
- 第17页
- 第18页
- 第19页
- 第20页
- 第21页
- 第22页
- 第23页
- 第24页
- 第25页
- 第26页
- 第27页
- 第28页
- 第29页
- 第30页
- 第31页
- 第32页
- 第33页
- 第34页
- 第35页
- 第36页
- 第37页
- 第38页
- 第39页
- 第40页
- 第41页
- 第42页
- 第43页
- 第44页
- 第45页
- 第46页
- 第47页
- 第48页
- 第49页
- 第50页
- 第51页
- 第52页
- 第53页
- 第54页
- 第55页
- 第56页
- 第57页
- 第58页
- 第59页
- 第60页
- 第61页
- 第62页
- 第63页
- 第64页
- 第65页
- 第66页
- 第67页
- 第68页
- 第69页
- 第70页
- 第71页
- 第72页
- 第73页
- 第74页
- 第75页
- 第76页
- 第77页
- 第78页
- 第79页
- 第80页
- 第81页
- 第82页
- 第83页
- 第84页
- 第85页
- 第86页
- 第87页
- 第88页
- 第89页
- 第90页
- 第91页
- 第92页
- 第93页
- 第94页
- 第95页
- 第96页
- 第97页
- 第98页
- 第99页
- 第100页
- 第101页
- 第102页
- 第103页
- 第104页
- 第105页
- 第106页
- 第107页
- 第108页
- 第109页
- 第110页
- 第111页
- 第112页
- 第113页
- 第114页
- 第115页
- 第116页
- 第117页
- 第118页
- 第119页
- 第120页
- 第121页
- 第122页
- 第123页
- 第124页
- 第125页
- 第126页
- 第127页
- 第128页
- 第129页
- 第130页
- 第131页
- 第132页
- 第133页
- 第134页
- 第135页
- 第136页
- 第137页
- 第138页
- 第139页
- 第140页
- 第141页
- 第142页
- 第143页
- 第144页
- 第145页
- 第146页
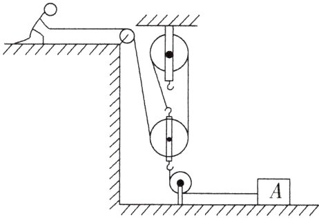
【典例2】(2024·滁州模拟)在建筑工地上,小明同学利用如图所示的装置,用25 N的拉力使重为300 N的物体A沿着水平地面匀速运动。A在运动时受到地面的摩擦力为其所受重力的0.2倍,不计绳重及滑轮组的摩擦。则动滑轮所受重力为______N,该装置的机械效率为______。若增加物体A的重力,仍使物体A匀速运动,则该装置的机械效率将______(选填“增大”“减小”或“不变”)。
【解析】因为物体A在运动时受到地面的摩擦力为其所受重力的0.2倍,所以物体受到的摩擦力f = 0.2G = 0.2×300 N = 60 N;因物体A匀速运动,绳子对物体的拉力和物体受到的摩擦力是一对平衡力,所以滑轮组对物体的拉力F_{拉}=f = 60 N,由图知n = 3,不计绳重与摩擦,由$F=\frac{1}{n}(G_{动}+F_{拉})$可得动滑轮受到的重力:G_{动}=nF - F_{拉}=3×25 N - 60 N = 15 N;滑轮组的机械效率$\eta=\frac{W_{有}}{W_{总}}×100\%=\frac{fs}{Fs_{拉}}×100\%=\frac{fs}{Fns}×100\%=\frac{f}{nF}×100\%=\frac{60\ N}{3×25\ N}×100\% = 80\%$;若增加物体A的重力,仍使物体A匀速运动,因物体对地面的压力增大,则滑动摩擦力增大,将物体A拉动相同距离,克服物体与地面间摩擦力做的有用功增大,在额外功不变的情况下,有用功在总功中所占的比例增大,则机械效率将增大。
【答案】15 80% 增大
【点拨】本题考查的是滑轮(组)的机械效率的有关计算,解题的关键是注意水平使用滑轮组时,有用功等于摩擦力与物体移动的距离的乘积。
【解析】因为物体A在运动时受到地面的摩擦力为其所受重力的0.2倍,所以物体受到的摩擦力f = 0.2G = 0.2×300 N = 60 N;因物体A匀速运动,绳子对物体的拉力和物体受到的摩擦力是一对平衡力,所以滑轮组对物体的拉力F_{拉}=f = 60 N,由图知n = 3,不计绳重与摩擦,由$F=\frac{1}{n}(G_{动}+F_{拉})$可得动滑轮受到的重力:G_{动}=nF - F_{拉}=3×25 N - 60 N = 15 N;滑轮组的机械效率$\eta=\frac{W_{有}}{W_{总}}×100\%=\frac{fs}{Fs_{拉}}×100\%=\frac{fs}{Fns}×100\%=\frac{f}{nF}×100\%=\frac{60\ N}{3×25\ N}×100\% = 80\%$;若增加物体A的重力,仍使物体A匀速运动,因物体对地面的压力增大,则滑动摩擦力增大,将物体A拉动相同距离,克服物体与地面间摩擦力做的有用功增大,在额外功不变的情况下,有用功在总功中所占的比例增大,则机械效率将增大。
【答案】15 80% 增大
【点拨】本题考查的是滑轮(组)的机械效率的有关计算,解题的关键是注意水平使用滑轮组时,有用功等于摩擦力与物体移动的距离的乘积。
答案:
15 80% 增大
【典例3】(多选)(2022·泸州)在劳动实践中,小孙在水平地面与车厢间用木板搭一斜面,并用平行于斜面的推力将重G = 600 N的货物匀速地从斜面底端推到顶端的车厢,如图所示。已知斜面长L = 6 m,斜面高h = 1.5 m,斜面的机械效率η = 60%。下列叙述正确的是( )
A. 小孙推动货物所用推力大小为150 N
B. 货物受到斜面的摩擦力大小为100 N
C. 若增大推行速度,则货物受到的摩擦力将变大
D. 若h不变、减小L,则斜面的机械效率将升高
【解析】有用功W_{有用}=Gh = 600 N×1.5 m = 900 J,总功$W_{总}=\frac{W_{有用}}{\eta}=\frac{900\ J}{60\%}=1 500\ J$,小孙推动货物所用推力$F_{推}=\frac{W_{总}}{L}=\frac{1 500\ J}{6\ m}=250\ N$,故A错误;额外功W_{额外}=W_{总}-W_{有用}=1 500 J - 900 J = 600 J,货物受到斜面的摩擦力$f=\frac{W_{有用}}{L}=\frac{600\ J}{6\ m}=100\ N$,故B正确;滑动摩擦力的大小与压力大小和接触面的粗糙程度有关,若增大推行速度,货物对斜面的压力大小和接触面的粗糙程度均不变,则货物受到的摩擦力将不变,故C错误;若h不变、减小L,物体对斜面的压力减小,斜面对物体的摩擦力减小,额外功减小,有用功不变,根据W_{总}=W_{有用}+W_{额外}可知,总功减小,根据$\eta=\frac{W_{有用}}{W_{总}}×100\%$可知斜面的机械效率将升高,故D正确。
【答案】BD
【点拨】此类题目需要结合实际情境准确找出做有用功、额外功、总功对应的力和距离。有用功可认为是为完成工作假设不使用机械直接用手做的功,总功是施加在机械上的动力所做的功,额外功是克服机械自重、包装重和摩擦等所做的功。当然还需准确掌握所有的公式。
A. 小孙推动货物所用推力大小为150 N
B. 货物受到斜面的摩擦力大小为100 N
C. 若增大推行速度,则货物受到的摩擦力将变大
D. 若h不变、减小L,则斜面的机械效率将升高
【解析】有用功W_{有用}=Gh = 600 N×1.5 m = 900 J,总功$W_{总}=\frac{W_{有用}}{\eta}=\frac{900\ J}{60\%}=1 500\ J$,小孙推动货物所用推力$F_{推}=\frac{W_{总}}{L}=\frac{1 500\ J}{6\ m}=250\ N$,故A错误;额外功W_{额外}=W_{总}-W_{有用}=1 500 J - 900 J = 600 J,货物受到斜面的摩擦力$f=\frac{W_{有用}}{L}=\frac{600\ J}{6\ m}=100\ N$,故B正确;滑动摩擦力的大小与压力大小和接触面的粗糙程度有关,若增大推行速度,货物对斜面的压力大小和接触面的粗糙程度均不变,则货物受到的摩擦力将不变,故C错误;若h不变、减小L,物体对斜面的压力减小,斜面对物体的摩擦力减小,额外功减小,有用功不变,根据W_{总}=W_{有用}+W_{额外}可知,总功减小,根据$\eta=\frac{W_{有用}}{W_{总}}×100\%$可知斜面的机械效率将升高,故D正确。
【答案】BD
【点拨】此类题目需要结合实际情境准确找出做有用功、额外功、总功对应的力和距离。有用功可认为是为完成工作假设不使用机械直接用手做的功,总功是施加在机械上的动力所做的功,额外功是克服机械自重、包装重和摩擦等所做的功。当然还需准确掌握所有的公式。
答案:
BD
查看更多完整答案,请扫码查看