第65页
- 第1页
- 第2页
- 第3页
- 第4页
- 第5页
- 第6页
- 第7页
- 第8页
- 第9页
- 第10页
- 第11页
- 第12页
- 第13页
- 第14页
- 第15页
- 第16页
- 第17页
- 第18页
- 第19页
- 第20页
- 第21页
- 第22页
- 第23页
- 第24页
- 第25页
- 第26页
- 第27页
- 第28页
- 第29页
- 第30页
- 第31页
- 第32页
- 第33页
- 第34页
- 第35页
- 第36页
- 第37页
- 第38页
- 第39页
- 第40页
- 第41页
- 第42页
- 第43页
- 第44页
- 第45页
- 第46页
- 第47页
- 第48页
- 第49页
- 第50页
- 第51页
- 第52页
- 第53页
- 第54页
- 第55页
- 第56页
- 第57页
- 第58页
- 第59页
- 第60页
- 第61页
- 第62页
- 第63页
- 第64页
- 第65页
- 第66页
- 第67页
- 第68页
- 第69页
- 第70页
- 第71页
- 第72页
- 第73页
- 第74页
1. 项目提出:
调光台灯为什么能改变光源的亮度?我们能否设计一个类似的能连续调节灯泡亮度的电路?
项目分析:
让灯泡的亮度发生变化可以有多种方法。改变电池组中串联电池的节数会影响灯泡的亮度;在不改变电源两端电压的情况下,在电路中接入一个滑动变阻器,就可以连续改变灯泡的亮度。
项目实施:
活动一 正确使用滑动变阻器
(1)请在图甲中用笔画线代替导线连接电路,要求滑动变阻器的滑片向右移动时灯泡变暗。

(2)滑动变阻器的铭牌上标有“20 Ω 2 A”字样。其中“20 Ω”指的是______(填符号)两接线柱间的电阻。
(3)根据上面的连接方式,闭合开关前,滑片P应滑到______(选填“A”或“B”)端。
(4)在电路连接完成后闭合开关,发现灯泡立刻发出耀眼的光并很快熄灭。则实验操作中的不当之处可能是将滑动变阻器的______(填符号)两个接线柱接入了电路。
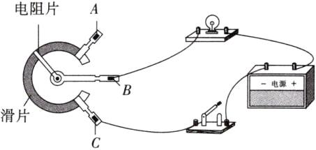
活动二 认识电位器
调光台灯通过旋转旋钮调节亮度,这个旋转旋钮是一个电位器。
(5)电位器的构造:如图乙是电位器的结构示意图,电阻片R的两端分别与接线端A、C相连,滑片的一端通过转轴O与接线端B相连,另一端与电阻片R接触良好,并能绕转轴O在电阻片R上滑动。

(6)电位器的工作原理:电位器是一个变形的滑动变阻器。通过改变连入电路中电阻片的______来改变电阻,从而改变电流的大小和小灯泡的亮度。
活动三 自制一个简易调光台灯
请选择电位器A、B、C三个接线端其中的两个连入电路中,要求顺时针旋转滑片时,灯泡变暗。

展示交流:如图丁是两位同学设计的调光台灯的电路,老师认为图b方案更好一些,理由是______。

调光台灯为什么能改变光源的亮度?我们能否设计一个类似的能连续调节灯泡亮度的电路?
项目分析:
让灯泡的亮度发生变化可以有多种方法。改变电池组中串联电池的节数会影响灯泡的亮度;在不改变电源两端电压的情况下,在电路中接入一个滑动变阻器,就可以连续改变灯泡的亮度。
项目实施:
活动一 正确使用滑动变阻器
(1)请在图甲中用笔画线代替导线连接电路,要求滑动变阻器的滑片向右移动时灯泡变暗。
(2)滑动变阻器的铭牌上标有“20 Ω 2 A”字样。其中“20 Ω”指的是______(填符号)两接线柱间的电阻。
(3)根据上面的连接方式,闭合开关前,滑片P应滑到______(选填“A”或“B”)端。
(4)在电路连接完成后闭合开关,发现灯泡立刻发出耀眼的光并很快熄灭。则实验操作中的不当之处可能是将滑动变阻器的______(填符号)两个接线柱接入了电路。
活动二 认识电位器
调光台灯通过旋转旋钮调节亮度,这个旋转旋钮是一个电位器。
(5)电位器的构造:如图乙是电位器的结构示意图,电阻片R的两端分别与接线端A、C相连,滑片的一端通过转轴O与接线端B相连,另一端与电阻片R接触良好,并能绕转轴O在电阻片R上滑动。
(6)电位器的工作原理:电位器是一个变形的滑动变阻器。通过改变连入电路中电阻片的______来改变电阻,从而改变电流的大小和小灯泡的亮度。
活动三 自制一个简易调光台灯
请选择电位器A、B、C三个接线端其中的两个连入电路中,要求顺时针旋转滑片时,灯泡变暗。
展示交流:如图丁是两位同学设计的调光台灯的电路,老师认为图b方案更好一些,理由是______。
答案:
(1)如图所示
(2)A、B
(3)B
(4)C、D
(6)长度 如图所示
图a中,灯泡与电位器串联,可调节灯泡的亮度;图b中,灯泡与电位器及一个定值电阻串联,能调节灯泡的亮度,同时可避免电位器接入电路的电阻过小,电路的电流过大时,损坏灯泡,所以图b更好
(1)如图所示
(2)A、B
(3)B
(4)C、D
(6)长度 如图所示
图a中,灯泡与电位器串联,可调节灯泡的亮度;图b中,灯泡与电位器及一个定值电阻串联,能调节灯泡的亮度,同时可避免电位器接入电路的电阻过小,电路的电流过大时,损坏灯泡,所以图b更好
2. 如图甲所示的调光台灯,通过旋动下方连接碳膜电阻的旋钮,可以调节台灯的亮度。调节亮度的变阻器如图乙所示,要想改变台灯的亮度,变阻器要和灯泡______连接;当将A、C端接入电路时,顺时针旋转滑片,台灯的亮度将______。

答案:
串联 不变
查看更多完整答案,请扫码查看