第46页
- 第1页
- 第2页
- 第3页
- 第4页
- 第5页
- 第6页
- 第7页
- 第8页
- 第9页
- 第10页
- 第11页
- 第12页
- 第13页
- 第14页
- 第15页
- 第16页
- 第17页
- 第18页
- 第19页
- 第20页
- 第21页
- 第22页
- 第23页
- 第24页
- 第25页
- 第26页
- 第27页
- 第28页
- 第29页
- 第30页
- 第31页
- 第32页
- 第33页
- 第34页
- 第35页
- 第36页
- 第37页
- 第38页
- 第39页
- 第40页
- 第41页
- 第42页
- 第43页
- 第44页
- 第45页
- 第46页
- 第47页
- 第48页
- 第49页
- 第50页
- 第51页
- 第52页
- 第53页
- 第54页
- 第55页
- 第56页
- 第57页
- 第58页
- 第59页
- 第60页
- 第61页
- 第62页
- 第63页
- 第64页
- 第65页
- 第66页
- 第67页
- 第68页
- 第69页
- 第70页
- 第71页
- 第72页
- 第73页
- 第74页
- 第75页
- 第76页
- 第77页
- 第78页
- 第79页
1 [2025江苏南京质检]关于电源和用电器,下列说法中正确的是 (
A.电动车行驶时电动机是电源
B.电源是把其他形式的能转化为电能的装置
C.用电器是产生电能的装置
D.充电宝只能作电源,不能作用电器
B
)A.电动车行驶时电动机是电源
B.电源是把其他形式的能转化为电能的装置
C.用电器是产生电能的装置
D.充电宝只能作电源,不能作用电器
答案:
B【解析】电动车行驶时,电动机是消耗电能的设备,不是电源,故A错误;电源是把其他形式的能量转化为电能的装置,故B正确;用电器是把电能转化为其他形式的能量的装置,故C错误;充电宝在充电时消耗电能,是用电器,在给其他装置充电时把其他形式的能量转化为电能,是电源,故D错误。故选B。
2 [2025陕西汉中质检]如图是手机的一种解锁方式,用手指轻轻触碰手机上的感应区,手机识别到正确的指纹后解锁,则感应区相当于电路中的 (

A.电源
B.用电器
C.开关
D.导线
C
)A.电源
B.用电器
C.开关
D.导线
答案:
C【解析】手指轻轻触碰手机上的感应区,手机识别到正确的指纹后解锁,故感应区相当于电路中的开关。
3 如图所示,当开关$S_{1}$、$S_{2}$都断开时,电路处于

断路
状态;当$S_{1}$闭合,$S_{2}$断开时,电路处于通路
状态;当$S_{1}$、$S_{2}$都闭合时,电路处于短路
状态。(均填“通路”“断路”或“短路”)
答案:
断路 通路 短路【解析】
开关状态 电路分析 电路状态
S₁、S₂都断开 电流不能从电源正极出发回到电源负极 断路
S₁、S₂都闭合 电源正、负极被导线直接连接起来 短路
S₁断开、S₂闭合 电源正、负极被导线直接连接起来 短路
S₁闭合、S₂断开 电源、灯泡、开关S₁构成闭合回路 通路
开关状态 电路分析 电路状态
S₁、S₂都断开 电流不能从电源正极出发回到电源负极 断路
S₁、S₂都闭合 电源正、负极被导线直接连接起来 短路
S₁断开、S₂闭合 电源正、负极被导线直接连接起来 短路
S₁闭合、S₂断开 电源、灯泡、开关S₁构成闭合回路 通路
如图所示的电路,$a$、$b$、$c$均为导线。图中电路是
断路
状态,开关闭合后,电路的状态为短路
,可能会将电源烧坏。若要闭合开关后使小灯泡发光,应该拆除导线b
(填“$a$”“$b$”或“$c$”),拆除该导线后闭合开关,此时电路是通路
状态。
答案:
断路 短路 b 通路【解析】由题图可知,开关是断开的,电路中没有电流,是断路状态,开关闭合后,灯泡的两端被导线相连,灯泡短路,电源也短路,即电路处于短路状态,电源可能会被烧坏,若要闭合开关后使小灯泡发光,应该拆除导线b,拆除导线b后闭合开关,此时电路是通路状态。
5 如图所示,根据电路图,请用笔画线代替导线将实物图连接完整。

答案:
如图所示
如图所示
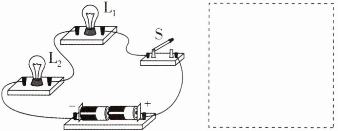
6 请根据如图所示的实物图,在虚线框中画出对应的电路图。

答案:
如图所示
如图所示
7 [2025湖南衡阳调研]如图是定时播放音乐的装置原理图。“播放器”是有电流通过时会播放音乐的装置。闭合开关$S$和“定时开关”时,下列说法正确的是 (


A.指示灯亮,播放器播放音乐
B.指示灯亮,播放器不播放音乐
C.指示灯不亮,播放器播放音乐
D.指示灯不亮,播放器不播放音乐
B
)A.指示灯亮,播放器播放音乐
B.指示灯亮,播放器不播放音乐
C.指示灯不亮,播放器播放音乐
D.指示灯不亮,播放器不播放音乐
答案:
B【解析】由题意知,闭合开关S后,当定时开关处于闭合状态时,指示灯会亮,但播放器被短路,则播放器中没有电流通过,播放器不会播放音乐,故B正确。
查看更多完整答案,请扫码查看