第71页
- 第1页
- 第2页
- 第3页
- 第4页
- 第5页
- 第6页
- 第7页
- 第8页
- 第9页
- 第10页
- 第11页
- 第12页
- 第13页
- 第14页
- 第15页
- 第16页
- 第17页
- 第18页
- 第19页
- 第20页
- 第21页
- 第22页
- 第23页
- 第24页
- 第25页
- 第26页
- 第27页
- 第28页
- 第29页
- 第30页
- 第31页
- 第32页
- 第33页
- 第34页
- 第35页
- 第36页
- 第37页
- 第38页
- 第39页
- 第40页
- 第41页
- 第42页
- 第43页
- 第44页
- 第45页
- 第46页
- 第47页
- 第48页
- 第49页
- 第50页
- 第51页
- 第52页
- 第53页
- 第54页
- 第55页
- 第56页
- 第57页
- 第58页
- 第59页
- 第60页
- 第61页
- 第62页
- 第63页
- 第64页
- 第65页
- 第66页
- 第67页
- 第68页
- 第69页
- 第70页
- 第71页
- 第72页
- 第73页
- 第74页
- 第75页
- 第76页
- 第77页
- 第78页
- 第79页
- 第80页
- 第81页
- 第82页
- 第83页
- 第84页
- 第85页
- 第86页
- 第87页
- 第88页
- 第89页
- 第90页
- 第91页
- 第92页
- 第93页
4. 如图,小罗同学在对比“测量未知电阻阻值”和“研究小灯泡电阻”这两个实验时,下列说法中不正确的是( )

A.这两个实验的原理相同
B.这两个实验用到的测量工具相同
C.这两个实验多次测量的目的不相同
D.这两个实验收集数据进行分析处理的方法相同
A.这两个实验的原理相同
B.这两个实验用到的测量工具相同
C.这两个实验多次测量的目的不相同
D.这两个实验收集数据进行分析处理的方法相同
答案:
4.D
5. (2024·湖北)某小组想测量标有“$2.5\ V\ \ 0.3\ A$”字样的小灯泡在不同工作状态下的电阻,设计了如图甲所示实验电路,电源电压不变。

(1) 请用笔画线表示导线将图甲中实物电路连接完整。
(2) 移动滑动变阻器的滑片至最
(3) 根据实验数据绘制的 $U - I$ 图像如图丙,小灯泡未发光时电阻可能为
A. $0\ \Omega$
B. $3.1\ \Omega$
C. $3.5\ \Omega$
D. $8.3\ \Omega$
(4) 随着电流增大,滑动变阻器两端的电压
(1) 请用笔画线表示导线将图甲中实物电路连接完整。
(2) 移动滑动变阻器的滑片至最
左
端后闭合开关,使电路中的电流在开始测量时最小。向另一端移动滑片,观察到小灯泡在电压达到 $0.42\ V$ 时开始发光,此时电流表示数如图乙,读数为0.12
$A$。(3) 根据实验数据绘制的 $U - I$ 图像如图丙,小灯泡未发光时电阻可能为
B
。A. $0\ \Omega$
B. $3.1\ \Omega$
C. $3.5\ \Omega$
D. $8.3\ \Omega$
(4) 随着电流增大,滑动变阻器两端的电压
减小
,小灯泡的电阻增大
,整个电路中的电阻减小
。(填“增大”“减小”或“不变”)
答案:
5.
(1)
(2)左 0.12
(3)B
(4)减小 增大 减小
5.
(1)
(2)左 0.12
(3)B
(4)减小 增大 减小
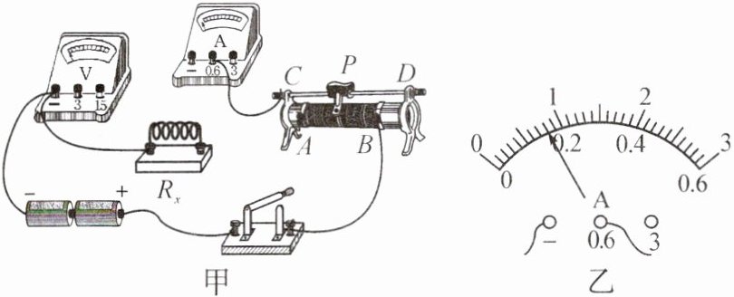
6. 如图甲所示,是小明在“测量定值电阻的阻值”时连接的电路。电源由两节新干电池串联组成,滑动变阻器的铭牌上标有“$50\ \Omega\ \ 1\ A$”的字样。

(1) 用笔画线代替导线,将电路连接完整。
(2) 闭合开关,两电表均无示数;将电压表改接在滑动变阻器两端时,两电表也均无示数;将电压表改接在开关两端时,电压表有示数,电流表无示数。则电路故障可能是
(3) 排除故障后,测得的数据如表:

① 第 2 次实验中电流表的示数如图乙所示,读数为
② $R_x$ 的阻值为
③ 换用规格为“$20\ \Omega\ \ 1\ A$”的滑动变阻器,不能完成表格中第
(1) 用笔画线代替导线,将电路连接完整。
(2) 闭合开关,两电表均无示数;将电压表改接在滑动变阻器两端时,两电表也均无示数;将电压表改接在开关两端时,电压表有示数,电流表无示数。则电路故障可能是
开关开路
。(3) 排除故障后,测得的数据如表:
① 第 2 次实验中电流表的示数如图乙所示,读数为
0.16
$A$;② $R_x$ 的阻值为
10.1
$\Omega$;(结果保留一位小数)③ 换用规格为“$20\ \Omega\ \ 1\ A$”的滑动变阻器,不能完成表格中第
1
次的测量。
答案:
6.
(1)
(2)开关开路
(3)①0.16 ②10.1 ③1
6.
(1)
(2)开关开路
(3)①0.16 ②10.1 ③1
查看更多完整答案,请扫码查看