2025年新课程初中物理同步训练九年级物理全一册沪科版福建专版
注:目前有些书本章节名称可能整理的还不是很完善,但都是按照顺序排列的,请同学们按照顺序仔细查找。练习册 2025年新课程初中物理同步训练九年级物理全一册沪科版福建专版 答案主要是用来给同学们做完题方便对答案用的,请勿直接抄袭。
第154页
- 第1页
- 第2页
- 第3页
- 第4页
- 第5页
- 第6页
- 第7页
- 第8页
- 第9页
- 第10页
- 第11页
- 第12页
- 第13页
- 第14页
- 第15页
- 第16页
- 第17页
- 第18页
- 第19页
- 第20页
- 第21页
- 第22页
- 第23页
- 第24页
- 第25页
- 第26页
- 第27页
- 第28页
- 第29页
- 第30页
- 第31页
- 第32页
- 第33页
- 第34页
- 第35页
- 第36页
- 第37页
- 第38页
- 第39页
- 第40页
- 第41页
- 第42页
- 第43页
- 第44页
- 第45页
- 第46页
- 第47页
- 第48页
- 第49页
- 第50页
- 第51页
- 第52页
- 第53页
- 第54页
- 第55页
- 第56页
- 第57页
- 第58页
- 第59页
- 第60页
- 第61页
- 第62页
- 第63页
- 第64页
- 第65页
- 第66页
- 第67页
- 第68页
- 第69页
- 第70页
- 第71页
- 第72页
- 第73页
- 第74页
- 第75页
- 第76页
- 第77页
- 第78页
- 第79页
- 第80页
- 第81页
- 第82页
- 第83页
- 第84页
- 第85页
- 第86页
- 第87页
- 第88页
- 第89页
- 第90页
- 第91页
- 第92页
- 第93页
- 第94页
- 第95页
- 第96页
- 第97页
- 第98页
- 第99页
- 第100页
- 第101页
- 第102页
- 第103页
- 第104页
- 第105页
- 第106页
- 第107页
- 第108页
- 第109页
- 第110页
- 第111页
- 第112页
- 第113页
- 第114页
- 第115页
- 第116页
- 第117页
- 第118页
- 第119页
- 第120页
- 第121页
- 第122页
- 第123页
- 第124页
- 第125页
- 第126页
- 第127页
- 第128页
- 第129页
- 第130页
- 第131页
- 第132页
- 第133页
- 第134页
- 第135页
- 第136页
- 第137页
- 第138页
- 第139页
- 第140页
- 第141页
- 第142页
- 第143页
- 第144页
- 第145页
- 第146页
- 第147页
- 第148页
- 第149页
- 第150页
- 第151页
- 第152页
- 第153页
- 第154页
- 第155页
- 第156页
- 第157页
- 第158页
- 第159页
- 第160页
- 第161页
- 第162页
- 第163页
- 第164页
- 第165页
- 第166页
- 第167页
- 第168页
- 第169页
- 第170页
- 第171页
- 第172页
- 第173页
- 第174页
- 第175页
- 第176页
- 第177页
- 第178页
- 第179页
- 第180页
举一反三
常见的发电方式有火力发电、水力发电和核能发电。在水力发电站中,发电站将水的
常见的发电方式有火力发电、水力发电和核能发电。在水力发电站中,发电站将水的
机械
能最终转化为电
能并送到千家万户中。
答案:
机械 电
- 1. 图19-20是交流发电机的结构示意图,其中$A$是

线圈
,$B$是铜环
,$C$是电刷
。
答案:
线圈 铜环 电刷
- 2. 核能发电利用的是


轴
原子核裂变,其能量转化过程是核能→水和蒸汽的内
能→发电机转子的机械
能→电能。
答案:
轴 内 机械
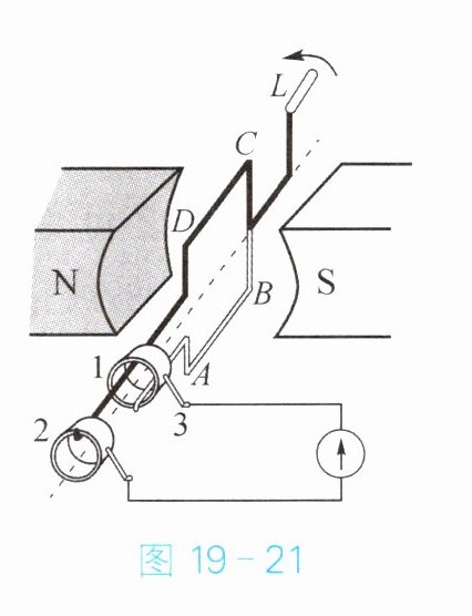
3. 图19-21是交流发电机的原理图。此时线圈平面与磁感线垂直,则(

A.线圈转动到图中位置的瞬间,不会产生感应电流
B.交流发电机的工作原理是通电导体在磁场中受力的作用
C.交流发电机是将电能转化成机械能的装置
D.线圈匀速转动时,线圈中产生的电流方向改变,但大小不变
A
)。A.线圈转动到图中位置的瞬间,不会产生感应电流
B.交流发电机的工作原理是通电导体在磁场中受力的作用
C.交流发电机是将电能转化成机械能的装置
D.线圈匀速转动时,线圈中产生的电流方向改变,但大小不变
答案:
A
- 4. 在码头附近的海面上,放置一些铁板,就可以源源不断地获取电力。如图19-22所示,装置中有液压马达、蓄电池和发电机,发电机是根据


电磁感应
原理制成的。铁板依据海洋的潮起潮落,把海水的机械
能转化为电
能。
答案:
电磁感应 机械 电
- 5. 如图19-23所示,风力发电机是将机械能转化为
电
能的装置,其工作原理是电磁感应现象
。现代风力发电技术,利用微风带动叶片旋转,通过增速机提升旋转速度。
答案:
电 电磁感应现象
查看更多完整答案,请扫码查看