第103页
- 第1页
- 第2页
- 第3页
- 第4页
- 第5页
- 第6页
- 第7页
- 第8页
- 第9页
- 第10页
- 第11页
- 第12页
- 第13页
- 第14页
- 第15页
- 第16页
- 第17页
- 第18页
- 第19页
- 第20页
- 第21页
- 第22页
- 第23页
- 第24页
- 第25页
- 第26页
- 第27页
- 第28页
- 第29页
- 第30页
- 第31页
- 第32页
- 第33页
- 第34页
- 第35页
- 第36页
- 第37页
- 第38页
- 第39页
- 第40页
- 第41页
- 第42页
- 第43页
- 第44页
- 第45页
- 第46页
- 第47页
- 第48页
- 第49页
- 第50页
- 第51页
- 第52页
- 第53页
- 第54页
- 第55页
- 第56页
- 第57页
- 第58页
- 第59页
- 第60页
- 第61页
- 第62页
- 第63页
- 第64页
- 第65页
- 第66页
- 第67页
- 第68页
- 第69页
- 第70页
- 第71页
- 第72页
- 第73页
- 第74页
- 第75页
- 第76页
- 第77页
- 第78页
- 第79页
- 第80页
- 第81页
- 第82页
- 第83页
- 第84页
- 第85页
- 第86页
- 第87页
- 第88页
- 第89页
- 第90页
- 第91页
- 第92页
- 第93页
- 第94页
- 第95页
- 第96页
- 第97页
- 第98页
- 第99页
- 第100页
- 第101页
- 第102页
- 第103页
- 第104页
- 第105页
- 第106页
- 第107页
- 第108页
- 第109页
- 第110页
- 第111页
- 第112页
1.(教材图片题)如图所示为某学校升旗的情景,旗杆顶装的滑轮是______滑轮,其实质是一个等臂杠杆,它的作用是________________。

答案:
定 改变力的方向
2.如图所示,定滑轮与细绳间的摩擦忽略不计,沿着绳向下匀速拉动弹簧测力计,钩码将________(填"向上"或"向下")运动,若钩码上升10cm,弹簧测力计将向下移动______cm。钩码由____段绳子承担。

答案:
向上 10 1
3.如图所示,健身员向下摆动脚踝使细绳拉着重50N的物体缓慢提升时,图中的滑轮种类及拉力的大小是 ( )

A.定滑轮,25N
B.动滑轮,25N
C.定滑轮,50N
D.动滑轮,50N
A.定滑轮,25N
B.动滑轮,25N
C.定滑轮,50N
D.动滑轮,50N
答案:
C
4.(2024.内江)如图所示,一根绳子绕过定滑轮,一端拴在物体上,另一端拴在弹簧测力计上,沿四个不同方向匀速拉起物体,弹簧测力计的示数分别为F1、F2、F3、F4,则它们的大小关系为 ( )

A.F1>F2
B.F3>F4
C.F1<F4
D.F1=F2=F3=F4
A.F1>F2
B.F3>F4
C.F1<F4
D.F1=F2=F3=F4
答案:
D
5.如图所示,用一个动滑轮把重G=500N的物体匀速提起的高度h=2m。
(1)重物由______段绳子承担;
(2)若不计摩擦和动滑轮重,人对绳子的拉力F=________N,绳子自由端移动的距离s =______m;
(3)若动滑轮重40N,不计绳重与摩擦,则拉力F'=________N.

(1)重物由______段绳子承担;
(2)若不计摩擦和动滑轮重,人对绳子的拉力F=________N,绳子自由端移动的距离s =______m;
(3)若动滑轮重40N,不计绳重与摩擦,则拉力F'=________N.
答案:
(1)2
(2)250 4
(3)270
(1)2
(2)250 4
(3)270
6.如图所示,动滑轮重为1N,拉力F为5N,则重物G为(不计绳重和摩擦) ( )

A.4N
B.6N
C.10N
D.9N
A.4N
B.6N
C.10N
D.9N
答案:
D
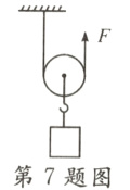
7.(2024.牡丹江)如图所示,利用动滑轮提升物体,使其在10s内匀速上升4m,物体的重力为10N,动滑轮的重力为2N,不计绳重与摩擦。下列说法正确的是 ( )

A.使用动滑轮可以省距离
B.物体运动的速度为4m/s
C.拉力的大小为5N
D.绳子自由端移动的距离为8m
A.使用动滑轮可以省距离
B.物体运动的速度为4m/s
C.拉力的大小为5N
D.绳子自由端移动的距离为8m
答案:
D
查看更多完整答案,请扫码查看