2025年教材全练五年级数学下册北京课改版
注:目前有些书本章节名称可能整理的还不是很完善,但都是按照顺序排列的,请同学们按照顺序仔细查找。练习册 2025年教材全练五年级数学下册北京课改版 答案主要是用来给同学们做完题方便对答案用的,请勿直接抄袭。
第67页
- 第1页
- 第2页
- 第3页
- 第4页
- 第5页
- 第6页
- 第7页
- 第8页
- 第9页
- 第10页
- 第11页
- 第12页
- 第13页
- 第14页
- 第15页
- 第16页
- 第17页
- 第18页
- 第19页
- 第20页
- 第21页
- 第22页
- 第23页
- 第24页
- 第25页
- 第26页
- 第27页
- 第28页
- 第29页
- 第30页
- 第31页
- 第32页
- 第33页
- 第34页
- 第35页
- 第36页
- 第37页
- 第38页
- 第39页
- 第40页
- 第41页
- 第42页
- 第43页
- 第44页
- 第45页
- 第46页
- 第47页
- 第48页
- 第49页
- 第50页
- 第51页
- 第52页
- 第53页
- 第54页
- 第55页
- 第56页
- 第57页
- 第58页
- 第59页
- 第60页
- 第61页
- 第62页
- 第63页
- 第64页
- 第65页
- 第66页
- 第67页
- 第68页
4. 按下列图形的规律摆放小正方体。

观图可知:

照这样摆下去,图5露在外面的面有几个?图8有多少个小正方体?
观图可知:
照这样摆下去,图5露在外面的面有几个?图8有多少个小正方体?
答案:
17个 16个
5. 把一根绳子连续剪4次,分别剪去它的$\frac{1}{2}$、$\frac{1}{4}$、$\frac{1}{8}$和$\frac{1}{16}$。还剩这根绳子的几分之几?
答案:
$1 - \frac{1}{2} - \frac{1}{4} - \frac{1}{8} - \frac{1}{16} = \frac{1}{16}$
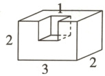
6. (素养题) 有一块长方体木料,长是3分米,宽是2分米,高是2分米。从这块长方体木料上挖去一个棱长是1分米的正方体,剩下木料的表面积最小是多少平方分米?
答案:
情况一 从长方体木料的一个顶点处挖去一个棱长是1分米的正方体。如下所示:(图中单位:分米)
(3×2 + 3×2 + 2×2)×2 = 32(分米²)情况二 从长方体木料的一个面上挖去一个棱长是1分米的正方体。如下所示:(图中单位:分米)
(3×2 + 3×2 + 2×2)×2 + 1×1×4 = 36(分米²)情况三 从长方体木料的一条棱上挖去一个棱长是1分米的正方体。如下所示:(图中单位:分米)
(3×2 + 3×2 + 2×2)×2 + 1×1×2 = 34(分米²)32<34<36,剩下木料的表面积最小是32分米²。[解析]本题的考查点是求立体图形的表面积,主要体现的素养点是空间观念。解决此题需要认真分析从长方体木料上挖去一个棱长是1分米的正方体有几种情况,先计算出每种情况剩下木料的表面积,再进行比较,从而确定剩下木料的表面积最小是多少平方分米。
情况一 从长方体木料的一个顶点处挖去一个棱长是1分米的正方体。如下所示:(图中单位:分米)
查看更多完整答案,请扫码查看