2025年金版学案同步优学智慧作业九年级物理上册人教版
注:目前有些书本章节名称可能整理的还不是很完善,但都是按照顺序排列的,请同学们按照顺序仔细查找。练习册 2025年金版学案同步优学智慧作业九年级物理上册人教版 答案主要是用来给同学们做完题方便对答案用的,请勿直接抄袭。
第78页
- 第1页
- 第2页
- 第3页
- 第4页
- 第5页
- 第6页
- 第7页
- 第8页
- 第9页
- 第10页
- 第11页
- 第12页
- 第13页
- 第14页
- 第15页
- 第16页
- 第17页
- 第18页
- 第19页
- 第20页
- 第21页
- 第22页
- 第23页
- 第24页
- 第25页
- 第26页
- 第27页
- 第28页
- 第29页
- 第30页
- 第31页
- 第32页
- 第33页
- 第34页
- 第35页
- 第36页
- 第37页
- 第38页
- 第39页
- 第40页
- 第41页
- 第42页
- 第43页
- 第44页
- 第45页
- 第46页
- 第47页
- 第48页
- 第49页
- 第50页
- 第51页
- 第52页
- 第53页
- 第54页
- 第55页
- 第56页
- 第57页
- 第58页
- 第59页
- 第60页
- 第61页
- 第62页
- 第63页
- 第64页
- 第65页
- 第66页
- 第67页
- 第68页
- 第69页
- 第70页
- 第71页
- 第72页
- 第73页
- 第74页
- 第75页
- 第76页
- 第77页
- 第78页
- 第79页
- 第80页
- 第81页
- 第82页
- 第83页
- 第84页
- 第85页
- 第86页
- 第87页
- 第88页
- 第89页
- 第90页
- 第91页
- 第92页
1. 变阻器
概念:能改变接入电路中电阻大小的元件。
原理:通过改变接入电路中的电阻丝的
概念:能改变接入电路中电阻大小的元件。
原理:通过改变接入电路中的电阻丝的
长度
来改变电阻。
答案:
长度
2. 滑动变阻器的使用
滑动变阻器上通常标有最大电阻和允许通过的最大电流,使用时要根据需要进行选择,不能使通过的电流超过
在电路中,滑动变阻器的主要作用是通过调节其电阻来改变电路中的电流。
滑动变阻器上通常标有最大电阻和允许通过的最大电流,使用时要根据需要进行选择,不能使通过的电流超过
最大
,否则会烧坏滑动变阻器。通常,在使用前应将滑动变阻器的电阻调节到最大值
。在电路中,滑动变阻器的主要作用是通过调节其电阻来改变电路中的电流。
答案:
最大值 最大
3. 变阻器的应用
滑动变阻器一般只在实验室中应用。有些家用电器中,用于音量调节的器件也是一种变阻器,通常称为
滑动变阻器一般只在实验室中应用。有些家用电器中,用于音量调节的器件也是一种变阻器,通常称为
电位器
。除机械式电位器外,数字电位器的使用越来越广泛。数字电位器是一种用数字信号控制电阻的器件(集成电路)。
答案:
电位器
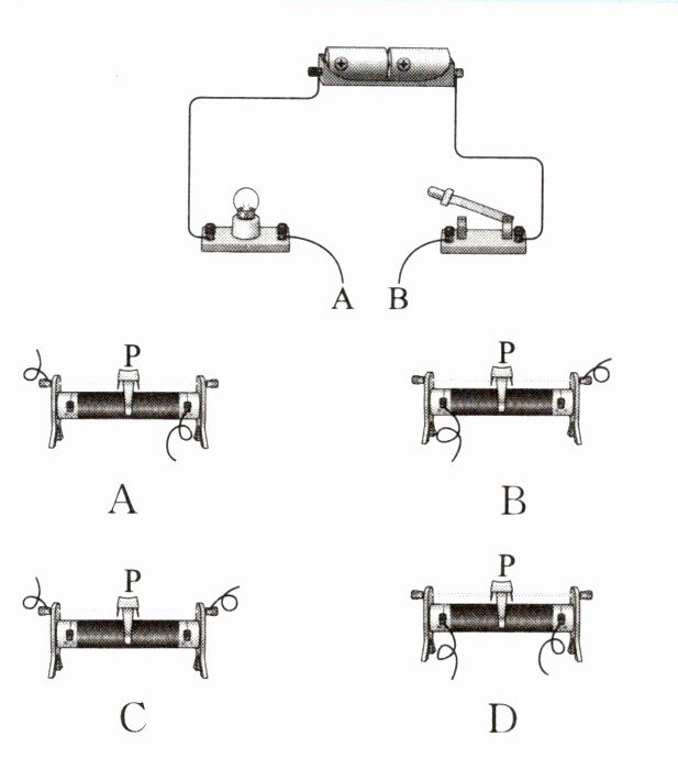
【典例1】如图所示电路,在导线A、B端接一滑动变阻器,闭合开关后灯泡能发光。现要使滑动变阻器的滑片P向右滑动的过程中,灯泡亮度变暗,则下列接法中正确的是(

B
)
答案:
解析 选项A中滑动变阻器左上、右下接线柱接入电路,滑动变阻器的滑片P向右滑动的过程中,接入电路的电阻变小,电路中电流变大,灯泡亮度变亮,A不符合题意;选项B中滑动变阻器右上、左下接线柱接入电路,滑动变阻器的滑片P向右滑动的过程中,接入电路的电阻变大,电路中电流变小,灯泡亮度变暗,B符合题意;选项C中滑动变阻器上方两接线柱接入电路,相当于接入一根导线,滑动变阻器的滑片P向右滑动的过程中,接入电路的电阻不变,电路中电流不变,灯泡亮度不变,C不符合题意;选项D中滑动变阻器下方两接线柱接入电路,相当于接入一个定值电阻,滑动变阻器的滑片P向右滑动的过程中,接入电路的电阻不变,电路中电流不变,灯泡亮度不变,D不符合题意。故选B。
答案 B
答案 B
查看更多完整答案,请扫码查看