2025年金版学案同步优学智慧作业九年级物理上册人教版
注:目前有些书本章节名称可能整理的还不是很完善,但都是按照顺序排列的,请同学们按照顺序仔细查找。练习册 2025年金版学案同步优学智慧作业九年级物理上册人教版 答案主要是用来给同学们做完题方便对答案用的,请勿直接抄袭。
第24页
- 第1页
- 第2页
- 第3页
- 第4页
- 第5页
- 第6页
- 第7页
- 第8页
- 第9页
- 第10页
- 第11页
- 第12页
- 第13页
- 第14页
- 第15页
- 第16页
- 第17页
- 第18页
- 第19页
- 第20页
- 第21页
- 第22页
- 第23页
- 第24页
- 第25页
- 第26页
- 第27页
- 第28页
- 第29页
- 第30页
- 第31页
- 第32页
- 第33页
- 第34页
- 第35页
- 第36页
- 第37页
- 第38页
- 第39页
- 第40页
- 第41页
- 第42页
- 第43页
- 第44页
- 第45页
- 第46页
- 第47页
- 第48页
- 第49页
- 第50页
- 第51页
- 第52页
- 第53页
- 第54页
- 第55页
- 第56页
- 第57页
- 第58页
- 第59页
- 第60页
- 第61页
- 第62页
- 第63页
- 第64页
- 第65页
- 第66页
- 第67页
- 第68页
- 第69页
- 第70页
- 第71页
- 第72页
- 第73页
- 第74页
- 第75页
- 第76页
- 第77页
- 第78页
- 第79页
- 第80页
- 第81页
- 第82页
- 第83页
- 第84页
- 第85页
- 第86页
- 第87页
- 第88页
- 第89页
- 第90页
- 第91页
- 第92页
2. 下列交通工具没有利用热机的是(
A.喷气式飞机
B.燃油汽车
C.越野摩托车
D.山地自行车
D
)A.喷气式飞机
B.燃油汽车
C.越野摩托车
D.山地自行车
答案:
D
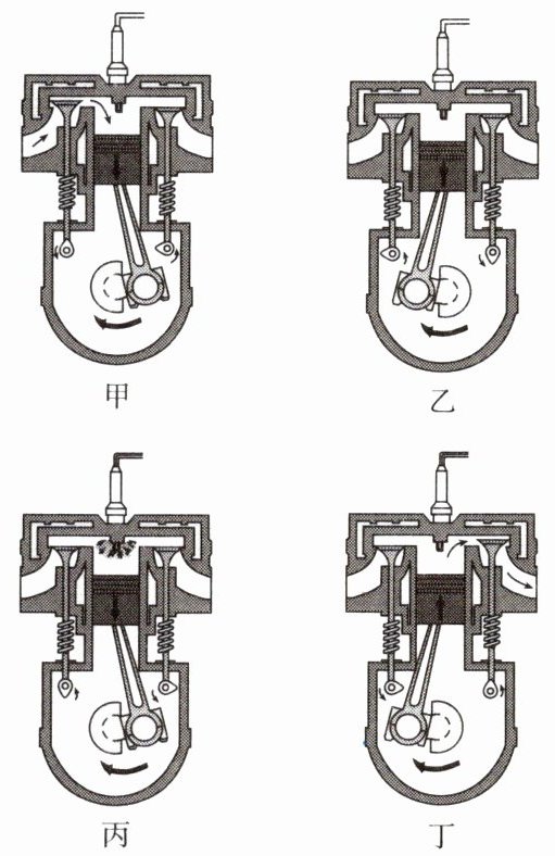
3. 汽车已经成为现代生活不可缺少的一部分,汽车多数采用汽油机作为发动机。如图是四冲程汽油机的一个工作循环示意图,下列说法正确的是(

A.汽油机在图丙冲程能获得动力
B.图丙冲程中没有能量的转化
C.图丁冲程中将内能转化为机械能
D.在一个工作循环过程正确顺序是:乙、甲、丁、丙
A
)A.汽油机在图丙冲程能获得动力
B.图丙冲程中没有能量的转化
C.图丁冲程中将内能转化为机械能
D.在一个工作循环过程正确顺序是:乙、甲、丁、丙
答案:
3.A 【解析】丙冲程,气门都关闭,活塞向下运动,气缸容积增大,是做功冲程,将内能转化为机械能,为汽油机提供动力,A正确,B错误;丁冲程,排气门打开,活塞向上运动,气缸容积减小,是排气冲程,该冲程排出废气,带走大部分热量,没有能量的转化,C错误;甲冲程,进气门打开,活塞向下运动,气缸容积增大,是吸气冲程,乙冲程,气门都关闭,活塞向上运动,气缸容积减小,是压缩冲程,故在一个工作循环过程正确顺序是:甲、乙、丙、丁,D错误。故选A。
4. 如图所示是某种内燃机某一冲程的示意图,由图可知:

(1)这种内燃机是
(2)它表示的是
(3)在这个冲程中
(4)完成这一冲程,曲轴和飞轮转
(1)这种内燃机是
柴油
机。(2)它表示的是
压缩
冲程。(3)在这个冲程中
机械
能转化为内
能。(4)完成这一冲程,曲轴和飞轮转
半
转。
答案:
(1)柴油
(2)压缩
(3)机械 内
(4)半
(1)柴油
(2)压缩
(3)机械 内
(4)半
5. 如图所示的内燃机它正处在

吸气
冲程,若其上方安装有喷油嘴,那么该内燃机应该是柴油
(选填“汽油”或“柴油”)机;已知内燃机的转速为600r/min,它1秒钟对外做功5
次。
答案:
吸气 柴油 5
1. 如图所示为汽油机工作过程的示意图,其中表示做功冲程的是(

B
)
答案:
B
2. 如图所示是四冲程汽油机工作过程中的某一冲程的示意图。关于这一冲程,下列说法正确的是(

A.这是吸气冲程,气缸内吸进混合气体
B.这是压缩冲程,把机械能转化为内能
C.这是做功冲程,把内能转化为机械能
D.这是排气冲程,排出气缸中的废气
B
)A.这是吸气冲程,气缸内吸进混合气体
B.这是压缩冲程,把机械能转化为内能
C.这是做功冲程,把内能转化为机械能
D.这是排气冲程,排出气缸中的废气
答案:
B
查看更多完整答案,请扫码查看