第33页
- 第4页
- 第5页
- 第6页
- 第7页
- 第8页
- 第9页
- 第10页
- 第11页
- 第12页
- 第13页
- 第14页
- 第15页
- 第16页
- 第17页
- 第18页
- 第19页
- 第20页
- 第21页
- 第22页
- 第23页
- 第24页
- 第25页
- 第26页
- 第27页
- 第28页
- 第29页
- 第30页
- 第31页
- 第32页
- 第33页
- 第34页
- 第35页
- 第36页
- 第37页
- 第38页
- 第39页
- 第40页
- 第41页
- 第42页
- 第43页
- 第44页
- 第45页
- 第46页
- 第47页
- 第48页
- 第49页
- 第50页
- 第51页
- 第52页
- 第53页
- 第54页
- 第55页
- 第56页
- 第57页
- 第58页
- 第59页
- 第60页
- 第61页
- 第62页
- 第63页
- 第64页
- 第65页
- 第66页
- 第67页
- 第68页
- 第69页
- 第70页
- 第71页
- 第72页
- 第73页
- 第74页
- 第75页
- 第76页
- 第77页
- 第78页
- 第79页
- 第80页
- 第81页
- 第82页
- 第83页
- 第84页
- 第85页
- 第86页
- 第87页
- 第88页
- 第89页
- 第90页
- 第91页
- 第92页
- 第93页
- 第94页
- 第95页
- 第96页
- 第97页
- 第98页
- 第99页
- 第100页
4. (2023·铜山期末)如图所示,$OAB$为一可绕$O$点自由转动的轻质杠杆,$OA$垂直于$AB$,且$OA$长度为$40cm$,$AB$长度为$30cm$,在$OA$中点$C$处挂一质量为$1kg$的物体,要求在端点$B$处施加一个最小的力$F$,使杠杆在图示位置平衡,则$F$的力臂是

50
$cm$,最小的力$F$是4
$N$。($g$取$10N/kg$)
答案:
4. 50 4
5. 生活中常见的杆秤如图所示。称量时杆秤在水平位置平衡,被测物体和秤砣到提纽的距离分别为$0.05m$、$0.2m$,秤砣的质量为$0.1kg$,秤杆的质量忽略不计,则被测物体的质量为

0.4
$kg$。若秤砣有缺损,则杆秤所测物体的质量会偏大
(偏大/偏小)。
答案:
5. 0.4 偏大
6. 如图所示,一根可绕$O$点转动的均匀硬棒重为$G$,在硬棒的一端始终施加水平力$F$,将硬棒从图示位置缓慢提起至虚线位置的过程中(

A.$F$的力臂变小,$F$变大
B.$F$的力臂变大,$F$变小
C.重力$G$与它的力臂乘积保持不变
D.重力$G$与它的力臂乘积变大
B
)A.$F$的力臂变小,$F$变大
B.$F$的力臂变大,$F$变小
C.重力$G$与它的力臂乘积保持不变
D.重力$G$与它的力臂乘积变大
答案:
6. B
7. (2024·沛县校级段考)下列工具中,在使用时属于费距离杠杆的是(

A.筷子
B.瓶盖起子
C.镊子
D.天平
B
)A.筷子
B.瓶盖起子
C.镊子
D.天平
答案:
7. B
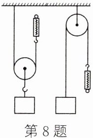
8. 为探究动滑轮和定滑轮的特点,设计了如图所示的两种方式提升重物,下列关于探究的做法和认识,正确的是(

A.用定滑轮拉重物,拉力竖直向下最省力
B.用动滑轮提升重物上升$h$高度,测力计也上升$h$高度
C.定滑轮实质上是一个等臂杠杆
D.用动滑轮拉力更小,且省距离
C
)A.用定滑轮拉重物,拉力竖直向下最省力
B.用动滑轮提升重物上升$h$高度,测力计也上升$h$高度
C.定滑轮实质上是一个等臂杠杆
D.用动滑轮拉力更小,且省距离
答案:
8. C
查看更多完整答案,请扫码查看