第25页
- 第1页
- 第2页
- 第3页
- 第4页
- 第5页
- 第6页
- 第7页
- 第8页
- 第9页
- 第10页
- 第11页
- 第12页
- 第13页
- 第14页
- 第15页
- 第16页
- 第17页
- 第18页
- 第19页
- 第20页
- 第21页
- 第22页
- 第23页
- 第24页
- 第25页
- 第26页
- 第27页
- 第28页
- 第29页
- 第30页
- 第31页
- 第32页
- 第33页
- 第34页
- 第35页
- 第36页
- 第37页
- 第38页
- 第39页
- 第40页
- 第41页
- 第42页
- 第43页
- 第44页
- 第45页
- 第46页
- 第47页
- 第48页
- 第49页
- 第50页
- 第51页
- 第52页
- 第53页
- 第54页
- 第55页
- 第56页
- 第57页
- 第58页
- 第59页
- 第60页
- 第61页
- 第62页
- 第63页
- 第64页
- 第65页
- 第66页
- 第67页
- 第68页
例4 (1)在如图中有电子门铃、电源和开关,请用笔画线表示导线把它们连接起来,使门铃能够正常工作,并在方框内画出相应的电路图。(电子门铃可以用—电子门铃—表示)

(2)根据图中的实物连接,在方框中画出相应的电路图。

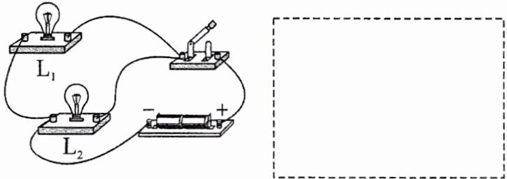
(3)根据实物图,在虚线方框内画出对应的电路图。

(2)根据图中的实物连接,在方框中画出相应的电路图。
(3)根据实物图,在虚线方框内画出对应的电路图。
答案:
(1)

(2)

(3)

(1)
(2)
(3)
5. 手电筒的结构如图所示,按下按键时,电路接通,小灯泡发光。下列关于该手电筒的电路图符合要求的是(
B
)
答案:
解:手电筒电路由电源(电池)、用电器(小灯泡)、开关(按键)和导线组成,按下按键时电路接通,即开关闭合时电路通路。
A图无开关,不符合;B图有电源、灯泡、开关且串联,开关闭合时电路接通,符合;C图无电源,不符合;D图开关与灯泡并联,闭合时灯泡短路,不符合。
答案:B
A图无开关,不符合;B图有电源、灯泡、开关且串联,开关闭合时电路接通,符合;C图无电源,不符合;D图开关与灯泡并联,闭合时灯泡短路,不符合。
答案:B
6. 如图甲所示是小唐同学连接的实物图,将对应的电路图画在图乙的方框中。

答案:
7. 根据图甲所示的电路图,将图乙中电学元件用笔画线代替导线连接起来(连线不得交叉)。

答案:
查看更多完整答案,请扫码查看