第34页
- 第2页
- 第3页
- 第4页
- 第5页
- 第6页
- 第7页
- 第8页
- 第9页
- 第10页
- 第11页
- 第12页
- 第13页
- 第14页
- 第15页
- 第16页
- 第17页
- 第18页
- 第19页
- 第20页
- 第21页
- 第22页
- 第23页
- 第24页
- 第25页
- 第26页
- 第27页
- 第28页
- 第29页
- 第30页
- 第31页
- 第32页
- 第33页
- 第34页
- 第35页
- 第36页
- 第37页
- 第38页
- 第39页
- 第40页
- 第41页
- 第42页
- 第43页
- 第44页
- 第45页
- 第46页
- 第47页
- 第48页
- 第49页
- 第50页
- 第51页
- 第52页
- 第53页
- 第54页
- 第55页
- 第56页
- 第57页
- 第58页
- 第59页
- 第60页
- 第61页
- 第62页
- 第63页
- 第64页
- 第65页
- 第66页
- 第67页
- 第68页
- 第69页
- 第70页
- 第71页
- 第72页
- 第73页
- 第74页
- 第75页
- 第76页
- 第77页
- 第78页
- 第79页
- 第80页
1. 根据电路图甲,用笔画线代替导线将实物图乙连接完整。

答案:
1.
1.
2. 请按电路图甲,用笔画线代替导线把如图乙所示的实物连起来。

答案:
2.
2.
3. 如图,请根据电路图甲连接实物图乙。

答案:
3.
3.
4. 根据电路图甲,请用笔画线代替导线连接实物图乙。

答案:
4.
4.
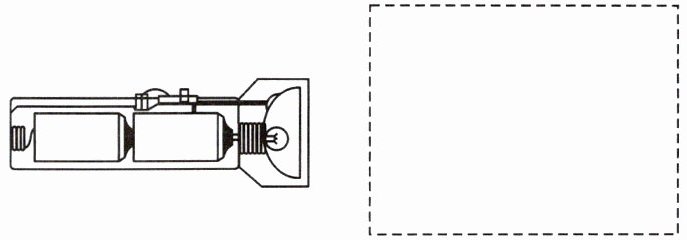
5. 如图所示,是手电筒的实物图,请在虚线框内画出手电筒的电路图。

答案:
5.
5.
6. 根据实物图,在虚线框内画出对应的电路图。(电铃用符号“☏”表示)

答案:
6.
6.
7. (2024·开封祥符区期末)根据如图所示的实物电路,在虚线框内画出对应的电路图。

答案:
7.
7.
8. (2024·洛阳偃师区期中)根据实物连接图在虚线框内画出对应的电路图。

答案:
8.
8.
查看更多完整答案,请扫码查看