第24页
- 第1页
- 第2页
- 第3页
- 第4页
- 第5页
- 第6页
- 第7页
- 第8页
- 第9页
- 第10页
- 第11页
- 第12页
- 第13页
- 第14页
- 第15页
- 第16页
- 第17页
- 第18页
- 第19页
- 第20页
- 第21页
- 第22页
- 第23页
- 第24页
- 第25页
- 第26页
- 第27页
- 第28页
- 第29页
- 第30页
- 第31页
- 第32页
- 第33页
- 第34页
- 第35页
- 第36页
- 第37页
- 第38页
- 第39页
- 第40页
- 第41页
- 第42页
- 第43页
- 第44页
- 第45页
- 第46页
- 第47页
- 第48页
- 第49页
- 第50页
- 第51页
- 第52页
- 第53页
- 第54页
- 第55页
- 第56页
- 第57页
- 第58页
- 第59页
- 第60页
- 第61页
- 第62页
- 第63页
- 第64页
- 第65页
- 第66页
- 第67页
- 第68页
- 第69页
- 第70页
- 第71页
- 第72页
- 第73页
- 第74页
- 第75页
- 第76页
- 第77页
- 第78页
- 第79页
- 第80页
- 第81页
- 第82页
- 第83页
- 第84页
- 第85页
- 第86页
- 第87页
- 第88页
- 第89页
- 第90页
- 第91页
- 第92页
- 第93页
- 第94页
- 第95页
- 第96页
- 第97页
- 第98页
- 第99页
- 第100页
- 第101页
- 第102页
- 第103页
- 第104页
- 第105页
- 第106页
- 第107页
- 第108页
1. 如图为探究水的组成的两个实验(实验1的水中加入少量氢氧化钠溶液)。下列说法正确的是(
水的组成及变化的探究

A.实验1试管甲中气体能使带火星的木条复燃
B.实验2中能观察到气体燃烧,产生淡蓝色火焰
C.两个实验中发生的反应均为分解反应
D.两个实验均可证明水由氢气和氧气组成
B
)水的组成及变化的探究
A.实验1试管甲中气体能使带火星的木条复燃
B.实验2中能观察到气体燃烧,产生淡蓝色火焰
C.两个实验中发生的反应均为分解反应
D.两个实验均可证明水由氢气和氧气组成
答案:
B
2. (黑白卷)如图是某同学在老师指导下设计的电解水装置,下列说法不正确的是(

A.实验中能观察到气球逐渐变大
B.气球a中的气体为氢气
C.与导线N连接的是电源的负极
D.气球a、b中产生气体的体积比约为2:1
C
)A.实验中能观察到气球逐渐变大
B.气球a中的气体为氢气
C.与导线N连接的是电源的负极
D.气球a、b中产生气体的体积比约为2:1
答案:
C
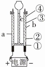
3. 兴趣小组同学利用如图实验装置探究水的组成(水中加入少量氢氧化钠溶液)。

(1)水中加入氢氧化钠溶液的目的是
(2)电解时需要接通的是
(3)(操作细节)实验开始前,向电解器中加水时,电解器玻璃管a、b两端的活塞应
(4)(实验细节)电解时,图中玻璃管b产生气泡的起始位置在
(5)实验结束后,打开活塞,将燃着的木条分别靠近玻璃管a、b尖嘴口,产生的现象分别是
(6)根据气体检验现象可知水由
(7)(意外现象)实验结束后,玻璃管b、a中产生的气体体积比略大于2:1,则可能的原因是
(1)水中加入氢氧化钠溶液的目的是
增强导电性
。(2)电解时需要接通的是
直流
(填“交流”或“直流”)电源。(3)(操作细节)实验开始前,向电解器中加水时,电解器玻璃管a、b两端的活塞应
打开
(填“打开”或“关闭”)。(4)(实验细节)电解时,图中玻璃管b产生气泡的起始位置在
①
(填“①”“②”“③”或“④”)。通电一段时间后,玻璃管c中液面高度上升
(填“上升”“下降”或“不变”)。(5)实验结束后,打开活塞,将燃着的木条分别靠近玻璃管a、b尖嘴口,产生的现象分别是
木条燃烧得更旺
、气体燃烧,产生淡蓝色火焰
。(6)根据气体检验现象可知水由
氢元素和氧元素(或H和O)
组成。(7)(意外现象)实验结束后,玻璃管b、a中产生的气体体积比略大于2:1,则可能的原因是
氧气在水中的溶解能力大于氢气在水中的溶解能力(或氧气可能与电极材料发生反应,导致氧气体积减小等,合理即可)
。
答案:
(1)增强导电性
(2)直流
(3)打开
(4)① 上升
(5)木条燃烧得更旺 气体燃烧,产生淡蓝色火焰
(6)氢元素和氧元素(或H和O)
(7)氧气在水中的溶解能力大于氢气在水中的溶解能力(或氧气可能与电极材料发生反应,导致氧气体积减小等,合理即可)
(1)增强导电性
(2)直流
(3)打开
(4)① 上升
(5)木条燃烧得更旺 气体燃烧,产生淡蓝色火焰
(6)氢元素和氧元素(或H和O)
(7)氧气在水中的溶解能力大于氢气在水中的溶解能力(或氧气可能与电极材料发生反应,导致氧气体积减小等,合理即可)
1. 人类对水的组成的认识经历了很长的一段时间。
(1)1766年卡文迪什把锌粒加到稀硫酸中,发现了“易燃空气”。同一时期,普里斯特利发现这种气体能在玻璃容器内燃烧产生水珠。由此推测“易燃空气”为
(2)1781年卡文迪什发现“易燃空气”可以在纯氧中燃烧,并且生成物只有水。该实验证明水
(3)1800年,英国化学家尼克尔森,进行了水的电解实验,该反应的文字表达式为
(1)1766年卡文迪什把锌粒加到稀硫酸中,发现了“易燃空气”。同一时期,普里斯特利发现这种气体能在玻璃容器内燃烧产生水珠。由此推测“易燃空气”为
氢气(或H₂)
。(2)1781年卡文迪什发现“易燃空气”可以在纯氧中燃烧,并且生成物只有水。该实验证明水
不是
(填“是”或“不是”)一种元素。(3)1800年,英国化学家尼克尔森,进行了水的电解实验,该反应的文字表达式为
水$\xrightarrow{通电}$氢气+氧气
,该实验证明水由氢元素和氧元素(或H和O)
组成。
答案:
(1)氢气(或H₂)
(2)不是
(3)水$\xrightarrow{通电}$氢气+氧气 氢元素和氧元素(或H和O)
(1)氢气(或H₂)
(2)不是
(3)水$\xrightarrow{通电}$氢气+氧气 氢元素和氧元素(或H和O)
查看更多完整答案,请扫码查看