4. 两烧杯各装100g水,用酒精灯加热甲烧杯,煤油灯加热乙烧杯,直至杯内水沸腾1分钟即熄灭该灯,测得消耗酒精4g、煤油2.5g。她根据实验数据绘制了水温与加热时间关系的图像(如图22所示)。若水沸腾前质量不改变,同一杯水沸腾前后单位时间内吸收的热量相等,q酒精$=3.0×10^7J/kg,q$煤油$=4.6×10^7J/kg,c$水$=4.2×10^3J/(kg•℃),$则下列说法正确的是(

BC
)A.整个过程,甲杯中的水吸收的热量更多B.前3分钟,乙杯中的水吸收的热量为$3.36×10^4JC.$消耗的煤油完全燃烧放出的热量为$1.15×10^5JD.$酒精灯加热的效率为28%
答案:
BC
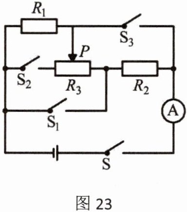
5. 如图23所示,电源电压U恒定$,R_1=10Ω。$闭合开关S,把开关$S_1、$$S_2、$$S_3$均断开,滑片P在最左端,电流表示数为$I,R_1$消耗的功率为$P_1;$此时,将滑片P滑动到最右端,电流表示数为I′;滑片移至最左端,再闭合$S_1、$$S_3,R_1$消耗的功率为$P_1′,R_2$消耗的功率为1.8W。已知I:I′=3:$5,P_1$:$P_1′=1$:25,下列选项正确的是$(

BD
)A.R_2=30Ω,U=9VB.$电路消耗的最小功率为0.72WC.电路消耗的最大功率为7.2WD.S、$S_2、$$S_3$闭合,滑片滑至中央,电流表示数为1.2A
答案:
BD
6. 某小组在跨学科实践活动中,对电热水器的类型进行了对比研究。调查发现,家庭常用电热水器分为储水式电热水器和快热式电热水器两类。如图24甲是某款储水式电热水器(有一个大容积的水箱,如果水箱中被加热的水没用完,这些热水会慢慢冷却),其铭牌上的部分信息如表1;如图24乙是某款快热式电热水器(没有水箱,快速加热流水),其铭牌上的部分信息如表2:表1额定升数50L产品尺寸(a*b*c)760×485×455mm额定功率2200W能效等级1级表2额定功率7000W额定压力0.6MPa产品尺寸(a*b*c)266×78×448mm(1)对照两种热水器的铭牌可知:快热式电热水器之所以“快”,是因为它的_____明显大一些。(2)该小组还得出了以下结论,你认为不合理的是( )A. 储水式电热水器安装在承重墙上更安全B. 长期使用过程中,储水式电热水器对水电的浪费较大C. 安装快热式电热水器要用更粗的电线D. 用电高峰时段,电热水器的实际功率大于额定功率(3)“碳达峰”“碳中和”对常用家电产品研发提出了更高要求。已知:每节约1度电相当于减少排放1.1kg的二氧化碳。若小利家将储水式电热水器更换为快热式电热水器后,发现一个月仅此一项用电比原来节省电能8kW•h,请计算由此相当于减排二氧化碳约_____kg。(4)若本题中这款快热式电热水器的加热效率是90%,洗澡时每秒的出水量是50mL,进入热水器的水温为12℃,则出水温度可达到_____℃。(ρ水$=1.0×10^3kg/m^3,c$水$=4.2×10^3J/(kg•℃))$



答案:
额定功率 D 8.8 42
查看更多完整答案,请扫码查看