第51页
- 第1页
- 第2页
- 第3页
- 第4页
- 第5页
- 第6页
- 第7页
- 第8页
- 第9页
- 第10页
- 第11页
- 第12页
- 第13页
- 第14页
- 第15页
- 第16页
- 第17页
- 第18页
- 第19页
- 第20页
- 第21页
- 第22页
- 第23页
- 第24页
- 第25页
- 第26页
- 第27页
- 第28页
- 第29页
- 第30页
- 第31页
- 第32页
- 第33页
- 第34页
- 第35页
- 第36页
- 第37页
- 第38页
- 第39页
- 第40页
- 第41页
- 第42页
- 第43页
- 第44页
- 第45页
- 第46页
- 第47页
- 第48页
- 第49页
- 第50页
- 第51页
- 第52页
- 第53页
- 第54页
- 第55页
- 第56页
- 第57页
- 第58页
- 第59页
- 第60页
- 第61页
- 第62页
- 第63页
- 第64页
- 第65页
- 第66页
- 第67页
- 第68页
- 第69页
- 第70页
- 第71页
- 第72页
- 第73页
- 第74页
- 第75页
- 第76页
- 第77页
- 第78页
- 第79页
- 第80页
- 第81页
- 第82页
- 第83页
- 第84页
- 第85页
- 第86页
- 第87页
- 第88页
- 第89页
- 第90页
- 第91页
- 第92页
- 第93页
- 第94页
- 第95页
- 第96页
- 第97页
- 第98页
6. 如图,AB//CD,∠A=120°,∠APC=40°,则∠PCD的度数是( )

A. 100°
B. 120°
C. 140°
D. 160°
A. 100°
B. 120°
C. 140°
D. 160°
答案:
D 解析:如图,过点P作PE//AB.
因为PE//AB,根据“两直线平行,内错角相等”,所以∠APE=∠A=120°.
所以∠CPE=∠APE+∠APC=120°+40°=160°.
因为AB//CD,PE//AB,根据“平行于同一条直线的两条直线平行”,所以CD//PE.
根据“两直线平行,内错角相等”,所以∠PCD=∠CPE=160°.
D 解析:如图,过点P作PE//AB.
因为PE//AB,根据“两直线平行,内错角相等”,所以∠APE=∠A=120°.
所以∠CPE=∠APE+∠APC=120°+40°=160°.
因为AB//CD,PE//AB,根据“平行于同一条直线的两条直线平行”,所以CD//PE.
根据“两直线平行,内错角相等”,所以∠PCD=∠CPE=160°.
7. 为增强学生体质,某学校将“抖空竹”引入阳光体育一小时活动。图①是某同学抖空竹时的一个瞬间,图②是其示意图。已知AB//CD,∠BAE=80°,∠DCE=110°,则∠AEC的度数是_______。
答案:
30° 解析:如图,过点E作EF//CD.
因为EF//CD,根据“两直线平行,内错角相等”,所以∠CEF=∠DCE=110°.
因为AB//CD,EF//CD,根据“平行于同一条直线的两条直线平行”,所以EF//AB.
所以∠AEF=∠BAE=80°.
所以∠AEC=∠CEF - ∠AEF=30°.
30° 解析:如图,过点E作EF//CD.
因为EF//CD,根据“两直线平行,内错角相等”,所以∠CEF=∠DCE=110°.
因为AB//CD,EF//CD,根据“平行于同一条直线的两条直线平行”,所以EF//AB.
所以∠AEF=∠BAE=80°.
所以∠AEC=∠CEF - ∠AEF=30°.
8. 如图,AB//CD,∠C=40°,∠A=60°,则∠F的度数是( )

A. 10°
B. 20°
C. 30°
D. 40°
A. 10°
B. 20°
C. 30°
D. 40°
答案:
B 解析:如图,过点F作FH//CD.
因为FH//CD,根据“两直线平行,内错角相等”,所以∠CFH=∠C=40°.
因为AB//CD,FH//CD,根据“平行于同一条直线的两条直线平行”,所以AB//FH.
根据“两直线平行,内错角相等”,所以∠AFH=∠A=60°.
所以∠CFA=∠AFH - ∠CFH=20°.
B 解析:如图,过点F作FH//CD.
因为FH//CD,根据“两直线平行,内错角相等”,所以∠CFH=∠C=40°.
因为AB//CD,FH//CD,根据“平行于同一条直线的两条直线平行”,所以AB//FH.
根据“两直线平行,内错角相等”,所以∠AFH=∠A=60°.
所以∠CFA=∠AFH - ∠CFH=20°.
9. 如图,直线l//m,∠1=67°,∠3=42°,则∠2的度数是______。
答案:
25° 解析:如图,过点A作AB//l.
因为AB//l,根据“两直线平行,内错角相等”,所以∠BAC=∠1=67°.
所以∠4=∠BAC - ∠3=67° - 42°=25°.
因为l//m,AB//l,根据“平行于同一条直线的两条直线平行”,所以AB//m.
根据“两直线平行,内错角相等”,所以∠2=∠4=25°.
25° 解析:如图,过点A作AB//l.
因为AB//l,根据“两直线平行,内错角相等”,所以∠BAC=∠1=67°.
所以∠4=∠BAC - ∠3=67° - 42°=25°.
因为l//m,AB//l,根据“平行于同一条直线的两条直线平行”,所以AB//m.
根据“两直线平行,内错角相等”,所以∠2=∠4=25°.
10. (1) 如图①,AB//CD,∠AEP=48°,∠PFC=122°,求∠EPF的度数;
(2) 如图②,在(1)的条件下,∠AEP与∠PFC的平分线交于点G,求∠EGF的度数。
(2) 如图②,在(1)的条件下,∠AEP与∠PFC的平分线交于点G,求∠EGF的度数。
答案:
解:
(1)如图,过点P作PM//AB.
因为PM//AB,根据“两直线平行,内错角相等”,所以∠MPE=∠AEP=48°.
因为AB//CD,PM//AB,根据“平行于同一条直线的两条直线平行”,所以PM//CD.
根据“两直线平行,内错角相等”,所以∠MPF=∠PFC=122°.
所以∠EPF=∠MPF - ∠MPE=74°.
(2)如图,过点G作GH//AB.
因为EG是∠AEP的平分线,FG是∠PFC的平分线,所以∠AEG=1/2∠AEP=1/2×48°=24°,∠GFC=1/2∠PFC=1/2×122°=61°.
因为GH//AB,根据“两直线平行,内错角相等”,所以∠HGE=∠AEG=24°.
因为AB//CD,GH//AB,根据“平行于同一条直线的两条直线平行”,所以GH//CD.
根据“两直线平行,内错角相等”,所以∠HGF=∠GFC=61°.
所以∠EGF=∠HGF - ∠HGE=61° - 24°=37°.
解:
(1)如图,过点P作PM//AB.
因为PM//AB,根据“两直线平行,内错角相等”,所以∠MPE=∠AEP=48°.
因为AB//CD,PM//AB,根据“平行于同一条直线的两条直线平行”,所以PM//CD.
根据“两直线平行,内错角相等”,所以∠MPF=∠PFC=122°.
所以∠EPF=∠MPF - ∠MPE=74°.
(2)如图,过点G作GH//AB.
因为EG是∠AEP的平分线,FG是∠PFC的平分线,所以∠AEG=1/2∠AEP=1/2×48°=24°,∠GFC=1/2∠PFC=1/2×122°=61°.
因为GH//AB,根据“两直线平行,内错角相等”,所以∠HGE=∠AEG=24°.
因为AB//CD,GH//AB,根据“平行于同一条直线的两条直线平行”,所以GH//CD.
根据“两直线平行,内错角相等”,所以∠HGF=∠GFC=61°.
所以∠EGF=∠HGF - ∠HGE=61° - 24°=37°.
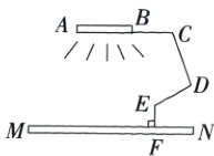
11. 如图是一款长臂折叠LED护眼灯的示意图,EF与底座MN垂直,当发光的灯管AB与底座MN平行时,∠BCD=110°,∠DEF=120°,则∠CDE的度数为(点A,B,C在同一条直线上)( )

A. 90°
B. 110°
C. 80°
D. 100°
A. 90°
B. 110°
C. 80°
D. 100°
答案:
D 解析:如图,过点D作DG//AB,过点E作EH//AB.
因为EF⊥MN,所以∠MFE=90°.
因为AB//MN,DG//AB,EH//AB,根据“平行于同一条直线的两条直线平行”,所以AB//DG//EH//MN.
根据“两直线平行,内错角相等”,所以∠HEF=∠MFE=90°.
所以∠DEH=∠DEF - ∠HEF=120° - 90°=30°.
因为AB//DG,根据“两直线平行,同旁内角互补”,所以∠BCD+∠CDG=180°.
所以∠CDG=180° - ∠BCD=180° - 110°=70°.
因为DG//EH,根据“两直线平行,内错角相等”,所以∠GDE=∠DEH=30°.
所以∠CDE=∠CDG+∠GDE=100°.
D 解析:如图,过点D作DG//AB,过点E作EH//AB.
因为EF⊥MN,所以∠MFE=90°.
因为AB//MN,DG//AB,EH//AB,根据“平行于同一条直线的两条直线平行”,所以AB//DG//EH//MN.
根据“两直线平行,内错角相等”,所以∠HEF=∠MFE=90°.
所以∠DEH=∠DEF - ∠HEF=120° - 90°=30°.
因为AB//DG,根据“两直线平行,同旁内角互补”,所以∠BCD+∠CDG=180°.
所以∠CDG=180° - ∠BCD=180° - 110°=70°.
因为DG//EH,根据“两直线平行,内错角相等”,所以∠GDE=∠DEH=30°.
所以∠CDE=∠CDG+∠GDE=100°.
查看更多完整答案,请扫码查看