2025年全优少年课时训练六年级数学下册北师大版
注:目前有些书本章节名称可能整理的还不是很完善,但都是按照顺序排列的,请同学们按照顺序仔细查找。练习册 2025年全优少年课时训练六年级数学下册北师大版 答案主要是用来给同学们做完题方便对答案用的,请勿直接抄袭。
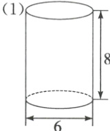
1. 填表。
|图形|底面半径|高|底面周长|表面积|体积|
| ---- | ---- | ---- | ---- | ---- | ---- |
|圆柱|6 cm|10 cm| | | |
|圆柱| |8 cm|12.56 cm| | |
|圆锥| |9 cm|18.84 cm|——| |
|圆锥|3 cm|6 cm| |——| |
|图形|底面半径|高|底面周长|表面积|体积|
| ---- | ---- | ---- | ---- | ---- | ---- |
|圆柱|6 cm|10 cm| | | |
|圆柱| |8 cm|12.56 cm| | |
|圆锥| |9 cm|18.84 cm|——| |
|圆锥|3 cm|6 cm| |——| |
答案:
37.68 cm 602.88 cm² 1130.4 cm³ 2 cm 125.6 cm² 100.48 cm³ 3 cm 84.78 cm³ 18.84 cm 56.52 cm³
2. 判一判。
(1)圆柱的侧面展开后一定是正方形。 ( )
(2)做一个无盖的圆柱形水桶,需要的铁皮的面积=侧面积+一个底面积。 ( )
(3)圆柱的体积求法与长方体一样,都是底面积乘高。 ( )
(1)圆柱的侧面展开后一定是正方形。 ( )
(2)做一个无盖的圆柱形水桶,需要的铁皮的面积=侧面积+一个底面积。 ( )
(3)圆柱的体积求法与长方体一样,都是底面积乘高。 ( )
答案:
(1)×
(2)√
(3)√
(1)×
(2)√
(3)√
3. 求下面图形的体积。(单位:分米)
答案:
226.08立方分米 37.68立方分米
4. 如右下图,一个圆锥形容器最多可装24升水。如果现在水面的高度是容器高度的一半,水面直径是容器口直径的一半,那么容器内有多少升水?
答案:
24÷8 = 3(升)[提示]由题图可知,大小两个圆锥高的比是2:1,底面半径的比是2:1,所以体积的比是(2²×2):(1²×1)=8:1。
5. 棱长8厘米的正方体钢制零件,中间挖去一个圆柱形的实心体(如图),圆柱的底面半径是2厘米,求这个零件的体积。
答案:
411.52立方厘米
查看更多完整答案,请扫码查看