第98页
- 第1页
- 第2页
- 第3页
- 第4页
- 第5页
- 第6页
- 第7页
- 第8页
- 第9页
- 第10页
- 第11页
- 第12页
- 第13页
- 第14页
- 第15页
- 第16页
- 第17页
- 第18页
- 第19页
- 第20页
- 第21页
- 第22页
- 第23页
- 第24页
- 第25页
- 第26页
- 第27页
- 第28页
- 第29页
- 第30页
- 第31页
- 第32页
- 第33页
- 第34页
- 第35页
- 第36页
- 第37页
- 第38页
- 第39页
- 第40页
- 第41页
- 第42页
- 第43页
- 第44页
- 第45页
- 第46页
- 第47页
- 第48页
- 第49页
- 第50页
- 第51页
- 第52页
- 第53页
- 第54页
- 第55页
- 第56页
- 第57页
- 第58页
- 第59页
- 第60页
- 第61页
- 第62页
- 第63页
- 第64页
- 第65页
- 第66页
- 第67页
- 第68页
- 第69页
- 第70页
- 第71页
- 第72页
- 第73页
- 第74页
- 第75页
- 第76页
- 第77页
- 第78页
- 第79页
- 第80页
- 第81页
- 第82页
- 第83页
- 第84页
- 第85页
- 第86页
- 第87页
- 第88页
- 第89页
- 第90页
- 第91页
- 第92页
- 第93页
- 第94页
- 第95页
- 第96页
- 第97页
- 第98页
- 第99页
- 第100页
- 第101页
- 第102页
- 第103页
- 第104页
- 第105页
- 第106页
- 第107页
- 第108页
- 第109页
- 第110页
- 第111页
- 第112页
- 第113页
- 第114页
- 第115页
- 第116页
- 第117页
- 第118页
- 第119页
- 第120页
- 第121页
- 第122页
- 第123页
- 第124页
- 第125页
- 第126页
- 第127页
- 第128页
- 第129页
- 第130页
- 第131页
- 第132页
1. 请根据手电筒实物图画出对应的电路图。

答案:
1.如图所示
1.如图所示
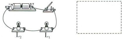
2. 根据所给的实物图,在方框中画出对应的电路图。

答案:
2.如图所示
2.如图所示
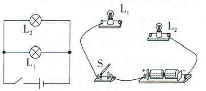
3. 根据如图所示的实物图,在虚线方框内画出对应的电路图。

答案:
3.如图所示
3.如图所示
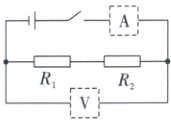
4. 如图所示的电路,请在虚线框里填上电表符号(选填“A”或“V”),使开关 S 闭合后,电阻 $ R_1 $、$ R_2 $ 都可正常工作。

答案:
4.如图所示
4.如图所示
5. “创新”实验小组的同学要设计一个自动防盗报警电路。要求:晚间开关 S 闭合后,灯亮电铃不响;当房门被打开时,细导线 AB 被扯断,灯亮且电铃发声自动报警。请按要求用直线连接如图所示的电路元件。

答案:
5.如图所示
5.如图所示
6. 如图,按电路图将图中的实物用笔画线代替导线连接起来,并标出电流方向(导线不能交叉)。

答案:
6.如图所示
6.如图所示
7. 根据如图所示的电路图连接实物图。

答案:
7.如图所示
7.如图所示
8. 如图甲所示的电路图,当开关闭合后,电流表 $ A_1 $ 的示数为 1.2 A,电流表 $ A_2 $ 的示数为 0.4 A,请在图乙的实物图上用笔画出连线。

答案:
8.如图所示
8.如图所示
9. 由父、母、小孩组成的三口之家,要用投票方式决定是否在暑假去北京旅游,如果小孩要去,且父母中至少有一位要去,则他们就去旅游。请用 3 个开关、1 个电池组和 1 只小灯泡及若干导线设计一架投票表决机,灯泡亮了(某人的开关闭合表示他要去),他们就可以在暑假去旅游了。在虚线框内画出电路图,并连接实物图。

答案:
查看更多完整答案,请扫码查看