第43页
- 第2页
- 第3页
- 第4页
- 第5页
- 第6页
- 第7页
- 第8页
- 第9页
- 第10页
- 第11页
- 第12页
- 第13页
- 第14页
- 第15页
- 第16页
- 第17页
- 第18页
- 第19页
- 第20页
- 第21页
- 第22页
- 第23页
- 第24页
- 第25页
- 第26页
- 第27页
- 第28页
- 第29页
- 第30页
- 第31页
- 第32页
- 第33页
- 第34页
- 第35页
- 第36页
- 第37页
- 第38页
- 第39页
- 第40页
- 第41页
- 第42页
- 第43页
- 第44页
- 第45页
- 第46页
- 第47页
- 第48页
- 第49页
- 第50页
- 第51页
- 第52页
- 第53页
- 第54页
- 第55页
- 第56页
- 第57页
- 第58页
- 第59页
- 第60页
- 第61页
- 第62页
- 第63页
- 第64页
- 第65页
- 第66页
- 第67页
- 第68页
- 第69页
- 第70页
- 第71页
- 第72页
- 第73页
- 第74页
- 第75页
- 第76页
7. 一人由远处靠近一块竖直悬挂着的平面镜,他在镜内所成像的大小将 (
A.大小不变
B.逐渐变小
C.逐渐变大
D.由平面镜的大小所决定
A
)A.大小不变
B.逐渐变小
C.逐渐变大
D.由平面镜的大小所决定
答案:
【解析】:
本题主要考查平面镜成像的特点,即像与物体的大小相等,像与物体到镜面的距离相等,像是虚像。这是解答此题的关键知识点。
接下来,我们根据题目描述,分析人由远处靠近一块竖直悬挂着的平面镜时,他在镜内所成像的大小变化。由于平面镜成像的特点是像与物体大小相等,因此,无论人距离平面镜多远,他在镜中的像的大小都是不变的。这是因为像的大小只取决于物体本身的大小,与物体到镜面的距离无关。
所以,我们可以得出结论,人在镜内所成像的大小将保持不变。
【答案】:
A.大小不变。
本题主要考查平面镜成像的特点,即像与物体的大小相等,像与物体到镜面的距离相等,像是虚像。这是解答此题的关键知识点。
接下来,我们根据题目描述,分析人由远处靠近一块竖直悬挂着的平面镜时,他在镜内所成像的大小变化。由于平面镜成像的特点是像与物体大小相等,因此,无论人距离平面镜多远,他在镜中的像的大小都是不变的。这是因为像的大小只取决于物体本身的大小,与物体到镜面的距离无关。
所以,我们可以得出结论,人在镜内所成像的大小将保持不变。
【答案】:
A.大小不变。
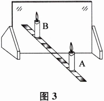
8. 如图3所示是探究“平面镜成像的特点”的情景:竖立的透明玻璃板下方放一把刻度尺,刻度尺与玻璃板垂直;两支相同的蜡烛A、B竖立于玻璃板两侧的刻度尺上,以蜡烛A为成像物体.
(1) 为了便于观察,该实验最好在____较黑暗____(选填“较明亮”或“较黑暗”)环境中进行;此外,采用透明____玻璃板____代替平面镜,虽然成像不如平面镜清晰,却能在观察到蜡烛A像的同时,还能观察到____蜡烛B____在镜后的移动情况,从而巧妙地解决了确定像的位置的难题.

(2) 点燃蜡烛A,缓慢地移动蜡烛B,当移至某个位置时,发现蜡烛B能与蜡烛A的像完全重合,这表明平面镜所成的像与物体的____大小相等____;进一步观察A、B两支蜡烛在刻度尺上的位置发现,像和物的连线与玻璃板____垂直____,像和物到玻璃板的距离____相等____.
(3) 为证实上述有关成像特点是否可靠,你认为应采取下列
A. 保持A、B两支蜡烛的位置不变,多次改变玻璃板的位置进行观察.
B. 保持玻璃板位置不变,多次改变A蜡烛的位置,进行与上述(2)相同的操作.
(1) 为了便于观察,该实验最好在____较黑暗____(选填“较明亮”或“较黑暗”)环境中进行;此外,采用透明____玻璃板____代替平面镜,虽然成像不如平面镜清晰,却能在观察到蜡烛A像的同时,还能观察到____蜡烛B____在镜后的移动情况,从而巧妙地解决了确定像的位置的难题.
(2) 点燃蜡烛A,缓慢地移动蜡烛B,当移至某个位置时,发现蜡烛B能与蜡烛A的像完全重合,这表明平面镜所成的像与物体的____大小相等____;进一步观察A、B两支蜡烛在刻度尺上的位置发现,像和物的连线与玻璃板____垂直____,像和物到玻璃板的距离____相等____.
(3) 为证实上述有关成像特点是否可靠,你认为应采取下列
B
项操作.A. 保持A、B两支蜡烛的位置不变,多次改变玻璃板的位置进行观察.
B. 保持玻璃板位置不变,多次改变A蜡烛的位置,进行与上述(2)相同的操作.
答案:
【解析】:
本题主要考查平面镜成像的特点实验。
(1)在较暗的环境中,蜡烛的像会更清晰,因为暗环境减少了其他光线的干扰。使用透明玻璃板代替平面镜,虽然成像不如平面镜清晰,但可以观察到蜡烛A的像以及蜡烛B在玻璃板后的移动情况,从而确定像的位置。
(2)当蜡烛B与蜡烛A的像完全重合时,说明平面镜所成的像与物体的大小相等。观察发现,像和物的连线与玻璃板垂直,且像和物到玻璃板的距离相等。
(3)为了证实成像特点的可靠性,应该保持玻璃板位置不变,改变蜡烛A的位置,进行多次实验,以排除偶然性,得到普遍规律。
【答案】:
(1)较黑暗;玻璃板;蜡烛B。(2)大小相等;垂直;相等。(3)B。
本题主要考查平面镜成像的特点实验。
(1)在较暗的环境中,蜡烛的像会更清晰,因为暗环境减少了其他光线的干扰。使用透明玻璃板代替平面镜,虽然成像不如平面镜清晰,但可以观察到蜡烛A的像以及蜡烛B在玻璃板后的移动情况,从而确定像的位置。
(2)当蜡烛B与蜡烛A的像完全重合时,说明平面镜所成的像与物体的大小相等。观察发现,像和物的连线与玻璃板垂直,且像和物到玻璃板的距离相等。
(3)为了证实成像特点的可靠性,应该保持玻璃板位置不变,改变蜡烛A的位置,进行多次实验,以排除偶然性,得到普遍规律。
【答案】:
(1)较黑暗;玻璃板;蜡烛B。(2)大小相等;垂直;相等。(3)B。
1. 如图4所示,水平桌面上斜放着一个平面镜,桌面上有一个小球以速度v匀速向前滚动,要使平面镜中小球的像沿竖直方向下落,则镜面与桌面间的夹角α的大小及像的下落速度分别为 (
A.$ 30^{\circ},v $

B.$ 30^{\circ},2v $
C.$ 45^{\circ},v $
D.$ 45^{\circ},2v $
C
)A.$ 30^{\circ},v $
B.$ 30^{\circ},2v $
C.$ 45^{\circ},v $
D.$ 45^{\circ},2v $
答案:
解:设小球在时间t内水平向右滚动的距离为s=vt。根据平面镜成像特点,像与物关于镜面对称,像的运动方向与物的运动方向相对于镜面也对称。要使像沿竖直向下运动,则物的水平运动方向与像的竖直运动方向应关于镜面对称,即镜面是水平方向与竖直方向夹角的角平分线,所以镜面与桌面间的夹角α=45°。此时像的下落距离与小球滚动距离相等,像的下落速度v'=s/t=vt/t=v。
C
C
2. 如图5所示,两个相互垂直的平面镜,在其中任一位置放置光源S,那么光源S在镜中所成的像共有 (
A.1个
B.2个
C.3个
D.4个
C
)A.1个
B.2个
C.3个
D.4个
答案:
【解析】:
本题主要考查平面镜成像的特点,即物体在平面镜中成像,像与物体关于镜面对称。当有两个相互垂直的平面镜时,我们需要考虑光源在这两个平面镜中的多次反射成像。
首先,光源S在第一个平面镜中会形成一个像,记为$S_1$。然后,这个像$S_1$又会在第二个平面镜中形成一个像,记为$S_{12}$。同时,光源S也会直接在第二个平面镜中形成一个像,记为$S_2$。接着,像$S_2$又会在第一个平面镜中形成一个像,记为$S_{21}$。但是,我们需要注意到,由于两个平面镜是相互垂直的,根据镜像的性质,像$S_{12}$和像$S_{21}$实际上是重合的,也就是说,它们是同一个像。
因此,光源S在两个相互垂直的平面镜中所成的像共有3个独特的像:一个是直接在第一个平面镜中形成的$S_1$,一个是直接在第二个平面镜中形成的$S_2$,还有一个是两次反射后形成的$S_{12}$(或$S_{21}$)。但考虑到题目的选项和实际情况,我们需要理解到这两个相互垂直的平面镜组合实际上可以产生3个独立的像位置(尽管其中一个位置可能由两个像共享),或者从另一个角度理解,即光源S关于两个相互垂直的平面镜的对称点有3个(其中一个对称点由两次反射得到)。
但更简洁且符合题目选项的理解是:考虑光源S在每个平面镜中的直接成像,以及通过另一个平面镜的间接成像(即二次反射成像),由于两个平面镜垂直,二次反射成像会形成一个新的独立像,因此总共有3个像。
【答案】:
C.3个。
本题主要考查平面镜成像的特点,即物体在平面镜中成像,像与物体关于镜面对称。当有两个相互垂直的平面镜时,我们需要考虑光源在这两个平面镜中的多次反射成像。
首先,光源S在第一个平面镜中会形成一个像,记为$S_1$。然后,这个像$S_1$又会在第二个平面镜中形成一个像,记为$S_{12}$。同时,光源S也会直接在第二个平面镜中形成一个像,记为$S_2$。接着,像$S_2$又会在第一个平面镜中形成一个像,记为$S_{21}$。但是,我们需要注意到,由于两个平面镜是相互垂直的,根据镜像的性质,像$S_{12}$和像$S_{21}$实际上是重合的,也就是说,它们是同一个像。
因此,光源S在两个相互垂直的平面镜中所成的像共有3个独特的像:一个是直接在第一个平面镜中形成的$S_1$,一个是直接在第二个平面镜中形成的$S_2$,还有一个是两次反射后形成的$S_{12}$(或$S_{21}$)。但考虑到题目的选项和实际情况,我们需要理解到这两个相互垂直的平面镜组合实际上可以产生3个独立的像位置(尽管其中一个位置可能由两个像共享),或者从另一个角度理解,即光源S关于两个相互垂直的平面镜的对称点有3个(其中一个对称点由两次反射得到)。
但更简洁且符合题目选项的理解是:考虑光源S在每个平面镜中的直接成像,以及通过另一个平面镜的间接成像(即二次反射成像),由于两个平面镜垂直,二次反射成像会形成一个新的独立像,因此总共有3个像。
【答案】:
C.3个。
查看更多完整答案,请扫码查看