第12页
- 第1页
- 第2页
- 第3页
- 第4页
- 第5页
- 第6页
- 第7页
- 第8页
- 第9页
- 第10页
- 第11页
- 第12页
- 第13页
- 第14页
- 第15页
- 第16页
- 第17页
- 第18页
- 第19页
- 第20页
- 第21页
- 第22页
- 第23页
- 第24页
- 第25页
- 第26页
- 第27页
- 第28页
- 第29页
- 第30页
- 第31页
- 第32页
- 第33页
- 第34页
- 第35页
- 第36页
- 第37页
- 第38页
- 第39页
- 第40页
- 第41页
- 第42页
- 第43页
- 第44页
- 第45页
- 第46页
- 第47页
- 第48页
- 第49页
- 第50页
- 第51页
- 第52页
- 第53页
- 第54页
- 第55页
- 第56页
- 第57页
- 第58页
- 第59页
- 第60页
- 第61页
- 第62页
- 第63页
- 第64页
- 第65页
- 第66页
- 第67页
- 第68页
- 第69页
- 第70页
- 第71页
- 第72页
- 第73页
- 第74页
18. (2023·江苏扬州中考)请补全下面的知识结构图。

(1)
(1)
转移
;(2)做功
;(3)弹性势能
。
答案:
18.
(1)转移
(2)做功
(3)弹性势能
(1)转移
(2)做功
(3)弹性势能
19. (2025·天津模拟)汽车发动机工作时,会产生大量的热量。如右图所示,人们用水冷却发动机,是利用水的

比热容
较大的特性。水吸收发动机工作产生的热量后,水的内能会增加
(选填“增加”“减少”或“不变”)。
答案:
19.比热容 增加
20. (2024·黑龙江哈尔滨中考)完全燃烧 $0.1 m^{3}$ 的天然气放出的热量是
3×10⁶
J;若这些热量的 20%被 4 kg 的液体吸收,使该液体温度升高 $50^{\circ}C$,则该液体的比热容是3×10³
$J/(kg·^{\circ}C)$。($q_{天然气}=3.0×10^{7} J/m^{3}$)
答案:
20.3×10⁶ 3×10³
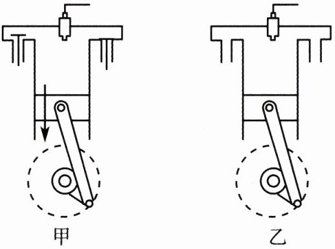
21. 如下图所示,甲为四冲程汽油机的吸气冲程示意图,请在乙图中用“T”表示阀门,画出做功冲程进气门、排气门的开闭情况,用“↓”或“↑”表示活塞运动方向。

答案:
21.
21.
22. (8 分)某同学学习了燃料的热值后,自己设计了一个实验来探究煤油和菜籽油的热值大小关系。他在实验时组装了下图所示的两套规格完全相同的装置,并每隔 1 min 记录了杯中水的温度(见下表)。


(1)在安装、调整实验器材(图甲中)时,科学合理的顺序是:先调整固定
(2)为保证实验结论的可靠性,实验时应控制两套装置中相同的量有加热时间和水的
(3)通过表中记录的数据,你认为煤油和菜籽油两种燃料中热值较大的是
(4)该同学实验前用天平测出了烧杯中水的质量及两油灯中燃料的质量并记录了数据,利用公式 $Q_{吸}=cm(t - t_{0})$ 计算出了水吸收的热量。他认为通过这些数据能准确地计算出煤油和菜籽油的热值。你认为他的计算结果可靠吗?______,为什么?_。
(1)在安装、调整实验器材(图甲中)时,科学合理的顺序是:先调整固定
B
的位置,再调整固定A
的位置。(均选填“A”或“B”)(2)为保证实验结论的可靠性,实验时应控制两套装置中相同的量有加热时间和水的
质量
、初温
。(3)通过表中记录的数据,你认为煤油和菜籽油两种燃料中热值较大的是
煤油
。(4)该同学实验前用天平测出了烧杯中水的质量及两油灯中燃料的质量并记录了数据,利用公式 $Q_{吸}=cm(t - t_{0})$ 计算出了水吸收的热量。他认为通过这些数据能准确地计算出煤油和菜籽油的热值。你认为他的计算结果可靠吗?______,为什么?_。
答案:
22.
(1)B A
(2)质量 初温
(3)煤油
(4)不可靠 燃料并没有完全燃烧,且燃烧后产生的热量并没有全部传递给水,有热量损失
(1)B A
(2)质量 初温
(3)煤油
(4)不可靠 燃料并没有完全燃烧,且燃烧后产生的热量并没有全部传递给水,有热量损失
查看更多完整答案,请扫码查看