第45页
- 第1页
- 第2页
- 第3页
- 第4页
- 第5页
- 第6页
- 第7页
- 第8页
- 第9页
- 第10页
- 第11页
- 第12页
- 第13页
- 第14页
- 第15页
- 第16页
- 第17页
- 第18页
- 第19页
- 第20页
- 第21页
- 第22页
- 第23页
- 第24页
- 第25页
- 第26页
- 第27页
- 第28页
- 第29页
- 第30页
- 第31页
- 第32页
- 第33页
- 第34页
- 第35页
- 第36页
- 第37页
- 第38页
- 第39页
- 第40页
- 第41页
- 第42页
- 第43页
- 第44页
- 第45页
- 第46页
- 第47页
- 第48页
- 第49页
- 第50页
- 第51页
- 第52页
- 第53页
- 第54页
- 第55页
- 第56页
- 第57页
- 第58页
- 第59页
- 第60页
- 第61页
- 第62页
- 第63页
- 第64页
- 第65页
- 第66页
(1)定义:电磁继电器是利用____________来控制工作电路的一种________。
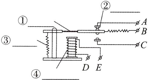
(2)构造:请填写电磁继电器各部分的名称。
(3)应用:可以利用______电压、______电流电路的通断,来间接控制______电压、______电流电路的通断。
(4)工作原理:__________________。
(2)构造:请填写电磁继电器各部分的名称。
(3)应用:可以利用______电压、______电流电路的通断,来间接控制______电压、______电流电路的通断。
(4)工作原理:__________________。
答案:
(1)电磁铁 开关
(2)①衔铁 ②触点 ③弹簧 ④电磁铁
(3)低 弱 高 强
(4)电流的磁效应
(1)电磁铁 开关
(2)①衔铁 ②触点 ③弹簧 ④电磁铁
(3)低 弱 高 强
(4)电流的磁效应
1. 电磁继电器的作用相当于工作电路的( )
A. 电源
B. 用电器
C. 开关
D. 导线
A. 电源
B. 用电器
C. 开关
D. 导线
答案:
C
2. 如图是电磁继电器的工作原理图:
(1)当低压控制电路闭合时,电磁铁A____(选填“具有”或“失去”)磁性,吸引衔铁B,从而使动触点D与静触点E吸合,高压工作电路________(选填“闭合”或“断开”)。
(2)当低压控制电路断开时,电磁铁A____(选填“具有”或“失去”)磁性,衔铁B在左侧弹簧C的作用下返回原位,动触点D与静触点E分离,高压工作电路________(选填“闭合”或“断开”)。
(1)当低压控制电路闭合时,电磁铁A____(选填“具有”或“失去”)磁性,吸引衔铁B,从而使动触点D与静触点E吸合,高压工作电路________(选填“闭合”或“断开”)。
(2)当低压控制电路断开时,电磁铁A____(选填“具有”或“失去”)磁性,衔铁B在左侧弹簧C的作用下返回原位,动触点D与静触点E分离,高压工作电路________(选填“闭合”或“断开”)。
答案:
(1)具有 闭合
(2)失去 断开
(1)具有 闭合
(2)失去 断开
3.(济宁市中考)如图是一种温度自动报警器的原理图,在水银温度计中封入一段金属丝,金属丝下端所指示的温度为90℃,下列说法错误的是 ( )

A. 报警器利用了水银导电和热胀冷缩的性质
B. 报警器利用了电磁铁通电时有磁性,断电时磁性消失的特点
C. 报警器中,水银温度计和电磁铁串联在电路中
D. 温度达到90℃时,报警器中的灯亮同时铃响
A. 报警器利用了水银导电和热胀冷缩的性质
B. 报警器利用了电磁铁通电时有磁性,断电时磁性消失的特点
C. 报警器中,水银温度计和电磁铁串联在电路中
D. 温度达到90℃时,报警器中的灯亮同时铃响
答案:
D
4.(湘潭市中考)如图所示是某同学设计的水位自动报警装置,当水位上升到与金属A接触时,控制电路接通,此时,工作电路中的________(选填“灯亮”或“铃响”),通电螺线管上方为______(选填“N”或“S”)极。

答案:
铃响 N
5.(自贡市中考)如图甲所示的“聪明电梯”在有、无人乘坐时会以不同的速度运行,这样可以节约用电。图乙所示是其控制电路图,R是一个压敏电阻,其阻值随压力的增大而减小。当所有人走出电梯后,则图中电磁铁的磁性将__________(选填“增强”“减弱”或“不变”),电动机的转速将__________(选填“变快”“变慢”或“不变”)。

答案:
减弱 变慢
查看更多完整答案,请扫码查看