24. (2分)根据实物连接图在方框内画出相应电路图。

答案:
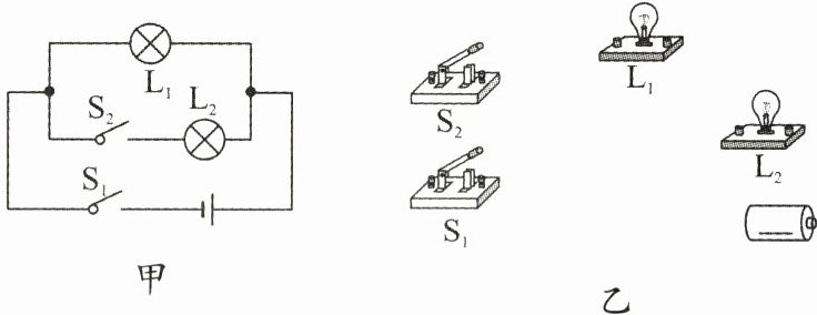
25. (3分)请你根据如图甲所示的电路图,帮助小雨同学连接图乙中的实物电路。

甲:
乙:
甲:
乙:
答案:
26. (3分)“阳光动力2号”飞机上装有平衡警示电路,其中S为正对驾驶员的重力开关,金属片M可绕O点自由转动。当机翼水平时,M在a、b中间。当飞机严重左倾时,绿灯亮、电铃响。当飞机严重右倾时,红灯亮、电铃响。请完成电路连接。

答案:
27. (10分)把两个标有“3.8 V”字样的小灯泡串联起来,接在如图所示的电路中。闭合开关,两个小灯泡都发光。

(1)若把一根导线接在小灯泡L₂的两端,你所看到小灯泡的变化情况是:
①L₁
②说明在串联电路中,一个用电器因短路而停止工作,其他用电器
(2)若把L₁的灯泡拧下来,则看到的现象是L₂
(1)若把一根导线接在小灯泡L₂的两端,你所看到小灯泡的变化情况是:
①L₁
亮
,L₂不亮
;(均选填“亮”或“不亮”)②说明在串联电路中,一个用电器因短路而停止工作,其他用电器
仍能
(选填“不能”或“仍能”)工作。(2)若把L₁的灯泡拧下来,则看到的现象是L₂
不亮
(选填“亮”或“不亮”),说明在串联电路中,各个用电器之间相互
(选填“互不”或“相互”)影响。
答案:
(1)①亮 不亮 ②仍能
(2)不亮 相互
(1)①亮 不亮 ②仍能
(2)不亮 相互
28. (10分)某同学在进行电学实验操作时,连接了如图所示电路。请你分析:

(1)闭合开关后,电灯L₁
(2)要使两灯都亮的方法有两种。方法一是去掉导线
(3)若拧下其中一个小灯泡,发现另外一个还能发光,说明这两个灯泡原来是
(1)闭合开关后,电灯L₁
不亮
,电灯L₂不亮
。(均选填“亮”或“不亮”)(2)要使两灯都亮的方法有两种。方法一是去掉导线
a
后,电路是串联电路;方法二是改变a、b、c三根导线中一根的接法,使电路成为并联电路(请在原导线上打“×”后,再更改接法)。(3)若拧下其中一个小灯泡,发现另外一个还能发光,说明这两个灯泡原来是
并
联的。
答案:
(1)不亮 不亮
(2)a
(3)并
(1)不亮 不亮
(2)a
(3)并
查看更多完整答案,请扫码查看