第17页
- 第1页
- 第2页
- 第3页
- 第4页
- 第5页
- 第6页
- 第7页
- 第8页
- 第9页
- 第10页
- 第11页
- 第12页
- 第13页
- 第14页
- 第15页
- 第16页
- 第17页
- 第18页
- 第19页
- 第20页
- 第21页
- 第22页
- 第23页
- 第24页
- 第25页
- 第26页
- 第27页
- 第28页
- 第29页
- 第30页
- 第31页
- 第32页
- 第33页
- 第34页
- 第35页
- 第36页
- 第37页
- 第38页
- 第39页
- 第40页
- 第41页
- 第42页
- 第43页
- 第44页
- 第45页
- 第46页
- 第47页
- 第48页
- 第49页
- 第50页
- 第51页
- 第52页
- 第53页
- 第54页
- 第55页
- 第56页
- 第57页
- 第58页
- 第59页
- 第60页
- 第61页
- 第62页
- 第63页
- 第64页
- 第65页
- 第66页
- 第67页
- 第68页
- 第69页
- 第70页
- 第71页
- 第72页
- 第73页
- 第74页
- 第75页
- 第76页
- 第77页
- 第78页
- 第79页
- 第80页
- 第81页
- 第82页
- 第83页
- 第84页
- 第85页
- 第86页
- 第87页
- 第88页
- 第89页
- 第90页
- 第91页
- 第92页
- 第93页
- 第94页
- 第95页
- 第96页
- 第97页
- 第98页
- 第99页
- 第100页
- 第101页
- 第102页
- 第103页
- 第104页
- 第105页
- 第106页
- 第107页
- 第108页
- 第109页
- 第110页
- 第111页
- 第112页
9. 用频闪灯拍摄小球的运动轨迹,每隔相等时间曝光一次,所得到的照片如图所示,其中小球受平衡力作用的是 ( )
答案:
B
10.(新趋势 真实情境)如图所示,徒手攀岩者稳如壁虎又矫似雄鹰,用手的抓力“抵抗”了重力并实现了身体的平衡。若攀岩者此时静止不动,下列分析正确的是 ( )

A. 攀岩者对岩石的作用力与岩石对他的作用力完全相同
B. 攀岩者受到的重力与他对岩石的作用力是相互作用力
C. 攀岩者受到的重力与他对岩石的作用力是一对平衡力
D. 攀岩者受到的重力与岩石对他的作用力是一对平衡力
A. 攀岩者对岩石的作用力与岩石对他的作用力完全相同
B. 攀岩者受到的重力与他对岩石的作用力是相互作用力
C. 攀岩者受到的重力与他对岩石的作用力是一对平衡力
D. 攀岩者受到的重力与岩石对他的作用力是一对平衡力
答案:
D
11.(立德树人 传统文化)中国古代科技著作《天工开物》中有关于“赶稻及菽”的描述,如图所示,“赶稻及菽”时牛拉石碾匀速转动过程中,石碾受______________(填“平衡力”或“非平衡力”)的作用。
答案:
非平衡力
12. 如图所示,不计空气阻力,重力为0.2N的气球保持与水平面成45°角的方向做匀速直线运动,此状态下气球还受到一个力。根据二力平衡的原理,你认为此力的大小应为________N,此力的方向是______________。
答案:
0.2;竖直向上
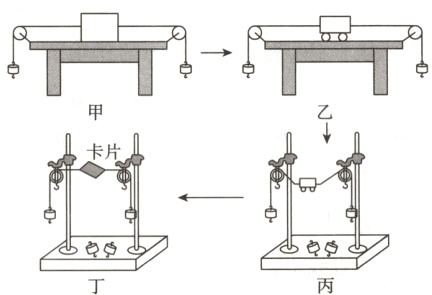
13.(新考法 方案设计)在“探究二力平衡条件”的活动中,小明和小华不断改进并先后设计了四个实验方案,如图所示。
(1)从甲方案到乙方案的改进是为了减小____对实验的影响;从丙方案到丁方案的改进是为了忽略__________对实验的影响。
(2)两位同学采用图丁实验装置,将系于卡片对角线的两条细绳分别跨过左右支架上的滑轮,并通过调整____________来改变拉力的大小完成验证。
(3)继续进行实验,当卡片平衡时,小明将卡片在竖直平面内旋转一个角度,松手后卡片不能保持平衡,由此实验步骤可知只有作用在__________的两个力才能平衡。
(4)为了验证只有作用在同一物体上的两个力才能平衡,在图丁所示情况下,小明下一步操作是______。
A. 左右各加一个钩码 B. 把卡片剪成两半
C. 把卡片扭转一个角度
(1)从甲方案到乙方案的改进是为了减小____对实验的影响;从丙方案到丁方案的改进是为了忽略__________对实验的影响。
(2)两位同学采用图丁实验装置,将系于卡片对角线的两条细绳分别跨过左右支架上的滑轮,并通过调整____________来改变拉力的大小完成验证。
(3)继续进行实验,当卡片平衡时,小明将卡片在竖直平面内旋转一个角度,松手后卡片不能保持平衡,由此实验步骤可知只有作用在__________的两个力才能平衡。
(4)为了验证只有作用在同一物体上的两个力才能平衡,在图丁所示情况下,小明下一步操作是______。
A. 左右各加一个钩码 B. 把卡片剪成两半
C. 把卡片扭转一个角度
答案:
(1)阻力;重力
(2)钩码的数量
(3)同一直线上
(4)B
(1)阻力;重力
(2)钩码的数量
(3)同一直线上
(4)B
14.(科学思维 科学推理)“无人机”送快递是低空经济的一种重要形式。无人机起飞时,吹向下方的风量增加,使无人机上升的力的施力物体是________;若无人机下方用一根绳子悬挂快递,不考虑空气阻力,则在无人机斜向右上方匀速直线飞行过程中,悬挂快递的绳子________(填“会”或“不会”)偏离竖直方向。
答案:
空气;不会 点拨:无人机上升时向下吹风,无人机对空气的力向下,由于力的作用是相互的,则无人机受到向上的空气的作用力,所以使无人机上升的力的施力物体是空气。无人机斜向右上方做匀速直线运动时,下方的快递和无人机相对静止,则下方的快递同样做匀速直线运动,故快递处于平衡状态,受平衡力的作用,快递受重力和绳子的拉力,由二力平衡条件可知,绳子的拉力和重力大小相等、方向相反、作用在同一直线上,因重力的方向为竖直向下,可知绳子不会偏离竖直方向。
查看更多完整答案,请扫码查看