第103页
- 第1页
- 第2页
- 第3页
- 第4页
- 第5页
- 第6页
- 第7页
- 第8页
- 第9页
- 第10页
- 第11页
- 第12页
- 第13页
- 第14页
- 第15页
- 第16页
- 第17页
- 第18页
- 第19页
- 第20页
- 第21页
- 第22页
- 第23页
- 第24页
- 第25页
- 第26页
- 第27页
- 第28页
- 第29页
- 第30页
- 第31页
- 第32页
- 第33页
- 第34页
- 第35页
- 第36页
- 第37页
- 第38页
- 第39页
- 第40页
- 第41页
- 第42页
- 第43页
- 第44页
- 第45页
- 第46页
- 第47页
- 第48页
- 第49页
- 第50页
- 第51页
- 第52页
- 第53页
- 第54页
- 第55页
- 第56页
- 第57页
- 第58页
- 第59页
- 第60页
- 第61页
- 第62页
- 第63页
- 第64页
- 第65页
- 第66页
- 第67页
- 第68页
- 第69页
- 第70页
- 第71页
- 第72页
- 第73页
- 第74页
- 第75页
- 第76页
- 第77页
- 第78页
- 第79页
- 第80页
- 第81页
- 第82页
- 第83页
- 第84页
- 第85页
- 第86页
- 第87页
- 第88页
- 第89页
- 第90页
- 第91页
- 第92页
- 第93页
- 第94页
- 第95页
- 第96页
- 第97页
- 第98页
- 第99页
- 第100页
- 第101页
- 第102页
- 第103页
- 第104页
- 第105页
- 第106页
- 第107页
- 第108页
- 第109页
- 第110页
- 第111页
- 第112页
1.(1)等臂杠杆是动力臂和阻力臂________的杠杆。
(2)省力杠杆的动力臂________阻力臂,这类杠杆虽然省力,但费________。
(3)费力杠杆的动力臂________阻力臂,这类杠杆虽然费力,但省________。
(2)省力杠杆的动力臂________阻力臂,这类杠杆虽然省力,但费________。
(3)费力杠杆的动力臂________阻力臂,这类杠杆虽然费力,但省________。
答案:
(1)相等 (2)大于;距离 (3)小于;距离
2. [2024·甘肃] 用如图所示的扳手拧螺丝时,一只手稳住扳手的十字交叉部位,另一只手用同样大小和方向的力在________(填“A”“B”或“C”)点更容易拧动螺丝,原因是________。
答案:
C;作用在C点时,动力臂最大
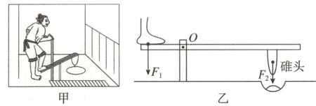
3. 立德树人 传统文化 我国古代记录传统手工技术的著作《天工开物》里记载了一种捣谷用的舂,“横木穿插头,硬嘴为铁,足踏其末而舂之”,如图甲所示。图乙为脚用力向下踩时,在某一位置的示意图,O点为支点,F₂为阻力(即碓头重力大小),不计横木的重力和摩擦,此时舂属于________(填“省力”“等臂”或“费力”)杠杆,为了省力些,可将脚踩点适当________(填“远离”或“靠近”)O点。
答案:
费力;远离
4. [2024·广东] 如图为某款剪刀的示意图。握住手柄修剪树枝时,剪刀可视为杠杆。该杠杆的特点是( )
A. 省力
B. 费力
C. 省功
D. 省距离
A. 省力
B. 费力
C. 省功
D. 省距离
答案:
A
5. 裁纸刀工作时是一个杠杆。如图所示,小刘用一把裁纸刀将纸卷切断,手对杠杆的力是动力,纸卷对杠杆的力是阻力。当他把纸卷向左侧(向里)移动时,下列说法正确的是( )
A. 动力臂不变,会更费力
B. 动力臂变长,会更省力
C. 阻力臂变短,会更省力
D. 阻力臂变长,会更省力
A. 动力臂不变,会更费力
B. 动力臂变长,会更省力
C. 阻力臂变短,会更省力
D. 阻力臂变长,会更省力
答案:
C
6. [2024·宜宾] 如图是宜宾港一起重机正在吊起货物的情景,请在图中画出此时动力F₁的力臂l₁和阻力F₂的示意图。
答案:
解:如图所示。
解:如图所示。
7. [2024·天津河西区模拟] 如图甲所示是《天工开物》中记载的三千多年前在井上汲水的装置——桔槔。图乙是它水平静止时的示意图,若杠杆的支点O距左端l₁ = 0.5 m,距右端l₂ = 0.2 m。杠杆左端悬挂配重物体A的重力为40 N,右端挂一水桶B,若不计杆重,求水桶B的重力。
答案:
解:设杠杆右端的拉力为$F_{B}$,根据杠杆平衡条件可得:$G_{A}×l_{1}=F_{B}×l_{2}$,即$40N×0.5m=F_{B}×0.2m$,解得:$F_{B}=100N$,故水桶B的重力为100N。
查看更多完整答案,请扫码查看