13. 某种电脑键盘清洁器有两个开关,开关$S_1$只控制照明用的小灯泡L,开关$S_2$只控制吸尘用的电动机M。请你设计出符合上述要求的电路图。
答案:
如答图所示。
如答图所示。
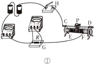
14. 某同学连接了如图13所示的电路(其中滑动变阻器的连线没有画出),用来探究流过导体的电流跟导体两端电压的关系。

(1) 闭合开关进行实验时发现,无论怎样移动滑片P,电压表和电流表的示数都不为零,但始终没有变化,则该同学把滑动变阻器接入电路中的方式可能是______(填写代号)。
A. G与C相连,F与H相连
B. G与C相连,D与H相连
C. G与E相连,F与H相连
D. G与E相连,D与H相连
(2) 该同学发现了(1)中的问题并作了改正。请用笔画线代替导线把滑动变阻器正确接入电路中,要求:滑片P向右移动时电流表示数逐渐增大。
(3) 实验测得的数据如下表所示。根据这些数据在图14所示坐标图中描点并作出U - I图线。
| U/V | I/A |
| :---: | :---: |
| 0.5 | 0.1 |
| 1.0 | 0.2 |
| 2.0 | 0.4 |
| 2.5 | 0.5 |


(1) 闭合开关进行实验时发现,无论怎样移动滑片P,电压表和电流表的示数都不为零,但始终没有变化,则该同学把滑动变阻器接入电路中的方式可能是______(填写代号)。
A. G与C相连,F与H相连
B. G与C相连,D与H相连
C. G与E相连,F与H相连
D. G与E相连,D与H相连
(2) 该同学发现了(1)中的问题并作了改正。请用笔画线代替导线把滑动变阻器正确接入电路中,要求:滑片P向右移动时电流表示数逐渐增大。
(3) 实验测得的数据如下表所示。根据这些数据在图14所示坐标图中描点并作出U - I图线。
| U/V | I/A |
| :---: | :---: |
| 0.5 | 0.1 |
| 1.0 | 0.2 |
| 2.0 | 0.4 |
| 2.5 | 0.5 |
答案:
(1)BC
(2)如答图①所示。
(3)如答图②所示。
点拨:
(1)将滑动变阻器连入电路时,闭合开关,无论怎样调节滑动变阻器的滑片,电压表和电流表的示数都不为零,但始终没有变化,有两种可能:①同时连接滑动变阻器上面的两个接线柱;②同时连接滑动变阻器下面的两个接线柱。即B、C两种情况。
(2)滑动变阻器串联在电路中,要想使滑动变阻器的滑片P向右移动时,电路中的电流变大,则滑动变阻器连入电路的电阻变小,即滑片靠近下面已接线的接线柱,所以F必须接入电路,上面的两个接线柱任选一个即可,电路图的连接如答图①所示。
(3)运用描点法即可画出图线,如答图②所示。
(1)BC
(2)如答图①所示。
(3)如答图②所示。
点拨:
(1)将滑动变阻器连入电路时,闭合开关,无论怎样调节滑动变阻器的滑片,电压表和电流表的示数都不为零,但始终没有变化,有两种可能:①同时连接滑动变阻器上面的两个接线柱;②同时连接滑动变阻器下面的两个接线柱。即B、C两种情况。
(2)滑动变阻器串联在电路中,要想使滑动变阻器的滑片P向右移动时,电路中的电流变大,则滑动变阻器连入电路的电阻变小,即滑片靠近下面已接线的接线柱,所以F必须接入电路,上面的两个接线柱任选一个即可,电路图的连接如答图①所示。
(3)运用描点法即可画出图线,如答图②所示。
查看更多完整答案,请扫码查看